TOP
|
特許
|
意匠
|
商標
特許ウォッチ
Twitter
他の特許を見る
10個以上の画像は省略されています。
公開番号
2025030035
公報種別
公開特許公報(A)
公開日
2025-03-07
出願番号
2023134988
出願日
2023-08-22
発明の名称
鉄道車両の引戸構造
出願人
近畿車輌株式会社
代理人
弁理士法人ATEN
主分類
B61D
19/00 20060101AFI20250228BHJP(鉄道)
要約
【課題】引戸の把持部に手を触れずに、引戸を開閉できる構造を提供する。
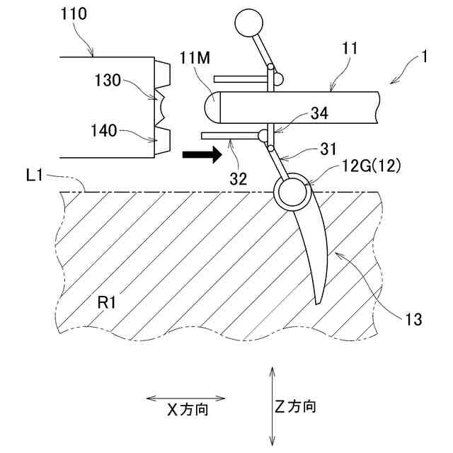
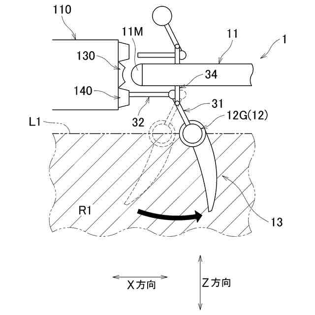
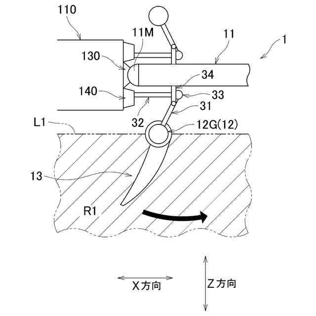
【解決手段】鉄道車両の引戸構造100は、引戸1を備える。引戸1は、引戸本体11と、取手12と、第1突出体13と、第2突出体14とを有する。取手12は、把持部12Gを有する。第1突出体13および第2突出体14は、取手12に接続されている。第1突出体13および第2突出体14は、把持部12Gから、引戸本体11に向かう方向と反対側に向かって突出している。第1突出体13は、引戸本体の中央の高さC1より高い位置に存在する部分を有する。第2突出体14は、引戸本体の中央の高さC1より引戸本体11の下端11Lに近い高さに存在する部分を有する。引戸構造100は、引戸1が閉まった状態を保持する保持手段と、引戸1を開く方向へ付勢する付勢手段と、引戸1が閉まる方向へ引戸1を移動させる移動機構とをさらに備える。
【選択図】図1
特許請求の範囲
【請求項1】
鉄道車両の壁部に設けられ、前記壁部に平行な方向にスライド可能な引戸を備えた引戸構造であり、
前記引戸は、
前記壁部の開口に配置され、前記開口を開閉可能な引戸本体と、
使用者が把持可能な把持部を有し、前記引戸本体に取り付けられた取手と、
前記取手に接続し、前記把持部から前記引戸本体に向かう方向と反対側に向かって突出し、且つ、上下方向について前記引戸本体の中央の高さより高い位置に存在する部分および/または前記引戸本体の中央の高さより前記引戸本体の下端に近い高さに存在する部分を有する突出体とを有し、
前記引戸構造は、
前記引戸が閉まっているとき前記引戸が閉まった状態を保持する保持手段と、
前記引戸が閉まった状態で、前記引戸を開くため前記取手または前記突出部に力が加えられたとき、前記引戸が開く方向へ前記引戸を付勢する付勢機構と、
前記引戸が開いているとき前記引戸が閉まる方向へ前記引戸を移動させる移動機構と、
をさらに備えている
ことを特徴とする鉄道車両の引戸構造。
続きを表示(約 1,300 文字)
【請求項2】
前記取手は、上下方向について、前記引戸本体の中央の高さより高い位置から、前記引戸本体の中央の高さより前記引戸本体の下端の高さに近い位置まで存在し、
前記取手の上部および/または下部に前記突出体が接続されている
ことを特徴とする請求項1に記載の鉄道車両の引戸構造。
【請求項3】
前記取手は、上下方向について、前記引戸本体の上端および下端より、前記引戸本体の中央に近い高さに存在し、
前記突出体は、上下方向について、前記取手の上端より高い位置に存在する部分および/または前記取手の下端より低い位置に存在する部分を有する
ことを特徴とする請求項1に記載の鉄道車両の引戸構造。
【請求項4】
前記突出体は、
上下方向について、前記引戸本体の中央の高さより高い位置に存在する部分を有する第1突出体と、
上限方向について、前記引戸本体の中央の高さより前記引戸本体の下端に近い高さに存在する部分を有する第2突出体と
を備えている
ことを特徴とする請求項1~3のいずれか1項に記載の鉄道車両の引戸構造。
【請求項5】
前記突出体が上下方向に長い縦長状の部分を有する
ことを特徴とする請求項1~3のいずれか1項に記載の鉄道車両の引戸構造。
【請求項6】
前記突出体は、
上下方向に平行な縦突出部と、
前記縦突出部の上部と前記把持部との間に配置された上突出部と、
前記縦突出部の下部と前記把持部との間に配置された下突出部と、
を有し、
前記把持部と前記縦突出部とが離れている
ことを特徴とする請求項1~3のいずれか1項に記載の鉄道車両の引戸構造。
【請求項7】
前記突出体に、溝または貫通孔が形成され、
前記溝は、前記引戸が閉まった状態で、前記引戸が開く方向に凹んでおり、
前記貫通孔は、前記引戸が閉まった状態で、前記引戸が開く方向に貫通している
ことを特徴とする請求項1~3のいずれか1項に記載の鉄道車両の引戸構造。
【請求項8】
前記把持部は棒状であり、
前記突出体は板状である
ことを特徴とする請求項1~3のいずれか1項に記載の鉄道車両の引戸構造。
【請求項9】
前記突出体は、前記把持部の直径より薄い厚さの部分を有する
ことを特徴とする請求項8に記載の鉄道車両の引戸構造。
【請求項10】
前記突出体は、前記取手との接続位置において、前記引戸がスライドする方向に直交する方向であり且つ上下方向に直交する方向に向いており、
前記突出体は、前記把持部との接続位置から離れるにつれて、前記引戸本体の幅方向の両端のうち前記引戸を開いたとき前記壁部から離れる一端に近くなるように傾斜している又は前記引戸本体から離れるように凹状に湾曲していることを特徴とする請求項1~3のいずれか1項に記載の鉄道車両の引戸構造。
発明の詳細な説明
【技術分野】
【0001】
本発明は、鉄道車両の引戸構造に関する。
続きを表示(約 1,600 文字)
【背景技術】
【0002】
鉄道車両は、乗客、乗務員、作業者などの使用者が手で開閉する引戸を備えている。例えば、特許文献1の図1(a)に示すように、鉄道車両の妻構体の開口に、引戸が配置されている。引戸は、使用者が手で握る把持部を有する。使用者は、把持部を手で握り、把持部を動かす。これにより引戸が開く。
【先行技術文献】
【特許文献】
【0003】
特開2021-154909号
【発明の概要】
【発明が解決しようとする課題】
【0004】
近年、ウィルスの感染が問題となっている。ウィルスに感染する原因の一つとして、手が物に接触することにより、物に付いたウィルス等が手に付き、その手で目、鼻、口等に触れることと考えられている。
【0005】
そこで、物に手を触れることなく、物を動かす構造が検討されている。鉄道車両においても、使用者が、引戸の把持部に手を触れることなく、引戸を開閉できる構造を提供できることが望ましい。
【0006】
本発明は、鉄道車両において、使用者が、引戸の把持部に手を触れることなく、引戸を開閉できる構造を提供することを目的とする。
【課題を解決するための手段】
【0007】
本明細書で開示される鉄道車両の引戸構造は、鉄道車両の壁部に設けられ、前記壁部に平行な方向にスライド可能な引戸を備えた引戸構造であり、前記引戸は、前記壁部の開口に配置され、前記開口を開閉可能な引戸本体と、使用者が把持可能な把持部を有し、前記引戸本体に取り付けられた取手と、前記取手に接続し、前記把持部から前記引戸本体に向かう方向と反対側に向かって突出し、且つ、上下方向について前記引戸本体の中央の高さより高い位置に存在する部分および/または前記引戸本体の中央の高さより前記引戸本体の下端に近い高さに存在する部分を有する突出体とを有し、前記引戸構造は、前記引戸が閉まっているとき前記引戸が閉まった状態を保持する保持手段と、前記引戸が閉まった状態で、前記引戸を開くため前記取手または前記突出部に力が加えられたとき、前記引戸が開く方向へ前記引戸を付勢する付勢機構と、前記引戸が開いているとき前記引戸が閉まる方向へ前記引戸を移動させる移動機構と、をさらに備えている。
【0008】
上記構成によると、取手に接続した突出体が、使用者の肘、肩または膝付近の高さに存在する。使用者は、肘、肩または膝により突出体に力を加えることにより、把持部に手を触れることなく、引戸を開閉できる。また、肘、肩または膝などの部位は、手より引戸に近付けにくい。上記構成によると、突出体が、把持部より、使用者の近くに存在する。そのため、使用者は、引戸にそれほど近づかずに、突出体に力を加えることができる。
【0009】
また、引戸が閉まっているとき、保持手段により、引戸が閉まった状態が維持される。これにより、鉄道車両の走行中、鉄道車両が揺れるなどしても、引戸が開かない。引戸が閉まった状態で、使用者が、引戸を開くため把持部または突出体に力を加えた場合、付勢機構により、引戸が開く方向へ、引戸が付勢される。保持手段があるが、付勢機構により、使用者は、引戸を開くときに把持部または突出体に大きな力を加えなくてよい。引戸が開いた状態では、移動機構により、引戸が閉まる方向へ、引戸が移動する。使用者が引戸の把持部および突出体に触れることなく、引戸が閉まる。
【0010】
上記より、使用者が引戸の把持部に手を触れることなく、引戸を開閉できる構造を提供することができる。また、引戸には手で握る把持部があるため、既存の鉄道車両と同様に、使用者は、把持部を握って、引戸を開閉することもできる。
(【0011】以降は省略されています)
この特許をJ-PlatPat(特許庁公式サイト)で参照する
関連特許
近畿車輌株式会社
耐火床構造
6日前
近畿車輌株式会社
鉄道車両の引戸構造
7か月前
日本信号株式会社
検査装置
9か月前
日本信号株式会社
ホーム柵
1か月前
日本信号株式会社
ホーム柵
1か月前
個人
車両及び走行システム
5か月前
近畿車輌株式会社
耐火床構造
6日前
日本信号株式会社
ホーム柵装置
6か月前
カヤバ株式会社
鉄道車両用制振装置
9か月前
近畿車輌株式会社
鉄道車両の床構造
10か月前
近畿車輌株式会社
鉄道車両の床構造
10か月前
近畿車輌株式会社
鉄道車両の床構造
10か月前
日本信号株式会社
列車接近警報装置
2か月前
ナブテスコ株式会社
ホームドア装置
2か月前
日本車輌製造株式会社
台車組立装置
4か月前
保線機器整備株式会社
保線用カート
8か月前
川崎車両株式会社
鉄道車両用パネル
7か月前
日本信号株式会社
ホームドア制御装置
2か月前
株式会社ダイフク
搬送車
4か月前
日本信号株式会社
物体検知装置
6か月前
日本信号株式会社
踏切道監視システム
10か月前
日本信号株式会社
ホーム安全システム
6か月前
日本ケーブル株式会社
索道の支索引留め装置
2か月前
株式会社東芝
台車搬送装置
2日前
シャープ株式会社
表示装置
11か月前
前川鉄工株式会社
ロープ駆動装置
11か月前
ヤマハ発動機株式会社
無人搬送車
6か月前
ヤマハ発動機株式会社
無人搬送車
4か月前
株式会社ダイフク
搬送設備
5か月前
ヤマハ発動機株式会社
無人搬送車
6か月前
株式会社日立製作所
鉄道車両
10日前
ヤマハ発動機株式会社
無人搬送車
6か月前
日本製鉄株式会社
鉄道車両
7か月前
ナブテスコ株式会社
ホームドア装置
12か月前
日本製鉄株式会社
鉄道車両
7か月前
オークラ輸送機株式会社
無人搬送車
6日前
続きを見る
他の特許を見る