TOP
|
特許
|
意匠
|
商標
特許ウォッチ
Twitter
他の特許を見る
公開番号
2025146470
公報種別
公開特許公報(A)
公開日
2025-10-03
出願番号
2024047274
出願日
2024-03-22
発明の名称
半導体基板の平面研磨方法及び平面研磨装置
出願人
ノリタケ株式会社
代理人
個人
,
個人
主分類
H01L
21/304 20060101AFI20250926BHJP(基本的電気素子)
要約
【課題】半導体基板の平面研磨工程において、研磨効率の向上と研磨面の品質とが得られる半導体基板の平面研磨方法及び平面研磨装置を提供することにある。
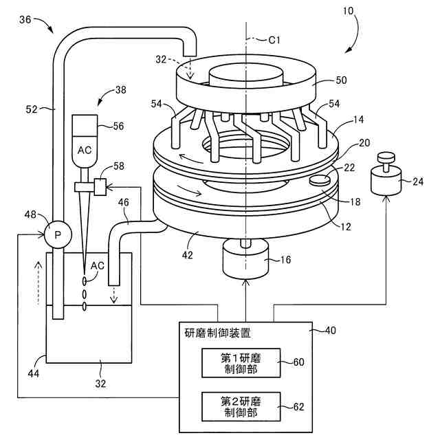
【解決手段】研磨液32にpH調整剤ACを滴下するpH調整剤滴下装置38が備えられ、研磨制御装置40は、研磨加工の開始から所定期間の間、pH調整剤滴下装置38からpH調整剤ACを研磨液32に滴下させて研磨液32のpHを強酸加工域に維持しつつ下研磨パッド18及び上研磨パッド20を回転駆動して半導体基板22の粗研磨を実行し、所定期間が経過してから研磨加工が終了するまで、pH調整剤滴下装置38からのpH調整剤ACの滴下を停止して研磨液32のpHを強酸加工域よりも高くしつつ下研磨パッド18及び上研磨パッド20を回転駆動して半導体基板22の仕上げ研磨を実行する。これにより、1つの研磨工程において、高い研磨効率と良好な表面粗さSaとが共に得られる。
【選択図】図1
特許請求の範囲
【請求項1】
過マンガン酸塩及び水を含む研磨液の循環供給下で研磨パッドを用いて半導体基板を平面研磨する半導体基板の平面研磨方法であって、
研磨加工の開始から所定期間の間は、pH調整剤を前記研磨液に滴下して前記研磨液のpHを強酸加工域に維持しつつ研磨を行い、
前記所定期間を経過してから前記研磨加工が終了するまで、前記pH調整剤の滴下を停止して前記研磨液のpHを前記強酸加工域よりも高くしつつ研磨を行なう
ことを特徴とする半導体基板の平面研磨方法。
続きを表示(約 780 文字)
【請求項2】
過マンガン酸塩及び水を含む研磨液の循環供給下で研磨パッドを用いて半導体基板を平面研磨する半導体基板の平面研磨装置であって、
前記研磨液にpH調整剤を滴下するpH調整剤滴下装置と、
研磨加工の開始から所定期間の間は、前記pH調整剤滴下装置から前記pH調整剤を前記研磨液に滴下させて前記研磨液のpHを強酸加工域に維持しつつ前記研磨パッドを回転駆動して前記半導体基板の研磨を実行し、前記所定期間が経過してから前記研磨加工が終了するまで、前記pH調整剤滴下装置からの前記pH調整剤の滴下を停止して前記研磨液のpHを前記強酸加工域よりも高くしつつ前記研磨パッドを回転駆動して前記半導体基板の研磨を実行する研磨制御装置と、を含む
ことを特徴とする半導体基板の平面研磨装置。
【請求項3】
前記所定期間は、前記半導体基板の研磨時間のうちの研磨開始からの研磨時間が33%から50%の間の期間である
ことを特徴とする請求項2の半導体基板の平面研磨装置。
【請求項4】
前記強酸加工域は、pHが2.5~3.5の前記研磨液を用いて前記研磨加工する領域である
ことを特徴とする請求項2の半導体基板の平面研磨装置。
【請求項5】
前記研磨液は、研磨砥粒を含まないものであり、
前記研磨パッドは、独立気孔或いは連通気孔が形成された母材樹脂と、前記母材樹脂の前記連通気孔内に充填された前記研磨砥粒とを備えたものである
ことを特徴とする請求項2の半導体基板の平面研磨装置。
【請求項6】
前記pH調整剤は、塩酸、硫酸、硝酸、リン酸等の前記研磨液のpHを酸性側に調整する試薬である
ことを特徴とする請求項2の半導体基板の平面研磨装置。
発明の詳細な説明
【技術分野】
【0001】
本発明は、半導体デバイスに用いられる半導体基板の一面を研磨するために用いられる、半導体基板の平面研磨方法及び平面研磨装置に関し、研磨加工中に循環して用いられる研磨液のpHを変化させることで、粗研磨と仕上げ研磨とを研磨加工中に連続して行なう技術に関するものである。
続きを表示(約 1,700 文字)
【背景技術】
【0002】
SiC等の半導体基板(半導体ウエーハ)の研磨に関しては、たとえば、特許文献1に記載された平面研磨方法がある。この平面研磨方法によれば、過マンガン酸イオンと、弱酸と、その可溶性塩とを含み、研磨開始前におけるpHが0.5~6以下に調整された酸性の研磨液を循環させて繰り返し研磨面に供給される。
【0003】
この研磨方法によれば、弱酸及びその可溶性塩が研磨液に含まれることで、研磨液中の過マンガン酸イオンによる被研磨材の酸化によって研磨液のpHの急激な上昇による研磨速度の急激な減少が抑制されるので、半導体基板の被研磨面の研磨効率の向上を図ることができるとされている。
【先行技術文献】
【特許文献】
【0004】
特許第6301571号公報
【発明の概要】
【発明が解決しようとする課題】
【0005】
しかしながら、上記従来の半導体基板の平面研磨方法は、研磨液に含まれる弱酸とその可溶性塩との作用により研磨中の研磨液のpHの急激な上昇を抑制して一定の速度でpHを上昇させることで、研磨液に弱酸とその可溶性塩とが含まれない場合に比較して、過マンガン酸イオンによる半導体基板の酸化が得られる状態を拡大し、研磨効率の向上を図るものである。このため、1つの研磨工程において、半導体基板の研磨効率の向上と研磨面の品質(低い表面粗さ)とを両立させることが困難であった。
【0006】
本発明は以上の事情を背景として為されたものであり、その目的とするところは、半導体基板の平面研磨工程において、研磨効率の向上と研磨面の品質とが得られる半導体基板の平面研磨方法及び平面研磨装置を提供することにある。
【0007】
本発明者は、以上の事情を背景として種々検討を重ねた結果、過マンガン酸カリウムを含む酸性の研磨液を循環して用いて半導体基板の一面を研磨パッドを用いて研磨するに際して、当初は、pH調整液を研磨液に供給して研磨液のpHを所定の低い強酸性値に維持しつつ研磨を行い、次いで、研磨液に対するpH調整液の供給を止めて研磨を継続すると、1つの研磨工程において、高い研磨効率と良好な表面粗さとが一挙に得られることを見出した。本発明はこのような知見に基づいて為されたものである。
【課題を解決するための手段】
【0008】
すなわち、第1発明の要旨とするところは、(1)過マンガン酸塩及び水を含む研磨液の循環供給下で研磨パッドを用いて半導体基板を平面研磨する半導体基板の平面研磨方法であって、(2)研磨加工の開始から所定期間の間は、pH調整剤を前記研磨液に滴下して前記研磨液のpHを強酸加工域に維持しつつ研磨を行い、(3)前記所定期間を経過してから前記研磨加工が終了するまで、前記pH調整剤の滴下を停止して前記研磨液のpHを前記強酸加工域よりも高くしつつ研磨を行なうことにある。
【0009】
第2発明の要旨とするところは、(1)過マンガン酸塩及び水を含む研磨液の循環供給下で研磨パッドを用いて半導体基板を平面研磨する半導体基板の平面研磨装置であって、(2)前記研磨液にpH調整剤を滴下するpH調整剤滴下装置と、(3)研磨加工の開始から所定期間の間は、前記pH調整剤滴下装置から前記pH調整剤を前記研磨液に滴下させて前記研磨液のpHを強酸加工域に維持しつつ前記研磨パッドを回転駆動して前記半導体基板の研磨を実行し、前記所定期間が経過してから前記研磨加工が終了するまで、前記pH調整剤滴下装置からの前記pH調整剤の滴下を停止して前記研磨液のpHを前記強酸加工域よりも高くしつつ前記研磨パッドを回転駆動して前記半導体基板の研磨を実行する研磨制御装置と、を含むことにある。上記過マンガン酸塩とは、過マンガン酸カリウム、過マンガン酸ナトリウムに代表されるマンガンのオキソ酸塩である。
【0010】
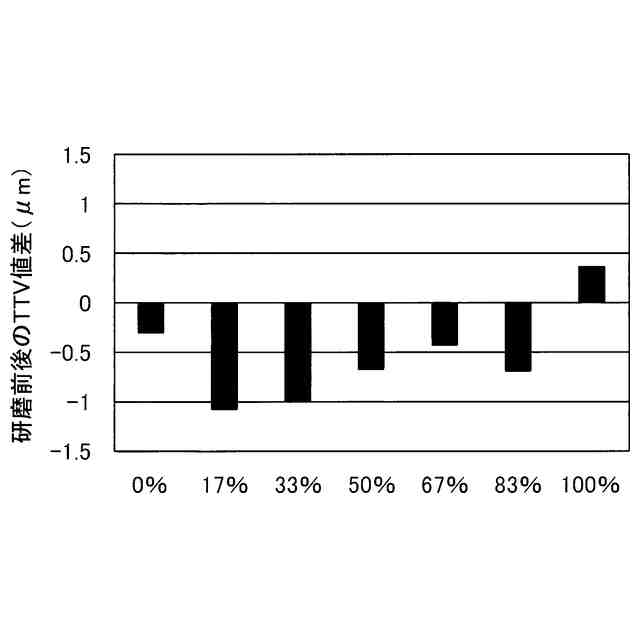
第3発明の要旨とするところは、第2発明において、前記所定期間は、前記半導体基板の研磨時間のうちの研磨開始からの研磨時間が33%から50%の間の期間であることにある。
(【0011】以降は省略されています)
この特許をJ-PlatPat(特許庁公式サイト)で参照する
関連特許
ノリタケ株式会社
焼成炉
2日前
ノリタケ株式会社
焼成炉
2日前
ノリタケ株式会社
焼成炉
2日前
ノリタケ株式会社
熱処理設備
1か月前
ノリタケ株式会社
熱処理設備
1か月前
ノリタケ株式会社
熱処理装置
1か月前
ノリタケ株式会社
金ペースト
4日前
ノリタケ株式会社
ガス吸収シート
15日前
ノリタケ株式会社
砥材及びその製造方法
今日
ノリタケ株式会社
インクジェットインク
1か月前
ノリタケ株式会社
搬送装置および熱処理装置
今日
ノリタケ株式会社
搬送装置および熱処理装置
今日
ノリタケ株式会社
砥粒内包型高強度研磨パッド
4日前
ノリタケ株式会社
シリコンウエーハの研磨方法
1か月前
ノリタケ株式会社
導電性インク用インクジェット装置
16日前
ノリタケ株式会社
冷却装置およびそれを備えた熱処理装置
14日前
ノリタケ株式会社
砥材、砥材の製造方法及び砥石の製造方法
今日
ノリタケ株式会社
導電ペーストおよび導電ペーストの製造方法
28日前
ノリタケ株式会社
半導体基板の平面研磨方法及び平面研磨装置
今日
ノリタケ株式会社
タンパク質吸着方法、タンパク質精製方法、ならびにタンパク質精製装置
14日前
東邦チタニウム株式会社
ニッケル含有粒子、ニッケル含有粒子の製造方法及び、スラリー
24日前
ノリタケ株式会社
タンパク質吸着方法、タンパク質精製方法、ならびにタンパク質精製装置
14日前
ノリタケ株式会社
ビトリファイド砥石の製造方法、それに用いる砥材、および、ビトリファイド砥石
1か月前
個人
安全なNAS電池
28日前
個人
フリー型プラグ安全カバー
1か月前
東レ株式会社
多孔質炭素シート
23日前
日本発條株式会社
積層体
4日前
個人
防雪防塵カバー
4日前
ローム株式会社
半導体装置
2日前
エイブリック株式会社
半導体装置
25日前
ローム株式会社
半導体装置
2日前
ローム株式会社
半導体装置
2日前
キヤノン株式会社
電子機器
23日前
ローム株式会社
半導体装置
23日前
ローム株式会社
半導体装置
今日
エイブリック株式会社
半導体装置
25日前
続きを見る
他の特許を見る