TOP
|
特許
|
意匠
|
商標
特許ウォッチ
Twitter
他の特許を見る
公開番号
2025145550
公報種別
公開特許公報(A)
公開日
2025-10-03
出願番号
2024045776
出願日
2024-03-21
発明の名称
搬送装置および熱処理装置
出願人
ノリタケ株式会社
代理人
個人
,
個人
主分類
F27B
9/30 20060101AFI20250926BHJP(炉,キルン,窯;レトルト)
要約
【課題】被処理物の処理量を増やす。
【解決手段】搬送装置30は、複数の搬送ローラ40と、ストッパ50と、幅寄せ装置60とを備えている。複数の搬送ローラ40は、搬送経路に沿って並べられている。ストッパ50は、複数の搬送ローラ40のうち、隣り合う搬送ローラ40a,40bの間から昇降する。幅寄せ装置60は、リフタ61と、プッシャ66とを備えている。リフタ61は、ストッパ50によって停止された複数の搬送ローラ40上を搬送される、搬送方向と直交する方向に沿って並ぶ複数の被搬送物Aを持ち上げる。プッシャ66は、リフタ61によって持ち上げられた複数の被搬送物Aを搬送ローラ40の軸方向に沿って押す。プッシャ66は、被搬送物Aと接する当て板67を備えている。当て板67は、セメント系材料から構成されている。
【選択図】図4
特許請求の範囲
【請求項1】
複数列の搬送レーンが設定された、搬送経路に沿って並べられた複数の搬送ローラと、
前記複数の搬送ローラのうち予め定められた位置の隣り合う搬送ローラの間から昇降するストッパと、
幅寄せ装置と
を備え、
前記幅寄せ装置は、
前記ストッパによって停止された前記複数の搬送ローラ上を搬送される、搬送方向と直交する方向に沿って並ぶ複数の被搬送物を持ち上げるリフタと、
前記リフタによって持ち上げられた前記複数の被搬送物を前記搬送ローラの軸方向に沿って押すプッシャと
を備え、
前記プッシャは、前記被搬送物と接する当て板を備え、
前記当て板は、セメント系材料から構成されている、
搬送装置。
続きを表示(約 870 文字)
【請求項2】
前記セメント系材料は、骨材としてガラス繊維を含む、請求項1に記載された搬送装置。
【請求項3】
前記搬送経路では、複数段に重ねられた被搬送物が搬送され、
前記プッシャは、前記当て板を前記軸方向に沿って駆動する駆動装置から延びるシャフトをさらに備え、
前記シャフトは、前記複数段に重ねられた被搬送物が前記リフタによって持ち上げられた際に、前記軸方向において、前記複数段に重ねられた被搬送物の境界部と重なる位置に設けられている、請求項1または2に記載された搬送装置。
【請求項4】
前記リフタは、前記複数の被搬送物を支持する複数の支持ローラを備え、
前記複数の支持ローラの回転軸は、それぞれ前記複数の被搬送物が搬送される搬送方向に沿っている、請求項1または2に記載された搬送装置。
【請求項5】
前記リフタは、
前記搬送方向に沿って互いに対向する第1支持板および第2支持板と、
前記第1支持板によって支持された複数の第1支持ローラと、
前記第2支持板によって支持された複数の第2支持ローラと
を備え、
前記複数の第1支持ローラは、前記第1支持板の、前記第2支持板と対向する面とは反対側の面に取り付けられており、
前記複数の第2支持ローラは、前記第2支持板の、前記第1支持板と対向する面とは反対側の面に取り付けられている、請求項4に記載された搬送装置。
【請求項6】
前記複数の支持ローラは、セラミック製である、請求項4に記載された搬送装置。
【請求項7】
前記被搬送物に収容された被処理物を加熱する加熱装置と、
前記加熱装置の搬出口に接続された搬送装置と
を備え、
前記搬送装置は、請求項1または2に記載された搬送装置である、
熱処理装置。
【請求項8】
前記加熱装置は、ローラハースキルンである、請求項7に記載された熱処理装置。
発明の詳細な説明
【技術分野】
【0001】
本開示は、搬送装置および熱処理装置に関する。
続きを表示(約 2,000 文字)
【背景技術】
【0002】
特開2022-151151号公報には、搬送ローラ上に置かれた複数の被搬送物を少なくとも3列の縦列状態でそれぞれ搬送するローラ式搬送装置が開示されている。同公報に開示されているローラ式搬送装置には、被搬送物をストッパに突き当てた後に幅寄せし、搬送方向に直交する方向に整列させる被搬送物整列装置が設けられている。かかるローラ式搬送装置では、搬送されてきた被搬送物を、例えば、置換室への収容に先立って搬送方向に直交する方向に整列させることができるとされている。
【先行技術文献】
【特許文献】
【0003】
特開2022-151151号公報
【発明の概要】
【発明が解決しようとする課題】
【0004】
要求処理量の増加により炉出口の被焼成物の温度が上がる事で、従来よりも機械的強度・耐熱温度の向上が幅寄せ装置に求められている。
【課題を解決するための手段】
【0005】
ここで開示される搬送装置は、複数の搬送ローラと、ストッパと、幅寄せ装置とを備えている。複数の搬送ローラは、複数列の搬送レーンが設定された、搬送経路に沿って並べられている。ストッパは、複数の搬送ローラのうち予め定められた位置の隣り合う搬送ローラの間から昇降する。幅寄せ装置は、リフタと、プッシャとを備えている。リフタは、ストッパによって停止された複数の搬送ローラ上を搬送される、搬送方向と直交する方向に沿って並ぶ複数の被搬送物を持ち上げる。プッシャは、リフタによって持ち上げられた複数の被搬送物を搬送ローラの軸方向に沿って押す。プッシャは、被搬送物と接する当て板を備えている。当て板は、セメント系材料から構成されている。かかる搬送装置は、幅寄せ装置の機械的強度・耐熱温度の向上が良好である。
【図面の簡単な説明】
【0006】
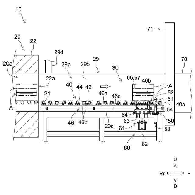
図1は、熱処理装置10を示す模式図である。
図2は、搬送装置30の模式図である。
図3は、ストッパ50の模式図である。
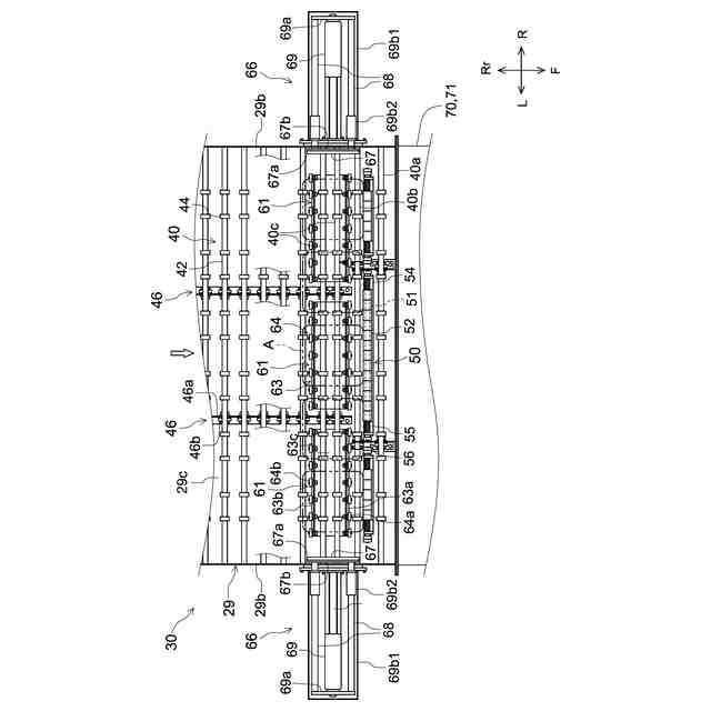
図4は、幅寄せ装置60の模式図である。
【発明を実施するための形態】
【0007】
以下、本開示における実施形態の1つについて、図面を参照しつつ詳細に説明する。なお、以下の図面においては、同じ作用を奏する部材・部位には同じ符号を付して説明している。また、各図における寸法関係(長さ、幅、厚み等)は実際の寸法関係を反映するものではない。上、下、左、右、前、後の向きは、図中、U、D、L、R、F、Rrの矢印でそれぞれ表されている。ここで、上、下、左、右、前、後の向きは、説明の便宜上、定められているに過ぎず、特に言及されない限りにおいて本願発明を限定しない。
【0008】
図1は、熱処理装置10を示す模式図である。図中、被搬送物Aが搬送される方向は、矢印で示されている。図2は、搬送装置30の模式図である。図2では、上方から見た搬送装置30の平面図が模式的に示されている。図2では、ストッパ50によって整列する被搬送物Aの位置は、二点鎖線で示されている。図3は、ストッパ50の模式図である。図3では、前方から後方に向かって見たストッパ50が示されている。図3では、上昇している状態のストッパ50が示されており、下降している状態のストッパ50の位置は、二点鎖線で示されている。図3では、搬送ローラ40の図示は省略されている。図4は、幅寄せ装置60の模式図である。図4では、前方から後方に向かって見た幅寄せ装置60が示されている。図4では、幅寄せ時の当て板67および被搬送物Aが示されており、幅寄せ前の当て板67および被搬送物Aは、二点鎖線で示されている。また、図4では、被搬送物Aが持ち上げられる前の支持ローラ64は、二点鎖線で示されている。
【0009】
〈熱処理装置10〉
熱処理装置10は、図1に示されているように、加熱装置20と、搬送装置30と、置換室70とを備えている。熱処理装置10は、加熱容器Aに被処理物を収容した状態で搬送しつつ熱処理するための装置である。被処理物が収容された加熱容器Aは、適宜に被搬送物Aとも称される。
【0010】
この実施形態では、加熱容器Aは、匣鉢またはサヤとも称される箱型の容器が用いられている。加熱容器Aは、上部が開口している。加熱容器Aは、底板と、底板から上方に延びる側板とを有している。加熱容器Aの側板の上部には、窪みが形成されている。これによって、加熱容器Aが重ねられた場合にも、下方の加熱容器Aの内部は、熱処理装置10内の雰囲気にさらされる。
(【0011】以降は省略されています)
この特許をJ-PlatPat(特許庁公式サイト)で参照する
関連特許
ノリタケ株式会社
焼成炉
4日前
ノリタケ株式会社
焼成炉
4日前
ノリタケ株式会社
焼成炉
4日前
ノリタケ株式会社
熱処理設備
1か月前
ノリタケ株式会社
熱処理設備
1か月前
ノリタケ株式会社
熱処理装置
1か月前
ノリタケ株式会社
金ペースト
6日前
ノリタケ株式会社
ガス吸収シート
17日前
ノリタケ株式会社
砥材及びその製造方法
2日前
ノリタケ株式会社
インクジェットインク
1か月前
ノリタケ株式会社
搬送装置および熱処理装置
2日前
ノリタケ株式会社
搬送装置および熱処理装置
2日前
ノリタケ株式会社
砥粒内包型高強度研磨パッド
6日前
ノリタケ株式会社
シリコンウエーハの研磨方法
1か月前
ノリタケ株式会社
導電性インク用インクジェット装置
18日前
ノリタケ株式会社
冷却装置およびそれを備えた熱処理装置
16日前
ノリタケ株式会社
砥材、砥材の製造方法及び砥石の製造方法
2日前
ノリタケ株式会社
導電ペーストおよび導電ペーストの製造方法
1か月前
ノリタケ株式会社
半導体基板の平面研磨方法及び平面研磨装置
2日前
ノリタケ株式会社
タンパク質吸着方法、タンパク質精製方法、ならびにタンパク質精製装置
16日前
東邦チタニウム株式会社
ニッケル含有粒子、ニッケル含有粒子の製造方法及び、スラリー
26日前
ノリタケ株式会社
タンパク質吸着方法、タンパク質精製方法、ならびにタンパク質精製装置
16日前
ノリタケ株式会社
ビトリファイド砥石の製造方法、それに用いる砥材、および、ビトリファイド砥石
1か月前
株式会社サンコー
浸漬ヒーター
17日前
東京窯業株式会社
セッター
4か月前
中外炉工業株式会社
熱処理炉
6日前
株式会社プロテリアル
スラグ除滓装置
9か月前
中外炉工業株式会社
処理炉
3か月前
ノリタケ株式会社
熱処理装置
2か月前
ノリタケ株式会社
連続加熱炉
6か月前
有限会社ヨコタテクニカ
リフロー炉
2か月前
ノリタケ株式会社
連続加熱炉
5か月前
ファーネス重工株式会社
熱風循環炉
5か月前
株式会社不二越
搬送システム
4か月前
ノリタケ株式会社
熱処理装置
4か月前
ノリタケ株式会社
サヤ
3か月前
続きを見る
他の特許を見る