TOP
|
特許
|
意匠
|
商標
特許ウォッチ
Twitter
他の特許を見る
公開番号
2025062327
公報種別
公開特許公報(A)
公開日
2025-04-14
出願番号
2023171312
出願日
2023-10-02
発明の名称
分級装置及び粉塵固化システム
出願人
新東工業株式会社
代理人
個人
,
個人
,
個人
主分類
B07B
7/02 20060101AFI20250407BHJP(固体相互の分離;仕分け)
要約
【課題】粉塵から異物を適切に分離する技術を提供する。
【解決手段】分級装置は、微細粉塵及び異物を含む粉塵を先端から吸引するホースと、内部に分級空間を画成し、分級空間に連通するようにホースの末端が接続され、分級空間を負圧にする吸引装置と接続するための上部排出口が上部に設けられ、分級空間を落下した異物を排出する下部排出口が下部に設けられる、本体と、本体の下部排出口から排出される異物を貯留する貯留空間を画成する容器に装着され、貯留空間に連通する空気取入口が形成され、本体の下方に位置する蓋部材と、蓋部材の空気取入口に接続され、貯留空間に配置される空気導入管と、を備える。
【選択図】図2
特許請求の範囲
【請求項1】
微細粉塵及び異物を含む粉塵を先端から吸引するホースと、
内部に分級空間を画成し、前記分級空間に連通するように前記ホースの末端が接続され、前記分級空間を負圧にする吸引装置と接続するための上部排出口が上部に設けられ、前記分級空間を落下した前記異物を排出する下部排出口が下部に設けられる、本体と、
前記本体の前記下部排出口から排出される前記異物を貯留する貯留空間を画成する容器に装着され、前記貯留空間に連通する空気取入口が形成され、前記本体の下方に位置する蓋部材と、
前記蓋部材の前記空気取入口に接続され、前記貯留空間に配置される空気導入管と、
を備える、分級装置。
続きを表示(約 820 文字)
【請求項2】
前記空気導入管は、下端が前記容器の底部に向くように前記蓋部材の前記空気取入口に接続される、請求項1に記載の分級装置。
【請求項3】
前記本体の下部は管体で構成され、前記管体は前記本体の中央の横断面積よりも小さい横断面積を有し、前記管体の下端が前記下部排出口を構成する、請求項1又は2に記載の分級装置。
【請求項4】
前記ホースの先端に設けられ、複数の開口を有する粗フィルタを備え、前記複数の開口それぞれは前記ホースの開口よりも小さい、請求項1又は2に記載の分級装置。
【請求項5】
前記本体の側壁の一部を構成する着脱可能な点検蓋と、
前記本体の上部に設けられた前記上部排出口の前段に配置され、前記点検蓋に支持され、前記微細粉塵と前記異物とを分離するフィルタと、
を備える、請求項1又は2に記載の分級装置。
【請求項6】
分級装置と固化装置とを備える粉塵固化システムであって、
前記分級装置は、
微細粉塵及び異物を含む粉塵を先端から吸引するホースと、
内部に分級空間を画成し、前記分級空間に連通するように前記ホースの末端が接続され、前記分級空間を負圧にする吸引装置と接続するための上部排出口が上部に設けられ、前記分級空間を落下した前記異物を排出する下部排出口が下部に設けられる、本体と、
前記本体の前記下部排出口から排出される前記異物を貯留する貯留空間を画成する容器に装着され、前記貯留空間に連通する空気取入口が形成され、前記本体の下方に位置する蓋部材と、
前記蓋部材の前記空気取入口に接続され、前記貯留空間に配置される空気導入管と、
を備え、
前記固化装置は、前記本体の前記上部排出口を通過した前記微細粉塵が投入され、前記微細粉塵を加圧してペレットを形成する、粉塵固化システム。
発明の詳細な説明
【技術分野】
【0001】
本開示は、分級装置及び粉塵固化システムに関する。
続きを表示(約 1,600 文字)
【背景技術】
【0002】
特許文献1は、廃棄物を固化する装置を開示する。この装置は、廃棄物を貯留するホッパと、ホッパの下方に設けられた圧縮室と、圧縮室の上方と側方から圧縮して廃棄物を固化する圧縮手段とを備える。
【先行技術文献】
【特許文献】
【0003】
特開平04-123898号公報
【発明の概要】
【発明が解決しようとする課題】
【0004】
特許文献1に記載の装置にあっては、廃棄物が粉塵である場合、粉塵に混入した異物によって動作異常が起こることがある。本開示は、粉塵から異物を適切に分離する技術を提供する。
【課題を解決するための手段】
【0005】
本開示の一側面に係る分級装置は、微細粉塵及び異物を含む粉塵を先端から吸引するホースと、内部に分級空間を画成し、分級空間に連通するようにホースの末端が接続され、分級空間を負圧にする吸引装置と接続するための上部排出口が上部に設けられ、分級空間を落下した異物を排出する下部排出口が下部に設けられる、本体と、本体の排出口から排出される異物を貯留する貯留空間を画成する容器に装着され、貯留空間に連通する空気取入口が形成され、本体の下方に位置する蓋部材と、蓋部材の空気取入口に接続され、貯留空間に配置される空気導入管と、を備える。
【0006】
本開示の他の側面に係る粉塵固化システムは、分級装置と固化装置とを備える粉塵固化システムであって、分級装置は、微細粉塵及び異物を含む粉塵を先端から吸引するホースと、内部に分級空間を画成し、分級空間に連通するようにホースの末端が接続され、分級空間を負圧にする吸引装置と接続するための上部排出口が上部に設けられ、分級空間を落下した異物を排出する下部排出口が下部に設けられる、本体と、本体の排出口から排出される異物を貯留する貯留空間を画成する容器に装着され、貯留空間に連通する空気取入口が形成され、本体の下方に位置する蓋部材と、蓋部材の空気取入口に接続され、貯留空間に配置される空気導入管と、を備え、固化装置は、本体の上部排出口を通過した微細粉塵が投入され、微細粉塵を加圧してペレットを形成する。
【発明の効果】
【0007】
本開示によれば、粉塵から異物を適切に分離できる。
【図面の簡単な説明】
【0008】
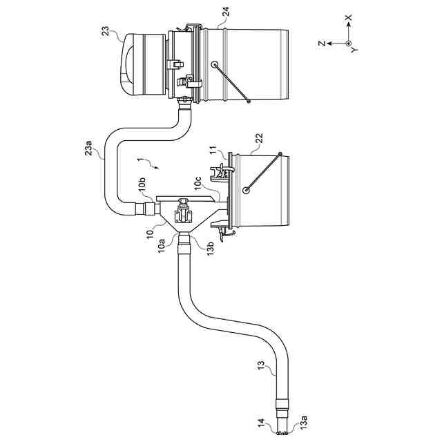
図1は、一実施形態に係る粉塵固化システムの概要を説明する図である。
図2は、一実施形態に係る分級装置の一例、及び分級装置に接続された吸引装置の一例を示す側面図である。
図3は、図2の粗フィルタの一例を示す図である。
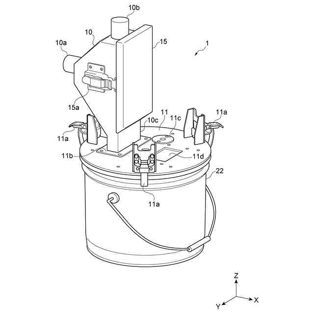
図4は、図2の分級装置の一例を示す斜視図である。
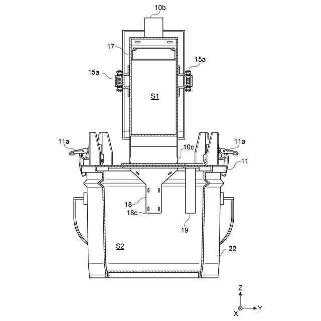
図5は、図2の分級装置の一例を示す断面図である。
図6は、図2の分級装置の一例を示す一部断面図である。
図7は、点検蓋及びフィルタの一例を示す斜視図である。
【発明を実施するための形態】
【0009】
図面を参照しながら本開示の実施形態が詳細に説明される。図面の説明において同一要素には同一符号が付され、重複する説明は省略される。図面の寸法比率は、説明のものと必ずしも一致していない。「上」「下」「左」「右」の語は、図示する状態に基づくものであり、便宜的なものである。
【0010】
[粉塵固化システムの一例]
一実施形態に係る粉塵固化システムは、例えば工場などで収集された粉塵を固化するシステムである。粉塵(ダスト)とは、気体中に浮遊できる程度に微細な粉体であり、金属材料等のレーザ加工、プラズマ加工、及び溶接などの際に発生するヒュームなどを含む。固化とは、粉体を押し固めることである。
(【0011】以降は省略されています)
この特許をJ-PlatPat(特許庁公式サイト)で参照する
関連特許
新東工業株式会社
体感システム
10日前
新東工業株式会社
培養システム
10日前
新東工業株式会社
ベルトクリーナ
1か月前
新東工業株式会社
集塵装置及び集塵システム
9日前
新東工業株式会社
集塵システム及び報知システム
10日前
新東工業株式会社
力覚センサ、及びセンサシステム
9日前
新東工業株式会社
鉄基アモルファス合金、その粉粒体、及びその圧粉材
9日前
日清製粉株式会社
篩
3か月前
日東精工株式会社
検査装置
4か月前
個人
ゴミ分別システム
1か月前
株式会社タケエイ
振動篩装置
3か月前
株式会社レクザム
基板アンローダ
3か月前
株式会社クボタ
豆類選別機
5日前
株式会社クボタ
豆類選別機
5日前
株式会社クボタ
豆類選別機
5日前
川崎重工業株式会社
廃棄物処理システム
2日前
シブヤ精機株式会社
農産物の集出荷装置
9日前
コネクテッドロボティクス株式会社
処理方法
2か月前
キヤノン株式会社
分別装置及び分別方法
2か月前
株式会社栗本鐵工所
ローラスクリーン
5日前
株式会社クボタ
豆類選別機
5日前
株式会社サタケ
測定装置および選別装置
9日前
株式会社クボタ
豆類選別機
5日前
株式会社クボタ
豆類選別機
5日前
株式会社シンセイ
砂乾燥選別装置
3か月前
日本協同企画株式会社
果菜引継ぎ搬送装置及び果菜箱詰め装置
2か月前
株式会社 東京ウエルズ
ワーク分類装置、ワーク分類方法
1か月前
株式会社山本工作所
空気分散部材及び乾式分離装置
1か月前
アンリツ株式会社
選別装置および物品検査装置
2か月前
株式会社PFU
物体撮像装置および物体認識装置
3か月前
株式会社ダルトン
振動ふるい装置及び振動ふるい方法
4日前
アクセリア株式会社
情報提供システム、提供情報生成装置及び情報提供方法
10日前
ウエノテックス株式会社
風力選別機および風力選別システム
4か月前
UBE三菱セメント株式会社
長尺物の篩い分け方法、焼却灰の処理方法、及び、振動篩機
1か月前
株式会社FUJI
異物除去方法
1か月前
アクセリア株式会社
情報提供システム及び情報提供方法
5日前
続きを見る
他の特許を見る