TOP
|
特許
|
意匠
|
商標
特許ウォッチ
Twitter
他の特許を見る
公開番号
2025090411
公報種別
公開特許公報(A)
公開日
2025-06-17
出願番号
2023205615
出願日
2023-12-05
発明の名称
風力選別機および風力選別システム
出願人
ウエノテックス株式会社
代理人
弁理士法人オーパス国際特許事務所
主分類
B07B
4/04 20060101AFI20250610BHJP(固体相互の分離;仕分け)
要約
【課題】混合廃棄物に含まれる重量物と軽量物とを効果的に分離できる風力選別機および風力選別システムを提供する。
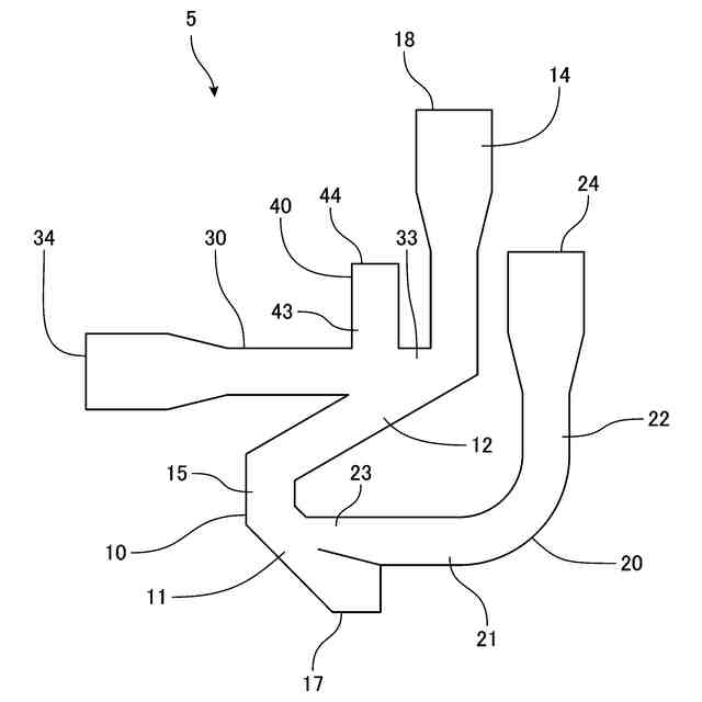
【解決手段】風力選別機5は、縦通路10と、第1空気入口通路20と、第2空気入口通路30と、第2空気入口通路30に接続され、第2空気入口通路30から上方に延びる廃棄物投入通路40と、を有している。縦通路10の下端部に重量物排出口17が設けられている。縦通路10の上端部に空気排出口18が設けられている。縦通路10が、水平方向に対して交互に傾斜した第1傾斜部11および第2傾斜部12を有している。第1空気入口通路20が、第1傾斜部11に接続され、第2空気入口通路30が、第1傾斜部11より上方に配置された第2傾斜部12に接続されている。
【選択図】図2
特許請求の範囲
【請求項1】
縦通路と、
前記縦通路に空気を送り込むための第1空気入口通路と、
前記縦通路に空気を送り込むための第2空気入口通路と、
前記第2空気入口通路に接続され、当該第2空気入口通路から上方に延びる廃棄物投入通路と、を有し、
前記縦通路の下端部に廃棄物排出口が設けられ、前記縦通路の上端部に空気排出口が設けられ、
前記縦通路が、水平方向に対して交互に傾斜した複数の傾斜部を有し、
前記第1空気入口通路が、前記複数の傾斜部のうちの第1傾斜部に接続され、
前記第2空気入口通路が、前記複数の傾斜部のうちの前記第1傾斜部より上方に配置された第2傾斜部に接続されている、ことを特徴とする風力選別機。
続きを表示(約 820 文字)
【請求項2】
前記第1空気入口通路が、前記第1傾斜部に接続される水平部分を有し、
前記水平部分における前記第1傾斜部との接続部が前記第1傾斜部における上方を向く第1傾斜面と水平方向に向かい合うように、前記水平部分が配置されている、請求項1に記載の風力選別機。
【請求項3】
前記接続部が、前記第1傾斜部に近づくにしたがって通路面積が小さくなるように形成されている、請求項2に記載の風力選別機。
【請求項4】
前記接続部の下部が、前記第1傾斜部の内部に庇状に突出している、請求項2に記載の風力選別機。
【請求項5】
前記第1空気入口通路が、前記水平部分と垂直部分とが接続されたL字形状を有し、
前記垂直部分が、前記水平部分から上方に延びている、請求項2~請求項4のいずれか一項に記載の風力選別機。
【請求項6】
風力選別機と、送風機と、を有する風力選別システムであって、
前記風力選別機が、
縦通路と、
前記縦通路に空気を送り込むための第1空気入口通路と、
前記縦通路に空気を送り込むための第2空気入口通路と、
前記第2空気入口通路に接続され、当該第2空気入口通路から上方に延びる廃棄物投入通路と、を有し、
前記縦通路の下端部に廃棄物排出口が設けられ、前記縦通路の上端部に空気排出口が設けられ、
前記縦通路が、水平方向に対して交互に傾斜した複数の傾斜部を有し、
前記第1空気入口通路が、前記複数の傾斜部のうちの第1傾斜部に接続され、
前記第2空気入口通路が、前記複数の傾斜部のうちの前記第1傾斜部より上方に配置された第2傾斜部に接続されており、
前記送風機が、前記第1空気入口通路および前記第2空気入口通路を通じて前記縦通路に空気を送り込む、ことを特徴とする風力選別システム。
発明の詳細な説明
【技術分野】
【0001】
本発明は、廃棄物を選別する風力選別機および風力選別システムに関する。
続きを表示(約 2,200 文字)
【背景技術】
【0002】
近年、資源の有効活用の観点から、廃棄物をリサイクル可能な資源として再利用することが求められている。例えば、家屋などの解体現場から排出される混合廃棄物には、金属片やコンクリート片等の重量物とプラスチックや紙類等の軽量物とが含まれる。このような混合廃棄物を選別する従来の風力選別システムの一例が特許文献1に開示されている。
【0003】
特許文献1の風力選別システムは、廃棄物中に混在する重量物と軽量物とを選別するためのものであり、風力選別機である重量物選別機と、軽量物選別機と、空気供給装置と、を有する。
【0004】
重量物選別機は、縦通路と、第1空気取入口と、廃棄物投入口と、重量物排出口と、第1空気排出口と、を有する。縦通路は、左右方向に対して交互に傾斜した傾斜部が上下方向に複数段にわたって形成されたジグザグ路である。第1空気取入口は、縦通路の下端部に配置されている。第1空気取入口は、縦通路に空気を送り込むために設けられている。廃棄物投入口は、縦通路の上端部に配置されている。廃棄物投入口は、縦通路に重量物と軽量物とが含まれる混合廃棄物を投入するために設けられている。廃棄物投入口にはコンベアの搬出部が配置されており、コンベアによって重量物選別機まで移送されてきた混合廃棄物が投入される。第1空気取入口には、第1ダクト部を介して空気供給装置の送風機が接続されている。第1空気取入口には、送風機から空気が送り込まれる。重量物排出口は、縦通路の下端部に配置されている。重量物排出口は、縦通路を落下した重量物を排出するために設けられている。第1空気排出口は、縦通路の上端部に配置されている。第1空気排出口は、縦通路を通過した空気を排出するために設けられている。廃棄物投入口に混合廃棄物が投入される。第1空気取入口に空気が送り込まれて縦通路を上昇する。混合廃棄物のうち、軽量物は縦通路を上昇する空気とともに第1空気排出口から排出される。混合廃棄物のうち、重量物は縦通路を落下して重量物排出口から排出され、重量物排出口の下方に設置された重量物回収容器内に回収される。
【0005】
軽量物選別機は、第2空気取入口と、スクリーンと、ロータリバルブと、軽量物排出口と、第2空気排出口と、を有する。第2空気取入口は、第1空気排出口から排出された軽量物が混ざった空気を軽量物選別機の内部に送り込むために設けられている。スクリーンは、空気が通過するのを許容しかつ軽量物が通過するのを阻止する網状に形成されている。ロータリバルブは、複数の羽根が放射状に設けられたロータを有している。ロータリバルブは、ロータが回転するとロータの羽根によってスクリーンに補足された軽量物がスクリーンから取り除かれるように構成されている。軽量物排出口は、ロータリバルブによって掻き集められた軽量物を排出するために設けられている。第2空気排出口は、スクリーンを通過した空気を排出するために設けられている。第2空気取入口は、第2ダクト部を介して重量物選別機の第1空気排出口と接続されている。第2空気取入口には、第1空気排出口から排出された軽量物が混ざった空気が送り込まれる。第2空気取入口に送り込まれた空気に混ざった軽量物は、スクリーン通過を阻止されてスクリーンに捕捉される。スクリーンに補足された軽量物は、ロータリバルブのロータの羽根でスクリーンから取り除かれて軽量物排出口から排出され、軽量物排出口の下方に設置された軽量物回収容器内に回収される。スクリーンを通過した空気は、スクリーンの後方に設けられた第2空気排出口から排出される。第2空気排出口には第3ダクト部を介して空気供給装置の送風機が接続される。第2空気排出口から排出された空気は送風機に戻される。
【0006】
空気供給装置は、送風機と、空気循環用ダクトを構成する第1ダクト部、第2ダクト部および第3ダクト部と、を有する。送風機は、第2空気排出口から排出された空気を取り込んで第1空気取入口に向けて送り出す。空気循環用ダクトは、送風機が送り出した空気を重量物選別機に送り、軽量物選別機を通じて送風機に戻すように構成されている。
【0007】
風力選別システムにおいて選別された重量物はさらに素材毎に選別される。このような重量物を素材毎に選別する従来の廃棄物選別システムの一例が特許文献2に開示されている。
【0008】
特許文献2の廃棄物選別システムは、コンベアと、カメラと、ロボットアームと、制御装置と、を有している。
【0009】
コンベアは、複数の廃棄物(風力選別システムで選別された重量物)を一方向に搬送する。コンベアの上流には、サブコンベアが配置され、コンベアとサブコンベアとの間には、振動ふるい装置が配置されている。サブコンベアによって搬送された複数の廃棄物は、振動ふるい装置によって所定の大きさ以下のものがふるい落とされたのち、コンベアに供給される。
【0010】
カメラは、コンベアの上流側に設置されており、カメラはコンベアにおける上流寄りの箇所を上方から撮影するように配置されている。カメラは、コンベアによって複数の廃棄物が搬送される様子を撮影する。
(【0011】以降は省略されています)
この特許をJ-PlatPat(特許庁公式サイト)で参照する
関連特許
個人
穀物選別機
4か月前
日東精工株式会社
検査装置
3か月前
日清製粉株式会社
篩
3か月前
個人
ゴミ分別システム
1か月前
株式会社タケエイ
振動篩装置
3か月前
株式会社レクザム
基板アンローダ
3か月前
川崎重工業株式会社
廃棄物処理システム
4か月前
コネクテッドロボティクス株式会社
処理方法
2か月前
キヤノン株式会社
分別装置及び分別方法
2か月前
アンリツ株式会社
物品検査装置
4か月前
アンリツ株式会社
物品検査装置
4か月前
キヤノン株式会社
分別装置及び分別方法
4か月前
東芝ライテック株式会社
搬送システム
3か月前
株式会社シンセイ
砂乾燥選別装置
3か月前
日本協同企画株式会社
果菜引継ぎ搬送装置及び果菜箱詰め装置
2か月前
株式会社山本工作所
空気分散部材及び乾式分離装置
1か月前
株式会社 東京ウエルズ
ワーク分類装置、ワーク分類方法
1か月前
アンリツ株式会社
選別装置および物品検査装置
4か月前
アンリツ株式会社
選別装置および物品検査装置
1か月前
株式会社PFU
物体撮像装置および物体認識装置
3か月前
アクセリア株式会社
情報提供システム、提供情報生成装置及び情報提供方法
今日
ウエノテックス株式会社
風力選別機および風力選別システム
3か月前
キヤノン株式会社
識別装置
4か月前
UBE三菱セメント株式会社
長尺物の篩い分け方法、焼却灰の処理方法、及び、振動篩機
1か月前
株式会社FUJI
異物除去方法
1か月前
日鉄エンジニアリング株式会社
異物分離装置及び異物分離方法
6日前
個人
複素環式THR-β受容体アゴニスト化合物ならびにその調製方法および使用
2か月前
リジェネックスバイオ インコーポレイテッド
完全ヒト翻訳後修飾抗体による治療剤
1か月前
他の特許を見る