TOP
|
特許
|
意匠
|
商標
特許ウォッチ
Twitter
他の特許を見る
10個以上の画像は省略されています。
公開番号
2025093085
公報種別
公開特許公報(A)
公開日
2025-06-23
出願番号
2023208594
出願日
2023-12-11
発明の名称
基板アンローダ
出願人
株式会社レクザム
代理人
個人
,
個人
主分類
B07C
5/36 20060101AFI20250616BHJP(固体相互の分離;仕分け)
要約
【課題】簡単な構成によってフットプリントを小さくすることができる基板アンローダを提供する。
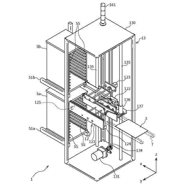
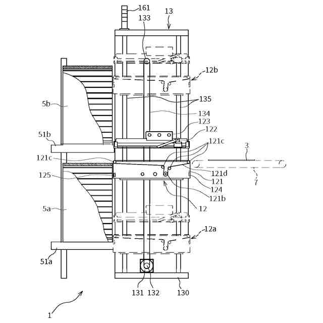
【解決手段】基板アンローダ1は、前段の装置から搬送された基板3を、良品基板及び不良基板が収容される、上下方向に並べて配置された1以上のマガジン5に収容する基板収容ユニット12と、基板収容ユニット12を上下方向に移動させる昇降駆動部13と、1以上のマガジン5に収容される基板3の良否を示す良否情報を受け付ける受付部14と、良品基板と不良基板とがそれぞれ区別可能に1以上のマガジン5に収容されるように、基板収容ユニット12及び昇降駆動部13を制御する制御部15とを備える。このような構成により、マガジン5を上下方向に並べて配置するため、フットプリントを小さくすることができ、マガジン5ではなく、基板収容ユニット12を上下方向に移動させるため、より簡単な構成にすることができる。
【選択図】図1
特許請求の範囲
【請求項1】
前段の装置から搬送された基板を、良品基板及び不良基板が収容される、上下方向に並べて配置された1以上のマガジンに収容する基板収容ユニットと、
前記基板収容ユニットを上下方向に移動させる昇降駆動部と、
前記1以上のマガジンに収容される基板の良否を示す良否情報を受け付ける受付部と、
良品基板と不良基板とがそれぞれ区別可能に前記1以上のマガジンに収容されるように、前記基板収容ユニット及び前記昇降駆動部を制御する制御部と、を備えた基板アンローダ。
続きを表示(約 570 文字)
【請求項2】
前記1以上のマガジンは、良品基板が収容される1以上の良品マガジンと、不良基板が収容される1以上の不良マガジンとを含み、
前記制御部は、良品基板が前記1以上の良品マガジンに収容され、不良基板が前記1以上の不良マガジンに収容されるように、前記基板収容ユニット及び前記昇降駆動部を制御する、請求項1記載の基板アンローダ。
【請求項3】
前記1以上のマガジンはそれぞれ、良品基板と不良基板との両方が収容されるものであり、
前記制御部は、良品基板と不良基板の両方が1個のマガジンに収容されるように、前記基板収容ユニット及び前記昇降駆動部を制御し、
前記1以上のマガジンにおける良品基板が収容された収容位置及び不良基板が収容された収容位置を示す収容位置情報を出力する収容位置情報出力部をさらに備えた、請求項1記載の基板アンローダ。
【請求項4】
前記1以上のマガジンにそれぞれ収容可能な基板の個数である収容可能個数が記憶される記憶部と、
前記基板収容ユニットによってマガジンに収容された基板の個数が、当該マガジンに対応する収容可能個数となった場合に、当該マガジンが満杯になった旨を出力する満杯出力部と、をさらに備えた、請求項1から請求項3のいずれか記載の基板アンローダ。
発明の詳細な説明
【技術分野】
【0001】
本発明は、マガジンに基板を収容する基板アンローダに関する。
続きを表示(約 2,200 文字)
【背景技術】
【0002】
従来、基板検査装置などの前段の装置から搬送された基板をマガジンに収容する基板アンローダにおいて、良品基板を良品基板用のマガジンに収容し、不良基板を不良基板用のマガジンに収容することが行われていた(例えば、特許文献1参照)。
【先行技術文献】
【特許文献】
【0003】
特開平11-309419号公報
【発明の概要】
【発明が解決しようとする課題】
【0004】
従来、例えば、図7A、図7Bの平面図で示されるように、良品基板が収容される良品マガジン5aと、不良基板が収容される不良マガジン5bとが水平方向に並べて配置されており、従来の基板アンローダ101、102によって、良品基板が良品マガジン5aに収容され、不良基板が不良マガジン5bに収容されることが行われていた。例えば、図7Aで示される従来の基板アンローダ101では、良品マガジン5a、及び不良マガジン5bにそれぞれ基板アンローダ101によって直接、基板が収容される。一方、図7Bで示される従来の基板アンローダ102は、まず、基板を不良マガジン5bに収容し、その基板が良品基板であれば、その基板を不良マガジン5bから押し出して、良品マガジン5aに収容するものである。図7Bで示される基板アンローダ102は、上記特許文献1に開示されている基板アンローダである。
【0005】
しかしながら、従来の基板アンローダ101、102では、良品マガジン5a、及び不良マガジン5bを水平方向に並べて配置するため、それに応じて全体としてのフットプリントが大きくなるという問題があった。また、従来の基板アンローダ101、102では、良品マガジン5a、及び不良マガジン5bをそれぞれ昇降させて、目的とする位置に基板を収容するため、2個のエレベーション機構を設ける必要があり、装置が複雑化してコストが増大するという問題もあった。
【0006】
本発明は、上記課題を解決するためになされたものであり、より簡単な構成によって良品基板及び不良基板をマガジンに収容することができると共に、全体としてのフットプリントをより小さくすることができる基板アンローダを提供することを目的とする。
【課題を解決するための手段】
【0007】
上記目的を達成するため、本発明の一態様による基板アンローダは、前段の装置から搬送された基板を、良品基板及び不良基板が収容される、上下方向に並べて配置された1以上のマガジンに収容する基板収容ユニットと、基板収容ユニットを上下方向に移動させる昇降駆動部と、1以上のマガジンに収容される基板の良否を示す良否情報を受け付ける受付部と、良品基板と不良基板とがそれぞれ区別可能に1以上のマガジンに収容されるように、基板収容ユニット及び昇降駆動部を制御する制御部と、を備えたものである。
このような構成により、1以上のマガジンを上下方向に配置することによって、従来例と比較して、全体としてのフットプリントをより小さくすることができる。また、2個のマガジンをそれぞれ上下方向に移動させるのではなく、基板収容ユニットを上下方向に移動させるため、より簡単な構成にすることができる。
【0008】
また、本発明の一態様による基板アンローダでは、1以上のマガジンは、良品基板が収容される1以上の良品マガジンと、不良基板が収容される1以上の不良マガジンとを含み、制御部は、良品基板が1以上の良品マガジンに収容され、不良基板が1以上の不良マガジンに収容されるように、基板収容ユニット及び昇降駆動部を制御してもよい。
このような構成により、良品基板と不良基板とをそれぞれ異なるマガジンに収容することができる。
【0009】
また、本発明の一態様による基板アンローダでは、1以上のマガジンはそれぞれ、良品基板と不良基板との両方が収容されるものであり、制御部は、良品基板と不良基板の両方が1個のマガジンに収容されるように、基板収容ユニット及び昇降駆動部を制御し、1以上のマガジンにおける良品基板が収容された収容位置及び不良基板が収容された収容位置を示す収容位置情報を出力する収容位置情報出力部をさらに備えてもよい。
このような構成により、1個のマガジンに良品基板と不良基板とを混在させた状態で収容することができる。そのため、効率のよい基板の収容を実現することができる。また、収容位置情報が出力されることによって、基板の収容されたマガジンにおいて、良品基板や不良基板がどこに収容されているのかを知ることができるようになる。
【0010】
また、本発明の一態様による基板アンローダでは、1以上のマガジンにそれぞれ収容可能な基板の個数である収容可能個数が記憶される記憶部と、基板収容ユニットによってマガジンに収容された基板の個数が、マガジンに対応する収容可能個数となった場合に、マガジンが満杯になった旨を出力する満杯出力部と、をさらに備えてもよい。
このような構成により、マガジンが満杯になった旨の出力に応じて、満杯になったマガジンを空のマガジンに交換することができる。
【発明の効果】
(【0011】以降は省略されています)
この特許をJ-PlatPat(特許庁公式サイト)で参照する
関連特許
日東精工株式会社
検査装置
3か月前
日清製粉株式会社
篩
3か月前
個人
ゴミ分別システム
1か月前
株式会社タケエイ
振動篩装置
3か月前
株式会社レクザム
基板アンローダ
3か月前
コネクテッドロボティクス株式会社
処理方法
2か月前
キヤノン株式会社
分別装置及び分別方法
2か月前
東芝ライテック株式会社
搬送システム
3か月前
株式会社シンセイ
砂乾燥選別装置
3か月前
日本協同企画株式会社
果菜引継ぎ搬送装置及び果菜箱詰め装置
2か月前
株式会社 東京ウエルズ
ワーク分類装置、ワーク分類方法
1か月前
株式会社山本工作所
空気分散部材及び乾式分離装置
1か月前
アンリツ株式会社
選別装置および物品検査装置
4か月前
アンリツ株式会社
選別装置および物品検査装置
1か月前
株式会社PFU
物体撮像装置および物体認識装置
3か月前
ウエノテックス株式会社
風力選別機および風力選別システム
3か月前
UBE三菱セメント株式会社
長尺物の篩い分け方法、焼却灰の処理方法、及び、振動篩機
1か月前
キヤノン株式会社
識別装置
4か月前
株式会社FUJI
異物除去方法
1か月前
日鉄エンジニアリング株式会社
異物分離装置及び異物分離方法
5日前
個人
複素環式THR-β受容体アゴニスト化合物ならびにその調製方法および使用
2か月前
リジェネックスバイオ インコーポレイテッド
完全ヒト翻訳後修飾抗体による治療剤
1か月前
他の特許を見る