TOP
|
特許
|
意匠
|
商標
特許ウォッチ
Twitter
他の特許を見る
10個以上の画像は省略されています。
公開番号
2025067260
公報種別
公開特許公報(A)
公開日
2025-04-24
出願番号
2023177119
出願日
2023-10-12
発明の名称
鍵盤楽器
出願人
ヤマハ株式会社
代理人
弁理士法人高橋・林アンドパートナーズ
主分類
G10H
1/00 20060101AFI20250417BHJP(楽器;音響)
要約
【課題】合奏をする複数の演奏者が一体感を得られるようにすること
【解決手段】一実施形態における鍵盤楽器は、鍵と、響板と、他の通信拠点における鍵盤楽器に対する演奏内容を含む演奏データを受信する受信部と、演奏データに応じた駆動信号を生成する生成部と、駆動信号に基づいて発音する発音装置と、を含む。演奏データは、鍵盤楽器における鍵押下量を示す鍵位置信号を含む。発音装置は、スピーカまたは響板に接続された加振器を含む。駆動信号は、鍵位置信号に応じた鍵押下量を再現するように鍵を駆動するための第1駆動信号、および鍵位置信号に基づいてスピーカまたは加振器を駆動するための第2駆動信号を含む。生成部は、鍵の押下途中の所定位置において発音されるように、かつ鍵が所定位置に到達するまでに予測した大きさで発音されるように第2駆動信号を生成する。
【選択図】図4
特許請求の範囲
【請求項1】
鍵と、
響板と、
他の通信拠点における鍵盤楽器に対する演奏内容を含む演奏データを受信する受信部と、
前記演奏データに応じた駆動信号を生成する生成部と、
前記駆動信号に基づいて発音する発音装置と、
を含み、
前記演奏データは、前記鍵盤楽器における鍵押下量を示す鍵位置信号を含み、
前記発音装置は、スピーカまたは前記響板に接続された加振器を含み、
前記駆動信号は、前記鍵位置信号に応じた前記鍵押下量を再現するように前記鍵を駆動するための第1駆動信号、および前記鍵位置信号に基づいて前記スピーカまたは前記加振器を駆動するための第2駆動信号を含み、
前記生成部は、前記鍵の押下途中の所定位置において発音されるように、かつ前記鍵が前記所定位置に到達するまでに予測した大きさで発音されるように前記第2駆動信号を生成する、
鍵盤楽器。
続きを表示(約 1,100 文字)
【請求項2】
鍵と、
響板と、
他の通信拠点における鍵盤楽器に対する演奏内容を含む演奏データを受信する受信部と、
前記演奏データに応じた駆動信号を生成する生成部と、
前記駆動信号に基づいて発音する発音装置と、
を含み、
前記演奏データは、前記鍵盤楽器における鍵押下量を示す鍵位置信号を含み、
前記発音装置は、スピーカまたは前記響板に接続された加振器を含み、
前記駆動信号は、前記鍵位置信号に応じた前記鍵押下量を再現するように前記鍵を駆動するための第1駆動信号を含み、
前記生成部は、前記鍵位置信号に基づいてベロシティを演算し、前記ベロシティが所定値以下である場合には、所定値より大きい値に切り上げた値を用いて前記第1駆動信号を生成する、
鍵盤楽器。
【請求項3】
鍵と、
響板と、
他の通信拠点における鍵盤楽器に対する演奏内容を含む演奏データを受信する受信部と、
前記演奏データに応じた駆動信号を生成する生成部と、
前記駆動信号に基づいて発音する発音装置と、
を含み、
前記演奏データは、前記鍵盤楽器における鍵押下量を示す鍵位置信号を含み、
前記発音装置は、スピーカまたは前記響板に接続された加振器を含み、
前記駆動信号は、前記鍵位置信号に応じた前記鍵押下量を再現するように前記鍵を駆動するための第1駆動信号、および前記鍵位置信号に基づいて前記スピーカまたは前記加振器を駆動するための第2駆動信号を含み、
前記生成部は、前記鍵位置信号に基づいてベロシティを演算し、前記ベロシティが所定値以下である場合に発音されるように前記第2駆動信号を生成する、
鍵盤楽器。
【請求項4】
鍵と、
響板と、
他の通信拠点における鍵盤楽器に対する演奏内容を含む演奏データを受信する受信部と、
前記演奏データに応じた駆動信号を生成する生成部と、
前記駆動信号に基づいて発音する発音装置と、
を含み、
前記演奏データは、前記鍵盤楽器における鍵押下量を示す鍵位置信号を含み、
前記発音装置は、スピーカまたは前記響板に接続された加振器を含み、
前記駆動信号は、前記鍵位置信号に応じた前記鍵押下量を再現するように前記鍵を駆動するための第1駆動信号、および前記鍵位置信号に基づいて前記スピーカまたは前記加振器を駆動するための第2駆動信号を含み、
前記生成部は、ベロシティを所定値以下に制御した前記第1駆動信号を生成する、
鍵盤楽器。
発明の詳細な説明
【技術分野】
【0001】
本発明は鍵盤楽器に関する。
続きを表示(約 2,000 文字)
【背景技術】
【0002】
楽器が演奏される複数の通信拠点がネットワークを介して接続されることにより、離れた場所に置いても合奏を可能とする技術が開発されている。快適な合奏を実現するために通信遅延の影響を少なくするための技術が、例えば、特許文献1に開示されている。
【先行技術文献】
【特許文献】
【0003】
特開2005-195982号公報
【発明の概要】
【発明が解決しようとする課題】
【0004】
複数の通信拠点における合奏によれば、同じ場所で行う合奏に比べて、様々な観点で、複数の演奏者が一体感を得られにくい。
【0005】
本発明の目的の一つは、合奏をする複数の演奏者が一体感を得られるようにすることにある。
【課題を解決するための手段】
【0006】
一実施形態における鍵盤楽器は、鍵と、響板と、他の通信拠点における鍵盤楽器に対する演奏内容を含む演奏データを受信する受信部と、演奏データに応じた駆動信号を生成する生成部と、駆動信号に基づいて発音する発音装置と、を含む。演奏データは、鍵盤楽器における鍵押下量を示す鍵位置信号を含む。発音装置は、スピーカまたは響板に接続された加振器を含む。駆動信号は、鍵位置信号に応じた鍵押下量を再現するように鍵を駆動するための第1駆動信号、および鍵位置信号に基づいてスピーカまたは加振器を駆動するための第2駆動信号を含む。生成部は、鍵の押下途中の所定位置において発音されるように、かつ鍵が所定位置に到達するまでに予測した大きさで発音されるように第2駆動信号を生成する。
【発明の効果】
【0007】
本発明によれば、合奏をする複数の演奏者が一体感を得られるようにすることができる。
【図面の簡単な説明】
【0008】
第1実施形態における通信システム構成を説明するための図である。
第1実施形態における自動演奏ピアノの内部構成を説明する図である。
第1実施形態における制御装置の構成を説明する図である。
第1実施形態における合奏制御機能の構成を説明する図である。
第2実施形態における加振器およびピックアップセンサの位置関係を説明する図である。
第2実施形態における駆動信号生成部の構成を説明する図である。
第3実施形態におけるベロシティと遅延時間との関係を説明する図である。
第3実施形態におけるベロシティと補正値との関係を説明する図である。
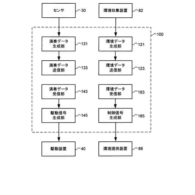
第4実施形態における通信拠点T1における環境収集装置の構成を説明する図である。
第4実施形態における通信拠点T2における環境提供装置の構成を説明する図である。
第5実施形態における制御信号生成部の構成を説明する図である。
第6実施形態におけるスクリーンの表示例を説明する図である。
【発明を実施するための形態】
【0009】
以下、本発明の一実施形態について、図面を参照しながら詳細に説明する。以下に示す実施形態は一例であって、本発明はこれらの実施形態に限定して解釈されるものではない。各実施形態において説明される構成は、他の実施形態に適用することもできる。以下に説明する複数の実施形態で参照する図面において、同一部分または同様な機能を有する部分には同一の符号または類似の符号(数字の後にA、Bなど付しただけの符号)を付し、その繰り返しの説明は省略する場合がある。図面は、説明を明確にするために、構成の一部が図面から省略されたりして、模式的に説明される場合がある。
【0010】
<第1実施形態>
[通信システム]
図1は、一実施形態における通信システムの構成を説明する図である。通信システムは、インターネットなどのネットワークNWに接続されたサーバ1000を含む。サーバ1000は、CPU等の制御部、記憶部および通信部を含む。制御部は、所定のプログラムを実行することにより、通信拠点間における合奏を実現するためのサービスを提供する。サーバ1000は、ネットワークNWに接続された複数の通信拠点間の通信を制御し、各通信拠点における自動演奏ピアノ1が互いにP2P型通信を実現するために必要な処理を実行する。この処理は、公知の方法により実現されればよい。図1では、2つの通信拠点T1、T2が例示されているが、この数に限られず、さらに多くの通信拠点が存在してもよい。以下の説明において、通信拠点T1、T2を区別せずに説明する場合には、単に通信拠点という。
(【0011】以降は省略されています)
この特許をJ-PlatPat(特許庁公式サイト)で参照する
関連特許
ヤマハ株式会社
リード
2か月前
ヤマハ株式会社
イヤーピース
1か月前
ヤマハ株式会社
ドライバユニット
4日前
ヤマハ株式会社
弦楽器用の支持装置
2か月前
ヤマハ株式会社
音処理装置および音処理方法
17日前
ヤマハ株式会社
音処理方法および音処理装置
11日前
ヤマハ株式会社
音処理方法および音処理装置
25日前
ヤマハ株式会社
音処理システム及び音処理方法
3日前
ヤマハ株式会社
収音制御方法および収音制御装置
3日前
ヤマハ株式会社
音声処理方法および音声処理装置
3日前
ヤマハ株式会社
解錠管理方法および解錠管理システム
3日前
ヤマハ株式会社
音信号処理方法および音信号処理装置
3日前
ヤマハ株式会社
駆動装置、音響装置および車両用ドア
7日前
ヤマハ株式会社
データ処理方法およびデータ処理装置
1か月前
ヤマハ株式会社
信号処理の方法、プログラムおよび装置
4日前
ヤマハ株式会社
画像処理方法、画像処理装置及びプログラム
5日前
ヤマハ株式会社
スピーカ装置、音信号処理方法及びプログラム
3日前
ヤマハ株式会社
情報処理システム、情報処理方法およびプログラム
2か月前
ヤマハ株式会社
情報処理システム、動画編集方法およびプログラム
2か月前
ヤマハ株式会社
情報処理方法、情報処理システムおよびプログラム
17日前
ヤマハ株式会社
情報処理システム、情報処理方法およびプログラム
2か月前
ヤマハ株式会社
情報処理システム、情報処理方法およびプログラム
2か月前
ヤマハ株式会社
情報処理方法、情報処理システムおよびプログラム
3日前
ヤマハ株式会社
情報処理システム、情報処理方法およびプログラム
2か月前
ヤマハ株式会社
パネル
1か月前
ヤマハ株式会社
定位提供方法、定位提供システムおよび定位提供プログラム
1か月前
ヤマハ株式会社
スクリーンユニット
27日前
ヤマハ株式会社
オーディオデータ処理装置、推論装置、及びオーディオデータ処理方法
3日前
ヤマハ株式会社
音の処理方法及び音処理装置
3日前
ヤマハ株式会社
演奏操作装置および鍵盤楽器
3日前
ヤマハ株式会社
楽器用検出システムおよび楽器
1か月前
ヤマハ株式会社
情報処理装置、及びその制御方法
1か月前
ヤマハ株式会社
モデルデータ決定方法、モデルデータ決定装置およびモデルデータ決定プログラム
4日前
ヤマハ株式会社
音信号処理方法および音信号処理システム
1か月前
ヤマハ株式会社
楽器用ペダルユニットおよび電子鍵盤装置
1か月前
国立大学法人京都大学
二酸化炭素固定化方法、二酸化炭素固定化懸濁液、二酸化炭素固定化粉末、及び、二酸化炭素固定化装置
2か月前
続きを見る
他の特許を見る