TOP
|
特許
|
意匠
|
商標
特許ウォッチ
Twitter
他の特許を見る
10個以上の画像は省略されています。
公開番号
2025133324
公報種別
公開特許公報(A)
公開日
2025-09-11
出願番号
2024031212
出願日
2024-03-01
発明の名称
音処理方法および音処理装置
出願人
ヤマハ株式会社
代理人
弁理士法人 楓国際特許事務所
主分類
H04S
7/00 20060101AFI20250904BHJP(電気通信技術)
要約
【課題】 本発明の目的は、遠隔会議等において、主たる話者の発言の聞き取りやすさを向上させる音処理方法を提供することである。
【解決手段】 音処理方法は、主たる第1話者および第1話者以外の第2話者の音声を含む音信号を取得し、第1話者の位置情報を取得し、第1話者の位置情報に基づいて、第1話者の音声および第2話者の音声を分離し、第1話者の音声の直接音成分を強調する。
【選択図】 図5
特許請求の範囲
【請求項1】
主たる第1話者および前記第1話者以外の第2話者の音声を含む音信号を取得し、
前記第1話者の位置情報を取得し、
前記第1話者の位置情報に基づいて、前記第1話者の音声および前記第2話者の音声を分離し、
前記第1話者の音声の直接音成分を強調する、
音処理方法。
続きを表示(約 840 文字)
【請求項2】
前記第1話者の音声を前記直接音成分および間接音成分に分離し、
前記間接音成分の低減処理を行う、
請求項1に記載の音処理方法。
【請求項3】
前記直接音成分の周波数特性調整処理を行う、
請求項2に記載の音処理方法。
【請求項4】
前記第2話者の音声を直接音成分および間接音成分に分離し、
前記第2話者の前記直接音成分の低減処理を行う、
請求項3に記載の音処理方法。
【請求項5】
前記第2話者の間接音成分の調整処理を行う、
請求項4に記載の音処理方法。
【請求項6】
前記音信号に基づいて前記第1話者の位置情報を求める、
請求項1乃至請求項5のいずれか1項に記載の音処理方法。
【請求項7】
前記第1話者および前記第2話者の顔画像を含む映像信号を取得し、
前記映像信号に基づいて前記第1話者の位置情報を求める、
請求項1乃至請求項5のいずれか1項に記載の音処理方法。
【請求項8】
前記第1話者の位置情報に基づいて前記第1話者のフレーミング処理を行う、
請求項7に記載の音処理方法。
【請求項9】
前記第1話者の位置情報に基づいて、前記第1話者の直接音成分を定位させる定位処理を行う、
請求項1乃至請求項5のいずれか1項に記載の音処理方法。
【請求項10】
主たる第1話者および前記第1話者以外の第2話者の音声を含む音信号を取得する音信号取得部と、
前記第1話者の位置情報を取得する位置検出部と、
前記第1話者の位置情報に基づいて、前記第1話者の音声および前記第2話者の音声を分離する分離部と、
前記第1話者の音声の直接音成分を強調する音声強調処理部と、を備える
音処理装置。
(【請求項11】以降は省略されています)
発明の詳細な説明
【技術分野】
【0001】
本発明は、遠隔会議等で利用される音処理方法および音処理装置に関する。
続きを表示(約 1,400 文字)
【背景技術】
【0002】
特許文献1には、発話ユーザの音声の音像と、背景音や効果音などの音像をそれぞれ所定の位置に定位させることにより、話者ユーザの音声を聞き取りやすくする情報処理装置が記載されている。
【先行技術文献】
【特許文献】
【0003】
国際公開第2022/54900号
【発明の概要】
【発明が解決しようとする課題】
【0004】
しかしながら、特許文献1の情報処理装置は、音信号の音像の定位する位置を変えることにより、話者ユーザの音声の聞き取りやすさを向上させるものであった。したがって、特許文献1の情報処理装置は、会議に必要な話者ユーザの音声(メインの会話)と、会話に不要な音声(メインの会話以外の発言)を区別して音処理を施すものではない。このため、特許文献1の利用者は、遠隔会議において、メインの会話と、メインの会話以外の発言(雑談、相槌など)を区別することが難しい場合がある。
【0005】
本発明の目的は、遠隔会議等において、主たる話者の発言の聞き取りやすさを向上させる音処理方法を提供することである。
【課題を解決するための手段】
【0006】
本発明の一実施形態の音処理方法は、主たる第1話者および前記第1話者以外の第2話者の音声を含む音信号を取得し、前記第1話者の位置情報を取得し、前記第1話者の位置情報に基づいて、前記第1話者の音声および前記第2話者の音声を分離し、前記第1話者の音声の直接音成分を強調する。
【発明の効果】
【0007】
本発明の音処理方法によれば、主たる話者の発言の聞き取りやすさを向上させることができる。
【図面の簡単な説明】
【0008】
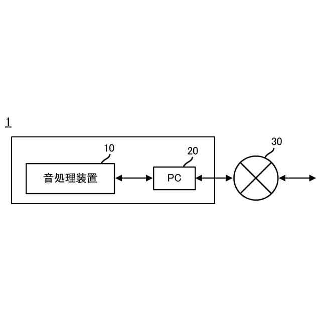
第1の実施形態に係る音処理システム1の構成の一例を示すブロック図である。
第1の実施形態に係る音処理システム1が設置される室内の立体模式図の一例である。
第1の実施形態に係る音処理装置10の構成の一例を示すブロック図である。
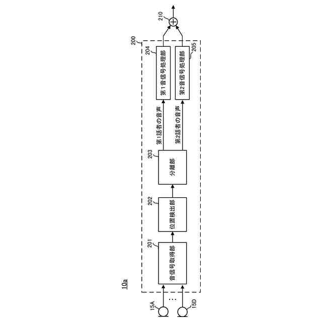
第1の実施形態に係る音処理方法の一例を示す機能ブロック図である。
第1の実施形態に係る音処理方法の一例を示すフローチャートである。
音声信号の直接音信号と間接音信号の関係を示す模式図である。
変形例1に係る音処理方法の一例を示す機能ブロック図である。
変形例2に係る音処理方法の一例を示す機能ブロック図である。
変形例3に係る音処理方法の一例を示す機能ブロック図である。
変形例4に係る音処理方法の一例を示す機能ブロック図である。
会話履歴の一例を示す図である。
【発明を実施するための形態】
【0009】
以降、本発明の実施形態の信号処理装置について図面を参照しながら説明する。各図中には同一箇所に同一符号を付している。変形例1以降では第1の実施形態と共通の事柄についての記述を省略し、異なる点についてのみ説明する。特に、同様の構成による同様の作用・効果については実施形態毎には逐次言及しない。
【0010】
《第1の実施形態》
図1は、本発明の第1の実施形態に係る音処理システム1の構成の一例を示すブロック図である。
(【0011】以降は省略されています)
この特許をJ-PlatPat(特許庁公式サイト)で参照する
関連特許
ヤマハ株式会社
リード
2か月前
ヤマハ株式会社
鍵盤装置
3か月前
ヤマハ株式会社
放音制御装置
1日前
ヤマハ株式会社
イヤーピース
2か月前
ヤマハ株式会社
ドライバユニット
29日前
ヤマハ株式会社
弦楽器用の支持装置
3か月前
ヤマハ株式会社
音処理装置および音処理方法
1か月前
ヤマハ株式会社
音処理方法および音処理装置
1か月前
ヤマハ株式会社
音処理方法および音処理装置
1か月前
ヤマハ株式会社
音処理システム及び音処理方法
28日前
ヤマハ株式会社
音声処理方法および音声処理装置
28日前
ヤマハ株式会社
収音制御方法および収音制御装置
28日前
ヤマハ株式会社
データ処理方法およびデータ処理装置
2か月前
ヤマハ株式会社
駆動装置、音響装置および車両用ドア
1か月前
ヤマハ株式会社
連打判定装置および方法、プログラム
3か月前
ヤマハ株式会社
音信号処理方法および音信号処理装置
28日前
ヤマハ株式会社
解錠管理方法および解錠管理システム
28日前
ヤマハ株式会社
信号処理の方法、プログラムおよび装置
29日前
ヤマハ株式会社
画像処理方法、画像処理装置及びプログラム
1か月前
ヤマハ株式会社
スピーカ装置、音信号処理方法及びプログラム
28日前
ヤマハ株式会社
情報処理方法、情報処理システムおよびプログラム
28日前
ヤマハ株式会社
情報処理方法、情報処理システムおよびプログラム
1か月前
ヤマハ株式会社
情報処理システム、情報処理方法およびプログラム
2か月前
ヤマハ株式会社
情報処理システム、情報処理方法およびプログラム
2か月前
ヤマハ株式会社
情報処理システム、情報処理方法およびプログラム
2か月前
ヤマハ株式会社
情報処理システム、動画編集方法およびプログラム
2か月前
ヤマハ株式会社
情報処理システム、情報処理方法およびプログラム
2か月前
ヤマハ株式会社
情報処理方法、情報処理システム、およびプログラム
3か月前
ヤマハ株式会社
パネル
2か月前
ヤマハ株式会社
定位提供方法、定位提供システムおよび定位提供プログラム
2か月前
ヤマハ株式会社
スピーカ用振動板
3か月前
ヤマハ株式会社
再生データ生成方法
16日前
ヤマハ株式会社
スクリーンユニット
1か月前
ヤマハ株式会社
オーディオデータ処理装置、推論装置、及びオーディオデータ処理方法
28日前
ヤマハ株式会社
音響信号処理装置、楽器、音響信号処理方法および音響信号処理プログラム
4日前
ヤマハ株式会社
演奏操作装置および鍵盤楽器
28日前
続きを見る
他の特許を見る