TOP
|
特許
|
意匠
|
商標
特許ウォッチ
Twitter
他の特許を見る
10個以上の画像は省略されています。
公開番号
2025143792
公報種別
公開特許公報(A)
公開日
2025-10-02
出願番号
2024043228
出願日
2024-03-19
発明の名称
信号処理の方法、プログラムおよび装置
出願人
ヤマハ株式会社
代理人
個人
主分類
H04S
1/00 20060101AFI20250925BHJP(電気通信技術)
要約
【課題】 コンテンツに適した最良の処理によりコンテンツに含まれる音声を明瞭化する。
【解決手段】 コンピュータが、コンテンツのLチャネル信号とRチャネル信号との相関度を解析し、解析した前記相関度に応じて、コンテンツに対し、第1周波数帯域の信号を強調する第1EQ処理311Lおよび311R、並びに第1周波数帯域とは異なる第2周波数帯域の信号を抑制する第2EQ処理312Lおよび312Rの少なくともいずれかを実行する。
【選択図】図1
特許請求の範囲
【請求項1】
コンピュータが、
コンテンツのLチャネル信号とRチャネル信号との相関度を解析し、
解析した前記相関度に応じて、前記コンテンツに対し、第1周波数帯域の信号を強調する第1イコライザ処理、および前記第1周波数帯域とは異なる第2周波数帯域の信号を抑制する第2イコライザ処理の少なくともいずれかを実行する、信号処理方法。
続きを表示(約 790 文字)
【請求項2】
前記相関度が閾値より高い場合に前記第1イコライザ処理を実行し、前記相関度が前記閾値以下の場合に前記第2イコライザ処理を実行する請求項1に記載の信号処理方法。
【請求項3】
前記相関度の増加に応じて、前記第1イコライザ処理の強調の度合を増加させる請求項1に記載の信号処理方法。
【請求項4】
前記相関度の増加に応じて、前記第2イコライザ処理の抑制の度合を減少させる請求項1に記載の信号処理方法。
【請求項5】
前記相関度の増加に応じて、前記第1イコライザ処理の強調の度合を増加させ、前記第2イコライザ処理の抑制の度合を減少させる請求項1に記載の信号処理方法。
【請求項6】
前記第1周波数帯域は音声のフォルマント周波数帯域を含み、前記第2周波数帯域は前記フォルマント周波数帯域と重複しない周波数帯域を含む請求項1に記載の信号処理方法。
【請求項7】
前記コンテンツの属性に基づいて、前記第1イコライザ処理の強調の度合または前記第2イコライザ処理の抑制の度合を調整する請求項1に記載の信号処理方法。
【請求項8】
前記Lチャネル信号および前記Rチャネル信号のセンタ成分に基づいて、前記第1イコライザ処理または前記第2イコライザ処理を調整する請求項1に記載の信号処理方法。
【請求項9】
前記コンテンツの音量に基づき、前記第1イコライザ処理の強調の度合、または前記第2イコライザ処理の抑制の度合を調整する請求項1に記載の信号処理方法。
【請求項10】
周囲の環境騒音に基づき、前記第1イコライザ処理の強調の度合または前記第2イコライザ処理の抑制の度合を調整する請求項1に記載の信号処理方法。
(【請求項11】以降は省略されています)
発明の詳細な説明
【技術分野】
【0001】
この発明は、音声を明瞭化するための信号処理の方法、プログラムおよび装置に関する。
続きを表示(約 1,600 文字)
【背景技術】
【0002】
音声を含む再生音を生成する装置では、音声を聴き取りやすいものにすることが求められる。そのための技術が例えば特許文献1に開示されている。特許文献1に開示された技術では、入力オーディオ信号から第1フォルマント成分および第2フォルマント成分を抽出して増幅し、増幅した第1フォルマント成分および第2フォルマント成分を入力オーディオ信号に加える。
【先行技術文献】
【特許文献】
【0003】
特許第5590021号
【発明の概要】
【発明が解決しようとする課題】
【0004】
しかしながら、フォルマント成分の増幅により得られる音声の明瞭化の効果は、再生音の音源であるコンテンツに依存し、コンテンツによっては、フォルマント成分の増幅が明瞭化のための最適な手段でない場合がある。
【0005】
この発明は以上のような事情に鑑みてなされたものであり、コンテンツに適した最良の処理により、コンテンツに含まれる音声を明瞭化する技術的手段を提供することを目的とする。
【課題を解決するための手段】
【0006】
この発明は、コンテンツのLチャネル信号とRチャネル信号との相関度を解析し、解析した前記相関度に応じて、前記コンテンツに対し、第1周波数帯域の信号を強調する第1イコライザ、および前記第1周波数帯域とは異なる第2周波数帯域の信号を抑制する第2イコライザの少なくともいずれかの処理を実行する、信号処理方法を提供する。
【図面の簡単な説明】
【0007】
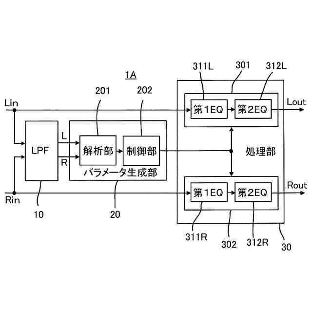
この発明の第1実施形態である信号処理装置の構成を示すブロック図である。
同実施形態の動作を示すフローチャートである。
この発明の第2実施形態である信号処理装置の動作例を示す図である。
同信号処理装置の動作例を示す図である。
同信号処理装置の動作例を示す図である。
この発明の第3実施形態である信号処理装置の構成を示すブロック図である。
この発明の第4実施形態である信号処理装置の構成を示すブロック図である。
この発明の第5実施形態である信号処理装置の構成を示すブロック図である。
この発明の第6実施形態である信号処理装置の構成を示すブロック図である。
この発明の第7実施形態である信号処理装置の構成を示すブロック図である。
この発明の第8実施形態である信号処理装置の構成を示すブロック図である。
【発明を実施するための形態】
【0008】
以下、図面を参照し、この発明の実施形態について説明する。
【0009】
<第1実施形態>
図1はこの発明の第1実施形態である信号処理装置1Aの構成を示すブロック図である。本実施形態による信号処理装置1Aは、スピーカ、ヘッドホン、イヤホン等を有するオーディオ再生機器等に搭載される装置であり、例えばプログラムを記憶したメモリと、このプログラムを実行するプロセッサとを含むコンピュータである。同プロセッサは、同プログラムを実行することにより、LPF(Low Pass Filter)10と、パラメータ生成部20と、処理部30として機能する。また、信号処理装置1Aは、各々電子回路であるLPF10、パラメータ生成部20および処理部30を有するものであってもよい。
【0010】
LPF10は、再生されるコンテンツのLチャネル信号LinおよびRチャネル信号Rinの高域除去を行うことによりスムージング(すなわち、波形の円滑化)されたLチャネル信号LおよびRチャネル信号Rを生成する手段である。
(【0011】以降は省略されています)
この特許をJ-PlatPat(特許庁公式サイト)で参照する
関連特許
ヤマハ株式会社
リード
1か月前
ヤマハ株式会社
鍵盤装置
2か月前
ヤマハ株式会社
鍵盤装置
4か月前
ヤマハ株式会社
鍵盤楽器
5か月前
ヤマハ株式会社
情報処理方法
4か月前
ヤマハ株式会社
音響出力装置
5か月前
ヤマハ株式会社
音響出力装置
5か月前
ヤマハ株式会社
音響出力装置
5か月前
ヤマハ株式会社
イヤーピース
1か月前
ヤマハ株式会社
情報処理方法
4か月前
ヤマハ株式会社
信号処理装置
3か月前
ヤマハ株式会社
発音制御装置
3か月前
ヤマハ株式会社
鍵盤装置用の鍵
3か月前
ヤマハ株式会社
ドライバユニット
3日前
ヤマハ株式会社
弦楽器用の支持装置
2か月前
ヤマハ株式会社
管楽器用部品及び管楽器
4か月前
ヤマハ株式会社
表示方法およびプログラム
4か月前
ヤマハ株式会社
スピーカーユニット取付具
5か月前
ヤマハ株式会社
音処理方法および音処理装置
24日前
ヤマハ株式会社
音処理装置および音処理方法
16日前
ヤマハ株式会社
音処理方法および音処理装置
10日前
ヤマハ株式会社
音処理システム及び音処理方法
2日前
ヤマハ株式会社
信号処理方法および信号処理装置
3か月前
ヤマハ株式会社
収音制御方法および収音制御装置
2日前
ヤマハ株式会社
音声処理方法および音声処理装置
2日前
ヤマハ株式会社
機器制御方法および機器制御装置
4か月前
ヤマハ株式会社
機器制御方法および機器制御装置
4か月前
ヤマハ株式会社
信号処理設計方法およびプロセッサ
3か月前
ヤマハ株式会社
音響調整方法、及び、音響調整装置
4か月前
ヤマハ株式会社
連打判定装置および方法、プログラム
2か月前
ヤマハ株式会社
解錠管理方法および解錠管理システム
2日前
ヤマハ株式会社
音信号処理方法および音信号処理装置
2日前
ヤマハ株式会社
データ処理方法およびデータ処理装置
1か月前
ヤマハ株式会社
駆動装置、音響装置および車両用ドア
6日前
ヤマハ株式会社
信号処理の方法、プログラムおよび装置
3日前
ヤマハ株式会社
音処理装置及び車載オーディオシステム
4か月前
続きを見る
他の特許を見る