TOP
|
特許
|
意匠
|
商標
特許ウォッチ
Twitter
他の特許を見る
公開番号
2025068753
公報種別
公開特許公報(A)
公開日
2025-04-30
出願番号
2023178737
出願日
2023-10-17
発明の名称
音響出力装置
出願人
ヤマハ株式会社
代理人
個人
主分類
H04R
1/00 20060101AFI20250422BHJP(電気通信技術)
要約
【課題】 ラインアレイスピーカの組み立てを容易にする。
【解決手段】 互いに対向する第1面105および第2面105間にドライバユニット200を組み込んだスピーカSPであって、スピーカSPは、同一構造の他のスピーカSPに積み重ねられ、第1面105は、所定の延在方向に延びた溝部121を有し、第2面106は、突起部131を有し、溝部121は、延在方向の一端に突起部131を固定する固定部132を有し、スピーカSPは、他のスピーカSPに積み重ねられたときに、突起部131が他のスピーカの溝部121に係合し、突起部131が、溝部121に沿って他のスピーカSPの固定部132に移動する。
【選択図】図1
特許請求の範囲
【請求項1】
互いに対向する第1面および第2面間にドライバユニットを組み込んだ音響出力装置であって、
前記音響出力装置は、同一構造の他の音響出力装置に積み重ねられ、
前記第1面は、所定の延在方向に延びた溝部を有し、
前記第2面は、突起部を有し、
前記溝部は、前記延在方向の一端または途中に前記突起部を固定する固定部を有し、
前記音響出力装置は、前記他の音響出力装置に積み重ねられたときに、前記突起部が前記他の音響出力装置の前記溝部に係合し、
前記突起部が、前記溝部に沿って前記他の音響出力装置の前記固定部に移動する音響出力装置。
続きを表示(約 520 文字)
【請求項2】
前記溝部は、前記固定部から離れた位置に前記突起部の移動を制限する係止部を有する請求項1に記載の音響出力装置。
【請求項3】
前記第1面は前記音響出力装置の上面であり、前記第2面は前記音響出力装置の下面である請求項1に記載の音響出力装置。
【請求項4】
前記溝部の延在方向は、前記音響出力装置の前後方向である請求項1に記載の音響出力装置。
【請求項5】
前記前後方向を水平方向両側から挟む第3面および第4面を有し、
前記第1面における前記第3面との境界および前記第4面との境界に2本の前記溝部を有し、
前記第2面における前記第3面との境界および前記第4面との境界に2個の前記突起部を有する請求項4に記載の音響出力装置。
【請求項6】
前記第3面および前記第4面は各々把手部を有する請求項5に記載の音響出力装置。
【請求項7】
前記音響出力装置がラウドスピーカである請求項1に記載の音響出力装置。
【請求項8】
前記音響出力装置と前記他の音響出力装置がラインアレイスピーカを構成する請求項1に記載の音響出力装置。
発明の詳細な説明
【技術分野】
【0001】
この発明は、ラインアレイスピーカ、ラウドスピーカ等の音響出力装置に関する。
続きを表示(約 1,400 文字)
【背景技術】
【0002】
ラインアレイスピーカは、音源となるスピーカを縦に一直線に積み重ねて配列した音響出力装置である。このラインアレイスピーカでは、各スピーカの放音方向を調整することで、垂直方向の音の広がりを調整し、狙ったエリアに音を放出することができる。
【0003】
特許文献1は、ラインアレイスピーカを構成するスピーカ実装システムを開示している。このスピーカ実装システムにおいて、第1スピーカは、支持部と結合可能な上側結合部を有する。また、第2スピーカは、第1スピーカの下側結合部と結合可能な上側結合部を有する。このスピーカ実装システムによれば、複数のスピーカを第1スピーカ、第2スピーカ、…という具合に積み重ね、ラインアレイスピーカを構成することができる。
【先行技術文献】
【特許文献】
【0004】
米国特許出願公開第2022/0321982号明細書
【発明の概要】
【発明が解決しようとする課題】
【0005】
しかしながら、特許文献1に開示されたラインアレイスピーカは、スピーカの結合部を目視しながら、各スピーカを結合部に積み上げる必要があり、少人数で、簡単に、かつ、短時間で組み立てることが困難であった。
【0006】
この発明は以上のような事情に鑑みてなされたものであり、ラインアレイスピーカの組み立てを容易にする技術的手段を提供することを目的とする。
【課題を解決するための手段】
【0007】
この発明は、互いに対向する第1面および第2面間にドライバユニットを組み込んだ音響出力装置であって、前記音響出力装置は、同一構造の他の音響出力装置に積み重ねられ、前記第1面は、所定の延在方向に延びた溝部を有し、前記第2面は、突起部を有し、前記溝部は、前記延在方向の一端または途中に前記突起部を固定する固定部を有し、前記音響出力装置は、前記他の音響出力装置に積み重ねられたときに、前記突起部が前記他の音響出力装置の前記溝部に係合し、前記突起部が、前記溝部に沿って前記他の音響出力装置の前記固定部に移動する音響出力装置を提供する。
【図面の簡単な説明】
【0008】
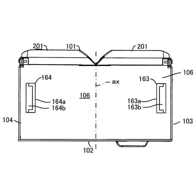
この発明による音響出力装置の一実施形態であるスピーカにより構成されたラインアレイスピ-カを示す側面図である。
同スピーカを上方から見た平面図である。
同スピーカを下方から見た平面図である。
【発明を実施するための形態】
【0009】
以下、図面を参照し、この発明の実施形態について説明する。
【0010】
図1はこの発明による音響出力装置の一実施形態であるスピーカSPにより構成されたラインアレイスピ-カASPを示す側面図である。図1では2個のスピーカSP-1およびSP-2を上下方向に積み重ねることによりラインアレイスピ-カASPが構成されている。スピーカSP-1、SP-2は同一構造を有する。以下、スピーカSP-1、SP-2を区別する必要がない場合は、スピーカSPと総称する。ラインアレイスピ-カASPは3個以上のスピーカSPにより構成されてもよい。図2はスピーカSPを上方から見た平面図である。図3はスピーカSPを下方から見た平面図である。
(【0011】以降は省略されています)
この特許をJ-PlatPat(特許庁公式サイト)で参照する
関連特許
ヤマハ株式会社
リード
2か月前
ヤマハ株式会社
鍵盤装置
2か月前
ヤマハ株式会社
イヤーピース
1か月前
ヤマハ株式会社
ドライバユニット
6日前
ヤマハ株式会社
弦楽器用の支持装置
2か月前
ヤマハ株式会社
音処理方法および音処理装置
13日前
ヤマハ株式会社
音処理装置および音処理方法
19日前
ヤマハ株式会社
音処理方法および音処理装置
27日前
ヤマハ株式会社
音処理システム及び音処理方法
5日前
ヤマハ株式会社
収音制御方法および収音制御装置
5日前
ヤマハ株式会社
音声処理方法および音声処理装置
5日前
ヤマハ株式会社
信号処理方法および信号処理装置
3か月前
ヤマハ株式会社
信号処理設計方法およびプロセッサ
3か月前
ヤマハ株式会社
解錠管理方法および解錠管理システム
5日前
ヤマハ株式会社
音信号処理方法および音信号処理装置
5日前
ヤマハ株式会社
データ処理方法およびデータ処理装置
1か月前
ヤマハ株式会社
駆動装置、音響装置および車両用ドア
9日前
ヤマハ株式会社
連打判定装置および方法、プログラム
2か月前
ヤマハ株式会社
信号処理の方法、プログラムおよび装置
6日前
ヤマハ株式会社
画像処理方法、画像処理装置及びプログラム
7日前
ヤマハ株式会社
スピーカ装置、音信号処理方法及びプログラム
5日前
ヤマハ株式会社
情報処理方法、情報処理システムおよびプログラム
19日前
ヤマハ株式会社
情報処理システム、情報処理方法およびプログラム
2か月前
ヤマハ株式会社
情報処理システム、情報処理方法およびプログラム
2か月前
ヤマハ株式会社
情報処理システム、情報処理方法およびプログラム
2か月前
ヤマハ株式会社
情報処理システム、情報処理方法およびプログラム
2か月前
ヤマハ株式会社
情報処理方法、情報処理システムおよびプログラム
5日前
ヤマハ株式会社
情報処理システム、動画編集方法およびプログラム
2か月前
ヤマハ株式会社
情報処理方法、情報処理システム、およびプログラム
2か月前
ヤマハ株式会社
パネル
1か月前
ヤマハ株式会社
定位提供方法、定位提供システムおよび定位提供プログラム
1か月前
ヤマハ株式会社
演奏操作装置
2か月前
ヤマハ株式会社
スピーカ用振動板
2か月前
ヤマハ株式会社
スクリーンユニット
29日前
ヤマハ株式会社
オーディオデータ処理装置、推論装置、及びオーディオデータ処理方法
5日前
ヤマハ株式会社
加振装置及び加振システム
3か月前
続きを見る
他の特許を見る