TOP
|
特許
|
意匠
|
商標
特許ウォッチ
Twitter
他の特許を見る
10個以上の画像は省略されています。
公開番号
2025070496
公報種別
公開特許公報(A)
公開日
2025-05-02
出願番号
2023180858
出願日
2023-10-20
発明の名称
時計
出願人
セイコーエプソン株式会社
代理人
弁理士法人樹之下知的財産事務所
主分類
G04B
19/28 20060101AFI20250424BHJP(時計)
要約
【課題】低コストでかつ薄型化可能な回転ベゼルを有する時計を提供することにある。
【解決手段】時計は、時刻を表示する指針と、指針を駆動するムーブメントと、ムーブメントを収納する胴と、胴に対して回転可能に設けられた回転ベゼルと、胴に固定される回転ベゼル押さえリングと、を有し、回転ベゼル押さえリングは、径方向外側に延出されて、胴との間で回転ベゼルを保持する突出部を有し、突出部には、複数の規制受け部が円周方向に連続する円環規制部が設けられ、回転ベゼルには、規制受け部と係合する規制部材が設けられ、回転ベゼルを回転すると、規制部材が規制受け部に順次係合することで、回転ベゼルの回転操作にクリック感を発生させて回転ベゼルの位置を規制する。
【選択図】図2
特許請求の範囲
【請求項1】
時刻を表示する指針と、
前記指針を駆動するムーブメントと、
前記ムーブメントを収納する胴と、
前記胴に対して回転可能に設けられた回転ベゼルと、
前記胴に固定される回転ベゼル押さえリングと、を有し、
前記回転ベゼル押さえリングは、径方向外側に突出されて、前記胴との間で前記回転ベゼルを保持する突出部を有し、
前記突出部には、複数の規制受け部が円周方向に連続する円環規制部が設けられ、
前記回転ベゼルには、前記規制受け部と係合する規制部材が設けられ、
前記回転ベゼルを回転すると、前記規制部材が前記規制受け部に順次係合することで、前記回転ベゼルの回転操作にクリック感を発生させて前記回転ベゼルの位置を規制する
ことを特徴とする時計。
続きを表示(約 1,400 文字)
【請求項2】
請求項1に記載の時計において、
前記回転ベゼルは、前記規制部材が前記規制受け部に係合していない状態では、時計回り方向および反時計回り方向の一方である第1方向と、他方である第2方向とに回転可能であり、
前記規制部材は、前記規制受け部に係合する係合部と、前記係合部を前記規制受け部に向かって付勢する付勢部と、を備え、
前記規制受け部は、前記係合部に当接して前記回転ベゼルの前記第2方向への回転を規制する規制面と、前記規制面の内周側端縁から前記第1方向の次の規制面の外周側端縁まで連続して設けられたガイド面とを有し、
前記係合部は、前記回転ベゼルの前記第1方向への回転に伴い、前記ガイド面に案内されて径方向外周側に移動し、前記ガイド面から外れると前記付勢部により径方向内周側に移動して前記規制面に当接して前記回転ベゼルの前記第2方向への回転を規制する
ことを特徴とする時計。
【請求項3】
請求項2に記載の時計において、
前記ガイド面は、前記規制面の前記内周側端縁に連続する内周面と、内周面の前記第1方向の端部から前記第1方向の外周に向かって斜め方向に連続する傾斜面と、前記傾斜面の外周端から前記第1方向に連続する外周面とを備える
ことを特徴とする時計。
【請求項4】
請求項1に記載の時計において、
前記回転ベゼル押さえリングは、内周面に雌ねじ部が形成され、
前記胴は、外周面に雄ねじ部が形成され、
前記回転ベゼル押さえリングは、前記雄ねじ部に前記雌ねじ部を螺合することで前記胴に固定される
ことを特徴とする時計。
【請求項5】
請求項1に記載の時計において、
前記回転ベゼルは、ベゼル本体と、前記規制部材とを備え、
前記ベゼル本体は、前記胴と前記突出部との間に配置されるベース部を有し、
前記規制部材は、前記ベース部に取り付けられた細長のレバー形状の部品であり、一方の端部に前記規制受け部に係合する係合部が設けられている
ことを特徴とする時計。
【請求項6】
請求項5に記載の時計において、
前記規制部材は、
第1軸により前記ベース部に回転可能に取り付けられ、
前記係合部に対して、前記第1軸を挟んだ反対側には、前記ベース部に固定された第2軸に当接する付勢部が設けられている
ことを特徴とする時計。
【請求項7】
請求項1に記載の時計において、
前記胴と前記回転ベゼルとの間にはパッキンが配置されている
ことを特徴とする時計。
【請求項8】
請求項1に記載の時計において、
前記規制部材は複数個設けられ、
前記規制受け部の数をn、前記規制受け部に係合する位相が異なる前記規制部材の数をmとした際に、
前記回転ベゼルを360°/(n×m)回転する毎に、いずれかの前記規制部材が前記規制受け部に係合する
ことを特徴とする時計。
【請求項9】
請求項1に記載の時計において、
前記回転ベゼルは、ベゼル本体と、前記ベゼル本体に着脱可能に取り付けられる表示板と、を備え、
前記表示板は、前記回転ベゼル押さえリングおよび前記規制部材の時計表面側に配置されている
ことを特徴とする時計。
発明の詳細な説明
【技術分野】
【0001】
本発明は回転ベゼルを有する時計に関する。
続きを表示(約 2,600 文字)
【背景技術】
【0002】
従来より、ダイバーズウォッチなど回転ベゼルを有する時計が知られている。回転ベゼルは、カバーガラスの周囲のベゼルを回転可能に装着したものであり、ベゼルの表面には、時計の指針に対応した目盛りなどが表示される。このような回転ベゼルでは、適宜回転させて目盛りと指針との関係を設定することで、ある時点からの経過時間等を容易に読み取る等の機能を得ることができる。
このような回転ベゼル付きの時計において、回転ベゼルの裏面側にクリック溝を形成し、時計のケース側に板バネ部材を装着した時計が知られている(特許文献1参照)。この時計では、板バネ部材をクリック溝に係合することで、回転ベゼルを回転する際のクリック感が得られ、回転ベゼルの逆回転を防止することができる。
【先行技術文献】
【特許文献】
【0003】
特開2015-108512号公報
【発明の概要】
【発明が解決しようとする課題】
【0004】
しかしながら、特許文献1の時計では、適当なクリック感および逆回転防止効果を得るために、板バネ部材の曲げ量を確保する必要があり、ケース側の板バネ部材が取り付けられる溝部から回転ベゼルのクリック溝までの高さが規定される。このため、時計の厚さ寸法を小さくできず、薄型化が難しいという課題がある。
また、クリック溝を回転ベゼルの裏面に円周方向に連続して形成しなければならず、加工工数が増えてコストが増大するという課題もある。
【課題を解決するための手段】
【0005】
本開示の時計は、時刻を表示する指針と、前記指針を駆動するムーブメントと、前記ムーブメントを収納する胴と、前記胴に対して回転可能に設けられた回転ベゼルと、前記胴に固定される回転ベゼル押さえリングと、を有し、前記回転ベゼル押さえリングは、径方向外側に突出されて、前記胴との間で前記回転ベゼルを保持する突出部を有し、前記突出部には、複数の規制受け部が円周方向に連続する円環規制部が設けられ、前記回転ベゼルには、前記規制受け部と係合する規制部材が設けられ、前記回転ベゼルを回転すると、前記規制部材が前記規制受け部に順次係合することで、前記回転ベゼルの回転操作にクリック感を発生させて前記回転ベゼルの位置を規制することを特徴とする。
【図面の簡単な説明】
【0006】
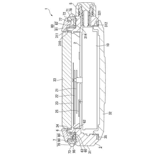
第1実施形態の時計を示す正面図である。
第1実施形態の時計を示す断面図である。
第1実施形態の時計の要部を示す平面図である。
第1実施形態の時計の要部を示す分解斜視図である。
第1実施形態の時計の要部を示す拡大図である。
第1実施形態の回転ベゼルの回転時の動作を示す図である。
第1実施形態の回転ベゼルの回転時の動作を示す図である。
第1実施形態の回転ベゼルの回転時の動作を示す図である。
第2実施形態の時計の要部を示す平面図である。
第3実施形態の時計の要部を示す平面図である。
【発明を実施するための形態】
【0007】
[第1実施形態]
以下、第1実施形態の回転ベゼル付きの時計1について、図面に基づいて説明する。
図1は、第1実施形態の時計1の概略を示す正面図である。図2は、時計1の断面図であり、図3は、時計1の要部を示す平面図であり、図4は時計1の外装部品を示す分解斜視図である。
時計1は、図1および図2に示すように、海中等に潜るダイバーが潜水中に使用するダイバーズウォッチである。時計1は、時刻を表示するための表示部として、円形の文字板2と、時針21、分針22、秒針23と、日車24と、パワーリザーブ針25と、ムーブメント10と、ムーブメント10を内部に収納するケース3と、装着用のバンド4と、時刻合わせ等を行うためのりゅうず5と、ケース3に取り付けられた回転ベゼル押さえリング6と、ケース3に回転可能に設けられるリング状の回転ベゼル7とを備えている。
【0008】
ケース3は、図2に示すように、胴31と、裏蓋32と、カバーガラス33とを備える。胴31は、略円筒状に形成され、胴31の上端部(時計表面側)には、円筒状の保持部310が形成されている。保持部310の内周面には、リング状のパッキン34を介してカバーガラス33が取り付けられている。保持部310の外周面には、図4にも示すように、後述する回転ベゼル押さえリング6がねじ込まれる雄ねじ部311が形成されている。また、胴31は、保持部310の外周側に形成され、後述する回転ベゼル7の裏面に対向する上面314を備えている。
胴31の内周面の下端部(時計裏面側)には、図2に示すように、雌ねじ部312が形成され、雌ねじ部312には、裏蓋32に形成された雄ねじ部321がねじ込まれている。このため、裏蓋32は胴31に対して着脱可能に取り付けられている。また、胴31と、裏蓋32との間には、リング状のパッキン35が配置されている。
【0009】
ケース3の内部には、文字板2と、時針21、分針22、秒針23、日車24、パワーリザーブ針25と、ムーブメント10とが収納されている。本実施形態のムーブメント10は、パワーリザーブ針25で持続時間を表示するゼンマイを有する。すなわち、ムーブメント10は、輪列、ゼンマイ、調速機兼発電機などを有する電子制御式機械時計のムーブメントや、輪列、ゼンマイ、脱進機などを有する機械式時計のムーブメントである。なお、ムーブメント10としては、輪列、ステップモーター、電池等を有する電子時計用のムーブメントでもよい。
【0010】
[回転ベゼル押さえリング]
回転ベゼル押さえリング6は、図4にも示すように、円環状に形成されたリング本体60と、リング本体60の上面に形成されたスパナ溝61と、リング本体60の内周面に形成された雌ねじ部62と、リング本体60の外周面から外周側に突出して形成された突出部63とを備える。
(【0011】以降は省略されています)
この特許をJ-PlatPat(特許庁公式サイト)で参照する
関連特許
個人
砂時計
15日前
個人
目覚し時計
2か月前
個人
休憩報知タイマー
3か月前
個人
時刻同期システム
17日前
セイコーエプソン株式会社
時計
3か月前
個人
自照式の針により認視性を高めたアナログ式時計
2か月前
セイコーエプソン株式会社
電子時計
1か月前
セイコーエプソン株式会社
機械式時計
3か月前
株式会社oneA
目覚まし装置
3か月前
株式会社村田製作所
光学的パターン表示物品
1日前
セイコーエプソン株式会社
電子制御式機械時計
3か月前
シチズン時計株式会社
電子時計
1か月前
セイコーエプソン株式会社
電子制御式機械時計
4か月前
セイコーエプソン株式会社
電子制御式機械時計
3日前
シチズン時計株式会社
機械式時計
1か月前
シチズン時計株式会社
機械式時計
2か月前
セイコーエプソン株式会社
ムーブメント及び時計
3か月前
シチズン時計株式会社
機械式時計
2か月前
カシオ計算機株式会社
装飾板及び時計
2日前
個人
アナログ時計、時間表示方法、および、時間表示プログラム
3か月前
セイコーエプソン株式会社
電子時計
3か月前
セイコータイムクリエーション株式会社
からくり時計
1日前
コマデュール ソシエテ アノニム
防水腕時計ケース
4か月前
カシオ計算機株式会社
制御装置、制御方法、及びプログラム
2日前
セイコーエプソン株式会社
機械式時計
16日前
株式会社5コーポレーション
勉強時間測定装置及び勉強時間測定方法
3か月前
カシオ計算機株式会社
機器ケース及び時計
2か月前
カシオ計算機株式会社
機器ケース及び時計
25日前
カシオ計算機株式会社
電子機器及び電子時計
4か月前
カシオ計算機株式会社
電子機器及び電子時計
4か月前
カシオ計算機株式会社
電子機器及び電子時計
4か月前
セイコーエプソン株式会社
インデックス、文字板、及び時計
29日前
カシオ計算機株式会社
外装部品ユニット及び時計
1日前
カシオ計算機株式会社
電子時計及び電子時計本体
16日前
住友ベークライト株式会社
計時装置、計時方法および検査装置
3か月前
モントレー ブレゲ・エス アー
表示機構のための調整システム
3か月前
続きを見る
他の特許を見る