TOP
|
特許
|
意匠
|
商標
特許ウォッチ
Twitter
他の特許を見る
10個以上の画像は省略されています。
公開番号
2025142571
公報種別
公開特許公報(A)
公開日
2025-10-01
出願番号
2024042013
出願日
2024-03-18
発明の名称
電子制御式機械時計
出願人
セイコーエプソン株式会社
代理人
個人
,
個人
,
個人
主分類
G04C
10/00 20060101AFI20250924BHJP(時計)
要約
【課題】持続時間を長くでき、かつ、ムーブメントの大型化を抑制できる電子制御式機械時計の提供。
【解決手段】電子制御式機械時計は、ゼンマイと、ゼンマイの機械的エネルギーを伝達する輪列と、輪列で駆動されて時刻を表示する指針と、輪列の回転周期を制御する調速機と、調速機を制御する制御手段と、機械的エネルギーを電気エネルギーに変換する発電機と、電気エネルギーを蓄電し、制御手段に電気エネルギーを供給する第1蓄電装置と、電気エネルギーを蓄電可能な第2蓄電装置と、第1蓄電装置および第2蓄電装置を並列に接続可能な接続回路とを備え、接続回路は、第1蓄電装置および第2蓄電装置間を接続する第1状態と、第1蓄電装置および第2蓄電装置間を、単位時間当たりの電荷の移動量が第1状態よりも少ない状態で接続する第2状態と、第1蓄電装置および第2蓄電装置間を切断する第3状態と、の少なくとも3つの状態に切り替え可能である。
【選択図】図2
特許請求の範囲
【請求項1】
ゼンマイと、
前記ゼンマイの機械的エネルギーを伝達する輪列と、
前記輪列によって駆動されて時刻を表示する指針と、
前記輪列の回転周期を制御する調速機と、
前記調速機を制御する制御手段と、
前記機械的エネルギーを電気エネルギーに変換する発電機と、
前記発電機の電気エネルギーを蓄電し、前記制御手段に電気エネルギーを供給する第1蓄電装置と、
電気エネルギーを蓄電可能な第2蓄電装置と、
前記第1蓄電装置および前記第2蓄電装置を並列に接続可能な接続回路と、を備え、
前記接続回路は、
前記第1蓄電装置および前記第2蓄電装置を接続する第1状態と、
前記第1蓄電装置および前記第2蓄電装置を、単位時間当たりの電荷の移動量が前記第1状態よりも少ない状態で接続する第2状態と、
前記第1蓄電装置および前記第2蓄電装置間を切断する第3状態と、
の少なくとも3つの状態に切り替え可能である
ことを特徴とする電子制御式機械時計。
続きを表示(約 1,200 文字)
【請求項2】
請求項1に記載の電子制御式機械時計において、
前記接続回路は、
前記第1蓄電装置の電圧が第1閾値以上、かつ、前記第2蓄電装置の電圧が第2閾値以上の場合に、前記第1状態とされ、
前記第1蓄電装置の電圧が前記第1閾値以上、かつ、前記第2蓄電装置の電圧が前記第2閾値未満の場合に、前記第2状態とされ、
前記第1蓄電装置の電圧が前記第1閾値未満の場合に、前記第3状態とされる
ことを特徴とする電子制御式機械時計。
【請求項3】
請求項1に記載の電子制御式機械時計において、
前記接続回路は、
前記第1蓄電装置と前記第2蓄電装置とを接続するスイッチを備え、
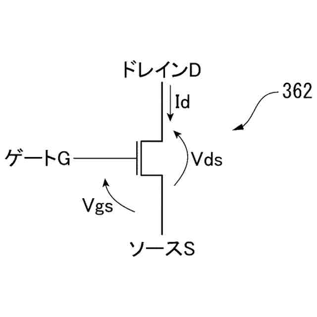
前記スイッチは、金属酸化膜半導体電界効果トランジスターで構成され、前記金属酸化膜半導体電界効果トランジスターのゲートに入力する制御信号の電圧レベルにより、電荷の移動量を調整可能であり、
前記第2状態は、前記ゲートに入力する前記制御信号の電圧レベルが、前記金属酸化膜半導体電界効果トランジスターの弱反転領域の電圧レベルである
ことを特徴とする電子制御式機械時計。
【請求項4】
請求項1に記載の電子制御式機械時計において、
前記接続回路は、
容量が前記第1蓄電装置よりも小さな第3蓄電装置と、
前記第1蓄電装置および前記第3蓄電装置を接続する第1スイッチと、
前記第3蓄電装置および前記第2蓄電装置を接続する第2スイッチと、を備え、
前記第2状態は、
前記第1スイッチを接続し、前記第2スイッチを切断する第1開閉状態と、
前記第1スイッチを切断し、前記第2スイッチを接続する第2開閉状態と、が交互に繰り返される状態である
ことを特徴とする電子制御式機械時計。
【請求項5】
請求項4に記載の電子制御式機械時計において、
前記第2状態は、前記第1開閉状態と前記第2開閉状態との間に、前記第1スイッチおよび前記第2スイッチの両方を切断する期間が設けられている
ことを特徴とする電子制御式機械時計。
【請求項6】
請求項1に記載の電子制御式機械時計において、
クロック信号を出力する発振手段と、
前記発振手段の停止を検出する発振停止検出手段と、を備え、
前記発振停止検出手段で前記発振手段の停止を検出している場合は、前記接続回路を前記第3状態に切り替える
ことを特徴とする電子制御式機械時計。
【請求項7】
請求項1に記載の電子制御式機械時計において、
前記発電機で発電される電気エネルギーを検出する検出手段を備え、
前記接続回路は、
前記検出手段で検出した前記電気エネルギーに応じて、前記第2状態における単位時間当たりの電荷の移動量を変更する
ことを特徴とする電子制御式機械時計。
発明の詳細な説明
【技術分野】
【0001】
本発明は、電子制御式機械時計に関する。
続きを表示(約 2,300 文字)
【背景技術】
【0002】
ゼンマイが開放する時の機械的エネルギーによって発電機を駆動して発生させた電気エネルギーを第1蓄電装置に蓄え、第1蓄電装置から供給された電気エネルギーにより回転制御装置を駆動して発電機の回転周期を制御することにより、輪列で運針される指針を正確に駆動して正確に時刻を表示する電子制御式機械時計が知られている(特許文献1参照)。
【0003】
特許文献1の電子制御式機械時計では、ソーラー発電装置等の付加発電機および第2蓄電装置を備える付加電源装置を設け、第1蓄電装置の電圧が低下した場合に付加電源装置から電気エネルギーを供給することで、持続時間を延長することが開示されている。
【先行技術文献】
【特許文献】
【0004】
特開2000-214271号公報
【発明の概要】
【発明が解決しようとする課題】
【0005】
特許文献1の電子制御式機械時計では、機械的エネルギーで発電する発電機とは別に、付加発電機等を備える付加電源装置を設けるため、時計のムーブメントが大型化するという課題があった。
【課題を解決するための手段】
【0006】
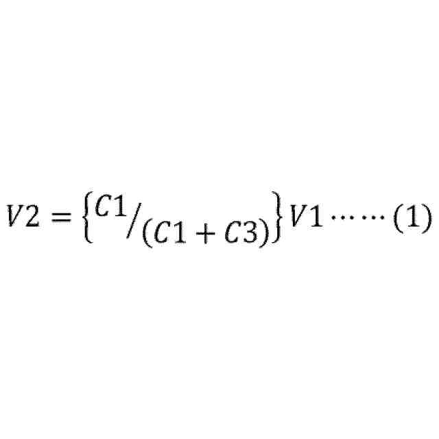
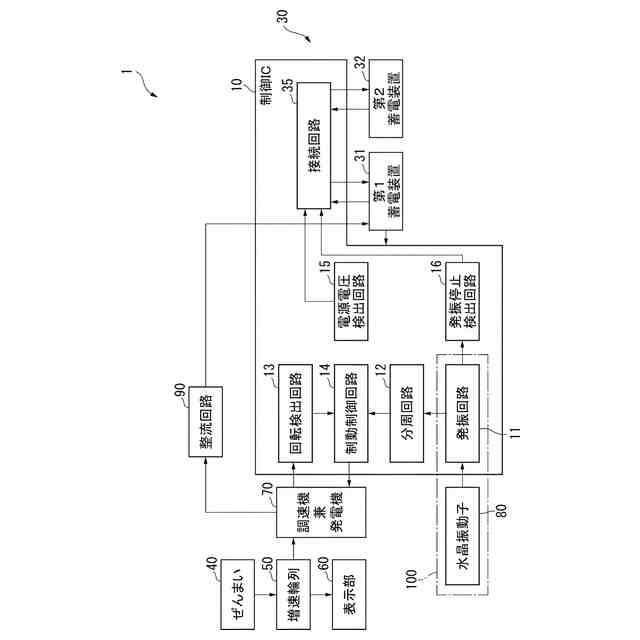
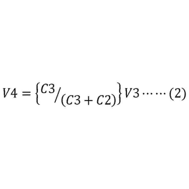
本開示の電子制御式機械時計は、ゼンマイと、前記ゼンマイの機械的エネルギーを伝達する輪列と、前記輪列によって駆動されて時刻を表示する指針と、前記輪列の回転周期を制御する調速機と、前記調速機を制御する制御手段と、前記機械的エネルギーを電気エネルギーに変換する発電機と、前記発電機の電気エネルギーを蓄電し、前記制御手段に電気エネルギーを供給する第1蓄電装置と、電気エネルギーを蓄電可能な第2蓄電装置と、前記第1蓄電装置および前記第2蓄電装置を並列に接続可能な接続回路と、を備え、前記接続回路は、前記第1蓄電装置および前記第2蓄電装置を接続する第1状態と、前記第1蓄電装置および前記第2蓄電装置を、単位時間当たりの電荷の移動量が前記第1状態よりも少ない状態で接続する第2状態と、前記第1蓄電装置および前記第2蓄電装置間を切断する第3状態と、の少なくとも3つの状態に切り替え可能であることを特徴とする。
【図面の簡単な説明】
【0007】
第1実施形態の電子制御式機械時計を示す正面図である。
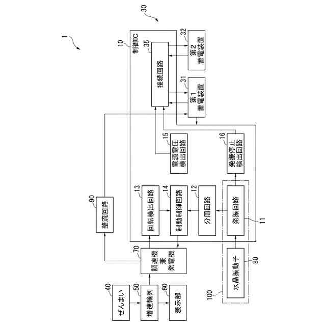
第1実施形態の電子制御式機械時計の構成を示すブロック図である。
第1実施形態の接続回路および蓄電装置を示す回路図である。
第1実施形態のスイッチのPMOSトランジスターを示す図である。
第1実施形態のスイッチのNMOSトランジスターを示す図である。
第1実施形態のMOSFETのゲート電圧とドレイン電流との関係を示すグラフである。
第1実施形態のMOSFETのゲート電圧とドレイン電流との関係を示す片対数グラフである。
第1実施形態の接続回路のゲート入力信号生成回路を示す回路図である。
第1実施形態のスイッチ制御用の検出信号とスイッチの状態とを示す図である。
第1実施形態の第1蓄電装置および第2蓄電装置の電圧変化を示すグラフである。
第2実施形態の電子制御式機械時計の構成を示すブロック図である。
第2実施形態の接続回路および蓄電装置を示す回路図である。
第2実施形態のスイッチ制御用の検出信号とスイッチの状態とを示す図である。
第2実施形態の発振停止検出信号とスイッチ制御信号とを示すタイミングチャートである。
第2実施形態の第1蓄電装置、第2蓄電装置、第3蓄電装置の電圧変化を示すグラフである。
【発明を実施するための形態】
【0008】
[第1実施形態]
以下、本開示の第1実施形態の電子制御式機械時計1を図面に基づいて説明する。
図1は、電子制御式機械時計1を示す正面図である。図1に示すように、電子制御式機械時計1は、ユーザーの手首に装着される腕時計であり、円筒状の外装ケース2を備え、外装ケース2の内周側に、文字板3が配置されている。外装ケース2の二つの開口のうち、表面側の開口は、カバーガラスで塞がれており、裏面側の開口は裏蓋で塞がれている。
【0009】
電子制御式機械時計1は、外装ケース2内に収容された図示略のムーブメントと、時刻情報を表示する指針4とを備えている。指針4は、時針4A、分針4B、秒針4Cで構成される。文字板3には、カレンダー小窓3Aが設けられており、カレンダー小窓3Aから、日車6が視認可能となっている。また、文字板3には、時刻を指示するためのアワーマーク3Bや、パワーリザーブ針5で持続時間を指示する扇形のサブダイヤル3Cが設けられている。
【0010】
外装ケース2の側面には、りゅうず7が設けられている。りゅうず7は、電子制御式機械時計1の中心に向かって押し込まれた0段位置から1段位置および2段位置に引き出されて移動することができる。
りゅうず7を1段位置に引いて回転すると、日車6を移動して日付を合わせることができる。りゅうず7を2段位置に引くと秒針4Cが停止し、2段位置でりゅうず7を回転すると、時針4A、分針4Bが移動して時刻を合わせることができる。りゅうず7による日車6や時針4A、分針4Bの修正方法は、従来の時計と同様であるため説明を省略する。
(【0011】以降は省略されています)
この特許をJ-PlatPat(特許庁公式サイト)で参照する
関連特許
セイコーエプソン株式会社
印刷装置
2日前
セイコーエプソン株式会社
印刷装置
2日前
セイコーエプソン株式会社
印刷装置
今日
セイコーエプソン株式会社
印刷装置
2日前
セイコーエプソン株式会社
印刷装置
今日
セイコーエプソン株式会社
印刷装置
2日前
セイコーエプソン株式会社
気体分離膜
2日前
セイコーエプソン株式会社
画像読取装置
2日前
セイコーエプソン株式会社
液体吐出ヘッド
2日前
セイコーエプソン株式会社
電子制御式機械時計
今日
セイコーエプソン株式会社
スクリーンの製造方法
2日前
セイコーエプソン株式会社
治具、及び加工システム
2日前
セイコーエプソン株式会社
保持方法、及び加工方法
2日前
セイコーエプソン株式会社
三次元造形物の製造方法
2日前
セイコーエプソン株式会社
電気光学装置および電子機器
2日前
セイコーエプソン株式会社
インクジェットインク組成物
2日前
セイコーエプソン株式会社
虚像表示装置及び光学ユニット
2日前
セイコーエプソン株式会社
管理サーバ、及び管理システム
2日前
セイコーエプソン株式会社
虚像表示装置及び光学ユニット
2日前
セイコーエプソン株式会社
媒体排出装置及び画像読取装置
2日前
セイコーエプソン株式会社
虚像表示装置及び光学ユニット
2日前
セイコーエプソン株式会社
虚像表示装置及び光学ユニット
2日前
セイコーエプソン株式会社
虚像表示装置及び光学ユニット
2日前
セイコーエプソン株式会社
虚像表示装置及び光学ユニット
2日前
セイコーエプソン株式会社
制御方法およびロボットシステム
2日前
セイコーエプソン株式会社
プリントヘッド、及び液体吐出装置
2日前
セイコーエプソン株式会社
ヘッドユニット、及び液体吐出装置
今日
セイコーエプソン株式会社
表示装置および表示装置の制御方法
2日前
セイコーエプソン株式会社
ヘッドユニット、及び液体吐出装置
2日前
セイコーエプソン株式会社
撮像制御プログラム、及び、印刷システム
2日前
セイコーエプソン株式会社
三次元造形物の製造システム、及び、保持部
2日前
セイコーエプソン株式会社
プログラムの更新方法及び情報処理システム
2日前
セイコーエプソン株式会社
テープ印刷装置およびテープ印刷装置の制御方法
2日前
セイコーエプソン株式会社
軟磁性粉末、圧粉磁心、磁性素子および電子機器
2日前
セイコーエプソン株式会社
情報管理システム、管理装置、プログラム、及びサーバー
今日
セイコーエプソン株式会社
情報管理システム、管理装置、プログラム、及びサーバー
今日
続きを見る
他の特許を見る