TOP
|
特許
|
意匠
|
商標
特許ウォッチ
Twitter
他の特許を見る
10個以上の画像は省略されています。
公開番号
2025144636
公報種別
公開特許公報(A)
公開日
2025-10-03
出願番号
2024044379
出願日
2024-03-21
発明の名称
外装部品ユニット及び時計
出願人
カシオ計算機株式会社
代理人
弁理士法人光陽国際特許事務所
主分類
G04B
45/00 20060101AFI20250926BHJP(時計)
要約
【課題】ねじ部品を用いずに外装部品を時計ケースに好適に固定する。
【解決手段】ベゼルユニット3は、開口21を有する時計ケース2の上側に開口21を取り囲むように固定され、脆性材料からなるトップベゼル7と、時計ケース2の側方に配置されて当該側方への移動を規制するように時計ケース2に固定され、かつ、トップベゼル7によって上向きの移動が規制され、脆性材料からなるフロントベゼル4及びサイドベゼル5と、を備えている。
【選択図】図2
特許請求の範囲
【請求項1】
開口を有する時計ケースの上側に前記開口を取り囲むように固定される、脆性材料からなる第1部品と、
前記時計ケースの側方に配置されて側方への移動を規制するように前記時計ケースに固定され、かつ、前記第1部品によって上向きの移動が規制される、脆性材料からなる第2部品と、
を備える外装部品ユニット。
続きを表示(約 1,000 文字)
【請求項2】
前記第1部品は、前記時計ケースの前記開口を閉塞する風防部材の周囲を取り囲むように前記時計ケースに固定される、
請求項1に記載の外装部品ユニット。
【請求項3】
前記時計ケースは金属製であり、
前記第1部品の内側面と前記時計ケースの上部との間に、固定部材が配置されている、
請求項2に記載の外装部品ユニット。
【請求項4】
前記風防部材と前記時計ケースとの間に介在する第1パッキンと、
前記第1部品と前記時計ケースとの間に介在する第2パッキンと、を備え、
前記第2パッキンは前記第1パッキンよりも硬度が低い、
請求項2に記載の外装部品ユニット。
【請求項5】
前記第2部品は、前記時計ケースの側面との間に介在するパッキン或いは接着剤、又は、前記時計ケースの段差面との間に介在する粘着テープにより、前記時計ケースの側方への移動が規制される、
請求項1に記載の外装部品ユニット。
【請求項6】
前記第2部品は、前記時計ケースの側方に複数が配置され、
前記複数の第2部品のうち隣り合う2つの間に配置され、脆性材料からなる第3部品をさらに備え、
前記第3部品は、前記隣り合う2つの第2部品との間に介在する金属製部材に接着され、
前記金属製部材は、前記時計ケースに係止されて外側方の移動が規制される、
請求項1に記載の外装部品ユニット。
【請求項7】
前記第2部品は、前記時計ケースの側方に複数が配置され、
前記複数の第2部品のうち隣り合う2つの間に配置され、脆性材料からなる第3部品をさらに備え、
前記第3部品は、前記隣り合う2つの第2部品との間に金属製部材を介在させた状態で、当該隣り合う2つの第2部品により外側方への移動が規制される、
請求項1に記載の外装部品ユニット。
【請求項8】
時計モジュールと、
前記時計モジュールを収容し、開口を有する時計ケースと、
前記時計ケースの上側に前記開口を取り囲むように固定される、脆性材料からなる第1部品と、
前記時計ケースの側方に配置されて側方への移動を規制するように前記時計ケースに固定され、かつ、前記第1部品によって上向きの移動が規制される、脆性材料からなる第2部品と、
を備える時計。
発明の詳細な説明
【技術分野】
【0001】
本発明は、外装部品ユニット及び時計に関する。
続きを表示(約 1,900 文字)
【背景技術】
【0002】
特許文献1には、リューズ用の保護部材を備える腕時計が開示されている。保護部材は外装ケースの側面にボルトで固定されている。この保護部材のような外装部品に、例えばサファイア等の脆性材料を適用しよう等すると、破損しやすくなるためにボルト穴を加工できなくなる。
【先行技術文献】
【特許文献】
【0003】
特開2021-169968号公報
【発明の概要】
【発明が解決しようとする課題】
【0004】
本発明は、上記事情に鑑みてなされたもので、ボルト等のねじ部品を用いずに外装部品を時計ケースに好適に固定することを目的とする。
【課題を解決するための手段】
【0005】
前記目的を達成するために、本発明の外装部品ユニットは、
開口を有する時計ケースの上側に前記開口を取り囲むように固定される、脆性材料からなる第1部品と、
前記時計ケースの側方に配置されて側方への移動を規制するように前記時計ケースに固定され、かつ、前記第1部品によって上向きの移動が規制される、脆性材料からなる第2部品と、
を備える。
【発明の効果】
【0006】
本発明によれば、ねじ部品を用いずに外装部品を時計ケースに好適に固定することができる。
【図面の簡単な説明】
【0007】
実施形態に係る時計の要部の正面図である。
実施形態に係る時計の要部の分解斜視図である。
図1のIII線での時計の部分断面図である。
図1のIV線での時計の部分断面図である。
実施形態に係るサイドベゼルと時計ケースの当接面を示す図である。
図1のVI線での時計の部分断面図である。
実施形態に係る角ベゼルの分解斜視図である。
図1のVIII線での時計の部分断面図である。
角ベゼルの固定構造の変形例を示す分解斜視図である。
角ベゼルの固定構造の変形例を説明するための断面図であって、(A)図1のIX線の位置での断面図であり、(B)図1のX線の位置での断面図である。
実施形態の変形例に係る時計の要部の正面図である。
【発明を実施するための形態】
【0008】
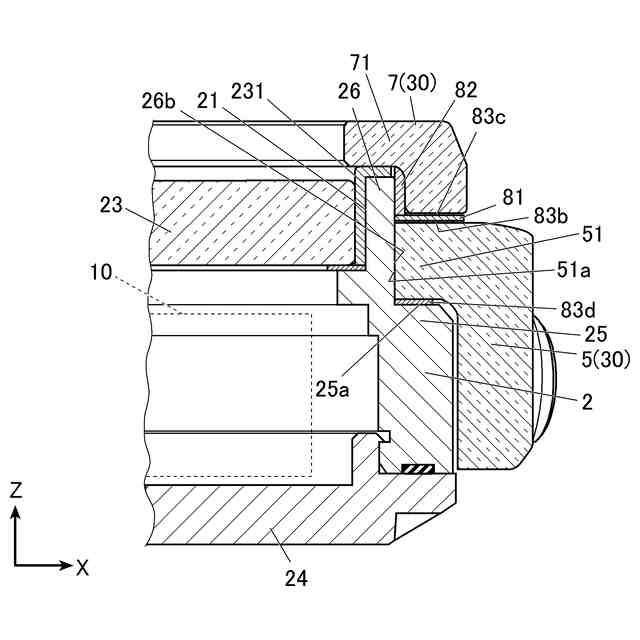
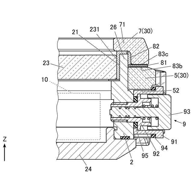
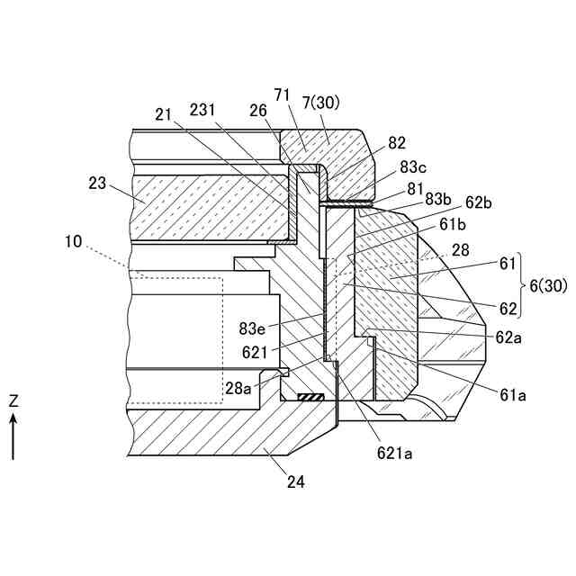
以下、本発明の実施形態について、図面を参照して説明する。図1及び図2に示すように、本実施形態に係る時計100は、ユーザの手首に装着される腕時計である。具体的に、時計100は、時計ケース2とベゼルユニット3を備えている。なお、以下の説明において、時計100におけるXYZの各方向は、各図に示した向きをいう。つまり、X方向はアナログ式の時計における3時-9時方向をいい、Y方向は12時-6時方向をいい、Z方向は時計100(時計ケース2)の正面-背面方向をいう。Z方向のうち、視認側である正面側を「上側(上方)」、背面側を「下側(下方)」という。また、Z方向に沿った時計ケース2の中心軸Axに垂直な方向を「径方向」、中心軸Axを中心とする回転方向を「周方向」といい、中心軸Axに直交する面内において中心軸Axに近い側を「内側(内径側)」、遠い側を「外側(外径側)」という。
【0009】
時計ケース2は、正面視(上面視)で略四角筒状に形成され、正面側(上側)の開口21が可視光を透過する透明の風防部材23で、背面側(下側)の開口部が裏蓋24(図3等参照)で、それぞれ閉塞されている。時計ケース2の材料(素材)は、例えばチタンやステンレス等の金属、又はカーボン等の硬質樹脂である。ただし、時計ケース2は剛体であればよく、その素材は脆性材料以外であれば特に限定されない。時計ケース2の内部には、時計モジュール10(図3等参照)が収容される。時計モジュール10には、例えば、時刻を表示する時刻表示部、電源である電池、制御回路が実装された回路基板等が含まれる。なお、時計ケース2の上面視形状は四角筒状に限定されず、例えば四角形以外の多角形状であってもよいし、円形等であってよい。
【0010】
図2及び図3に示すように、時計ケース2の外側面には、上側から下側に向かって段階的に外径側に位置する段付き部25が、略全周に亘って形成されている。段付き部25は、Z方向に略直交して上側を向いた段面25aを有する。時計ケース2のうち段付き部25よりも上側の部分は、上面視で角丸四角筒状の筒状部26となっている。筒状部26の内径側の開口21には、第1パッキン231を介して風防部材23が嵌合されている。
(【0011】以降は省略されています)
この特許をJ-PlatPat(特許庁公式サイト)で参照する
関連特許
カシオ計算機株式会社
支持台
2日前
カシオ計算機株式会社
減音器具
4日前
カシオ計算機株式会社
減音器具
4日前
カシオ計算機株式会社
電子鍵盤楽器
2日前
カシオ計算機株式会社
装飾板及び時計
3日前
カシオ計算機株式会社
光源装置及び投影装置
4日前
カシオ計算機株式会社
光源装置及び投影装置
4日前
カシオ計算機株式会社
光源装置及び投影装置
16日前
カシオ計算機株式会社
端末装置及びプログラム
4日前
カシオ計算機株式会社
外装部品ユニット及び時計
2日前
カシオ計算機株式会社
電子機器、及び表示制御方法
6日前
カシオ計算機株式会社
カッターユニット及び切断装置
2日前
カシオ計算機株式会社
制御装置、方法およびプログラム
6日前
カシオ計算機株式会社
補助バスマスタ回路及び電子機器
6日前
カシオ計算機株式会社
演奏装置、方法およびプログラム
4日前
カシオ計算機株式会社
制御装置、方法およびプログラム
6日前
カシオ計算機株式会社
演奏装置、方法およびプログラム
3日前
カシオ計算機株式会社
ロボット、及びロボットの製造方法
2日前
カシオ計算機株式会社
外装部品、外装部品ユニット及び時計
2日前
カシオ計算機株式会社
制御装置、制御方法、及びプログラム
3日前
カシオ計算機株式会社
情報処理装置、方法およびプログラム
2日前
カシオ計算機株式会社
プログラム、電子機器及び登録処理方法
2日前
カシオ計算機株式会社
電子機器、登録処理方法及びプログラム
2日前
カシオ計算機株式会社
情報処理装置、表示方法、及びプログラム
6日前
カシオ計算機株式会社
情報処理装置、プログラム及び情報処理方法
2日前
カシオ計算機株式会社
情報提供装置、情報提供方法及びプログラム
4日前
カシオ計算機株式会社
音声提供装置、音声提供方法及びプログラム
2日前
カシオ計算機株式会社
電子時計、電子時計の制御方法及びプログラム
6日前
カシオ計算機株式会社
電子機器、電子機器の制御方法及びプログラム
6日前
カシオ計算機株式会社
印刷装置、印刷装置の制御方法及びプログラム
2日前
カシオ計算機株式会社
電子楽器、電子楽器の制御方法及びプログラム
2日前
カシオ計算機株式会社
情報処理装置、表示制御方法、及びプログラム
2日前
カシオ計算機株式会社
投影装置、投影装置の調整方法及びプログラム
3日前
カシオ計算機株式会社
投影装置、投影装置の調整方法及びプログラム
3日前
カシオ計算機株式会社
情報処理装置、表示制御方法、及び、プログラム
4日前
カシオ計算機株式会社
情報処理装置、表示制御方法、及び、プログラム
2日前
続きを見る
他の特許を見る