TOP
|
特許
|
意匠
|
商標
特許ウォッチ
Twitter
他の特許を見る
公開番号
2025143844
公報種別
公開特許公報(A)
公開日
2025-10-02
出願番号
2024043303
出願日
2024-03-19
発明の名称
装飾板及び時計
出願人
カシオ計算機株式会社
代理人
弁理士法人光陽国際特許事務所
主分類
G04B
19/06 20060101AFI20250925BHJP(時計)
要約
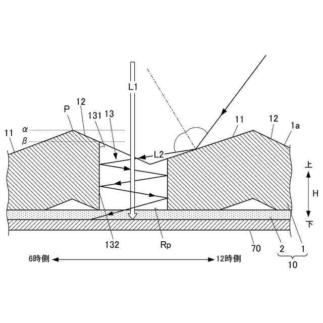
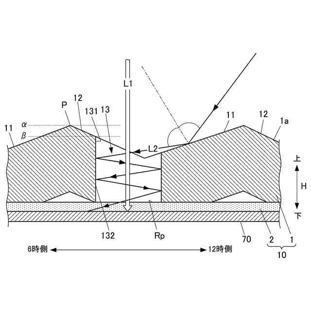
【課題】意匠性の高い構成でソーラーセルへの光の入射効率の向上を図る。
【解決手段】装飾板である文字板10が、ソーラーセル70の一方の面側に配置された装飾板であって、一側である6時側(時計装着時の親指側)から他側である12時側(時計装着時の小指側)に向ってソーラーセル側から上っていく第1の傾斜面11が、一側から他側に掛けて複数形成され、隣り合う第1の傾斜面11間の少なくとも一部には、貫通孔である透光部13が形成され、透光部13の一側に位置する文字板10(装飾板)の領域と、透光部13の他側に位置する文字板10(装飾板)の領域と、は平面視で重ならない位置に設けられている。
【選択図】図4
特許請求の範囲
【請求項1】
ソーラーセルの一方の面側に配置された装飾板であって、
一側から他側に向って前記ソーラーセル側から上っていく第1の傾斜面が、前記一側から前記他側に掛けて複数形成され、
隣り合う前記第1の傾斜面間の少なくとも一部には、貫通孔が形成され、
前記貫通孔の前記一側に位置する前記装飾板の領域と、前記貫通孔の前記他側に位置する前記装飾板の領域と、は平面視で重ならない位置に設けられている、
ことを特徴とする装飾板。
続きを表示(約 750 文字)
【請求項2】
前記貫通孔の前記一側に位置する前記装飾板の前記貫通孔の開口面は、前記ソーラーセルの受光面と略直交する方向、または前記ソーラーセルの受光面に対して鋭角に形成されている、
ことを特徴とする請求項1に記載の装飾板。
【請求項3】
前記一側から前記他側に向って前記ソーラーセル側に下っていく第2の傾斜面が形成され、
前記第1の傾斜面と前記第2の傾斜面とにより断面視谷形状になっている、
ことを特徴とする請求項1に記載の装飾板。
【請求項4】
前記一側は、時計の腕への装着時における親指側であり、前記他側は、時計の腕への装着時における小指側である、
ことを特徴とする請求項1に記載の装飾板。
【請求項5】
前記貫通孔の開口面は、前記第2の傾斜面の頂点よりも低い位置に形成されている、
ことを特徴とする請求項3に記載の装飾板。
【請求項6】
前記断面視谷形状は、断面視略V字状である、
ことを特徴とする請求項3に記載の装飾板。
【請求項7】
前記装飾板に形成された前記貫通孔は、時計の腕への装着時における腕の長手方向に長いスリット状であり、各前記断面視谷形状に複数並んで配置され、
前記貫通孔は、千鳥状に配置されている、
ことを特徴とする請求項3に記載の装飾板。
【請求項8】
表面に金属蒸着膜が形成されている、
ことを特徴とする請求項1に記載の装飾板。
【請求項9】
請求項1から請求項8のいずれか一項に記載の装飾板と、
前記ソーラーセルと、
を含む、
ことを特徴とする時計。
発明の詳細な説明
【技術分野】
【0001】
本発明は、装飾板及び時計に関する。
続きを表示(約 1,600 文字)
【背景技術】
【0002】
特許文献1には、基板と、基板上に配置され、基板面に対して所定の角度傾斜した複数の装飾体と、を備え、基板面に対して所定の角度傾斜した装飾体の面で反射した光を、ソーラーセルの受光面に入射させる時計用表示板が記載されている。
【先行技術文献】
【特許文献】
【0003】
特開2015-184256号公報
【発明の概要】
【発明が解決しようとする課題】
【0004】
しかしながら、特許文献1の構成では、基板面に対して所定の角度傾斜した装飾体の面で反射した光しか、ソーラーセルの受光面に取り込むことができず、ソーラーセルによって十分な電力を得ることが難しい、という課題がある。
【0005】
本発明はこのような状況の課題を改善し解決するためのものであり、意匠性の高い構成でソーラーセルへの光の入射効率の向上を図ることのできる装飾板及び時計を提供する。
【課題を解決するための手段】
【0006】
前記課題を解決するために、本発明に係る装飾板は、
ソーラーセルの一方の面側に配置された装飾板であって、
一側から他側に向って前記ソーラーセル側から上っていく第1の傾斜面が、前記一側から前記他側に掛けて複数形成され、
隣り合う前記第1の傾斜面間の少なくとも一部には、貫通孔が形成され、
前記貫通孔の前記一側に位置する前記装飾板の領域と、前記貫通孔の前記他側に位置する前記装飾板の領域と、は平面視で重ならない位置に設けられていることを特徴とする。
【発明の効果】
【0007】
本発明によれば、意匠性の高い構成でソーラーセルへの光の入射効率の向上を図ることができる。
【図面の簡単な説明】
【0008】
実施形態に係る時計の正面図である。
図1に示す時計に設けられる文字板の斜視図である。
図1におけるIII-III線に沿う断面図である。
図3において破線で囲ったIV部分の拡大断面図である。
【発明を実施するための形態】
【0009】
図面を参照しつつ、本発明に係る装飾板及び時計の一実施形態について説明する。本実施形態では、装飾板が時計の文字板である場合を例示している。また、本実施形態では、時計が腕に装着して用いられる腕時計である場合を想定している。なお、図1等では、時計を腕に装着するためのバンドや時計内部の構成等の図示を省略している。また、実施形態では、時計100が平面視においてほぼ円形状である場合を例示するが(図1等参照)、時計100の形状はこれに限定されず、例えば平面視矩形状や楕円形状等であってもよい。なお、以下に述べる実施形態には、本発明を実施するために技術的に好ましい種々の限定が付されているが、本発明の範囲を以下の実施形態及び図示例に限定するものではない。
【0010】
実施形態に係る時計100は、少なくとも文字板10(装飾板)と、ソーラーセル70と、を備えている。図1に示すように、時計100を表面側(視認側)から見た場合、図示しないケースの表面側の開口部分には、外周縁に沿って環状の見切り部材30が設けられている。見切り部材30の内側には、文字板10が配置されている。実施形態に係る時計100は、文字板10のほぼ中央に設けられた指針軸41に取り付けられた複数の指針40を備え、アナログ方式で時刻表示を行う。すなわち、文字板10には、外周に沿って時字16が設けられており、指針40が時字16を指し示すことで適宜時刻を表示する。図1では、時計100が2つの指針40(例えば、時針と分針)を備える場合を例示している。なお、指針40の数や形状等は図示例に限定されない。
(【0011】以降は省略されています)
この特許をJ-PlatPat(特許庁公式サイト)で参照する
関連特許
カシオ計算機株式会社
支持台
今日
カシオ計算機株式会社
減音器具
2日前
カシオ計算機株式会社
減音器具
2日前
カシオ計算機株式会社
電子鍵盤楽器
今日
カシオ計算機株式会社
装飾板及び時計
1日前
カシオ計算機株式会社
機器ケース及び時計
24日前
カシオ計算機株式会社
光源装置及び投影装置
2日前
カシオ計算機株式会社
取付構造及び印刷装置
23日前
カシオ計算機株式会社
光源装置及び投影装置
14日前
カシオ計算機株式会社
光源装置及び投影装置
2日前
カシオ計算機株式会社
光源装置及び投影装置
14日前
カシオ計算機株式会社
端末装置及びプログラム
2日前
カシオ計算機株式会社
外装部品ユニット及び時計
今日
カシオ計算機株式会社
電子時計及び電子時計本体
15日前
カシオ計算機株式会社
電子機器、及び表示制御方法
4日前
カシオ計算機株式会社
カッターユニット及び切断装置
今日
カシオ計算機株式会社
電子時計、外装部材及びバンド
15日前
カシオ計算機株式会社
演奏装置、方法およびプログラム
2日前
カシオ計算機株式会社
補助バスマスタ回路及び電子機器
4日前
カシオ計算機株式会社
制御装置、方法およびプログラム
4日前
カシオ計算機株式会社
制御装置、方法およびプログラム
4日前
カシオ計算機株式会社
発音装置及び音出力制御システム
14日前
カシオ計算機株式会社
演奏装置、方法およびプログラム
1日前
カシオ計算機株式会社
指針、時計、及び指針の製造方法
1か月前
カシオ計算機株式会社
ロボット、及びロボットの製造方法
今日
カシオ計算機株式会社
時計、表示制御方法及びプログラム
15日前
カシオ計算機株式会社
外装部品、外装部品ユニット及び時計
今日
カシオ計算機株式会社
情報処理装置、方法およびプログラム
今日
カシオ計算機株式会社
制御装置、制御方法、及びプログラム
1日前
カシオ計算機株式会社
テープ製造方法及びテープ製造システム
22日前
カシオ計算機株式会社
発音装置、接続装置及び音出力システム
14日前
カシオ計算機株式会社
電子機器、登録処理方法及びプログラム
今日
カシオ計算機株式会社
プログラム、電子機器及び登録処理方法
今日
カシオ計算機株式会社
電子時計、針位置検出方法及びプログラム
23日前
カシオ計算機株式会社
情報処理装置、表示方法、及びプログラム
4日前
カシオ計算機株式会社
位置推定装置、位置推定方法、プログラム
22日前
続きを見る
他の特許を見る