TOP
|
特許
|
意匠
|
商標
特許ウォッチ
Twitter
他の特許を見る
10個以上の画像は省略されています。
公開番号
2025083605
公報種別
公開特許公報(A)
公開日
2025-06-02
出願番号
2023197048
出願日
2023-11-21
発明の名称
電子機器及び電子時計
出願人
カシオ計算機株式会社
代理人
弁理士法人光陽国際特許事務所
主分類
G04G
17/00 20130101AFI20250526BHJP(時計)
要約
【課題】複数の導電性部材を備える場合にも、まとめてGNDへの導通経路を確保する。
【解決手段】電子機器である時計100が、ケース1に外装される第1の金属部品及び第2の金属部品と、ケース1の外側において第1の金属部品及び第2の金属部品と電気的に接続される第1の端子板である外部端子板8と、ケース1の内部に設けられ、GNDとして機能するGND機能部としての圧電発音ユニット4の振動板42と、を備えており、第1の端子板である外部端子板8は、GND機能部としての振動板42と電気的に接続されている。
【選択図】図1
特許請求の範囲
【請求項1】
ケースに外装される第1の金属部品及び第2の金属部品と、
前記ケースの外側において前記第1の金属部品及び前記第2の金属部品と電気的に接続される第1の端子板と、
前記ケースの内部に設けられ、前記第1の端子板と電気的に接続されるGND機能部と、
を備える、
ことを特徴とする電子機器。
続きを表示(約 1,100 文字)
【請求項2】
前記ケースに外装される第3の金属部品及び第4の金属部品と、
前記ケースの外側において前記第3の金属部品及び前記第4の金属部品と電気的に接続される第2の端子板と、
を備え、
前記GND機能部は、前記第2の端子板と電気的に接続される、
ことを特徴とする請求項1に記載の電子機器。
【請求項3】
前記第1の金属部品、前記第2の金属部品、前記第3の金属部品及び前記第4の金属部品の夫々は、金属ベゼル、金属ボタン及び金属ボタンパイプの何れかを含む、
ことを特徴とする請求項2に記載の電子機器。
【請求項4】
前記金属ボタンは、ボタン頭部と、一端側が前記ボタン頭部に連結され他端側がコイルばね部材に挿通された軸部と、を備え、
前記金属ボタンは、前記コイルばね部材及び前記金属ボタンパイプを介して前記端子板と電気的に接続される、
ことを特徴とする請求項3に記載の電子機器。
【請求項5】
前記第1の金属部品及び前記第2の金属部品は、前記第1の端子板を介して締結部材により前記ケースに取り付けられている、
ことを特徴とする請求項1に記載の電子機器。
【請求項6】
前記第3の金属部品及び前記第4の金属部品は、前記第2の端子板を介して締結部材により前記ケースに取り付けられている、
ことを特徴とする請求項2に記載の電子機器。
【請求項7】
前記ケース内にはアンテナが設けられている、
ことを特徴とする請求項1に記載の電子機器。
【請求項8】
前記GND機能部は、金属板部材からなる振動板である、
ことを特徴とする請求項1に記載の電子機器。
【請求項9】
ケースに外装される第1の金属部品及び第2の金属部品と、
前記ケースの外側において前記第1の金属部品及び前記第2の金属部品と電気的に接続される第1の端子板と、
前記ケースの内部に設けられ、前記第1の端子板と電気的に接続されるGND機能部と、
を備える、
ことを特徴とする電子時計。
【請求項10】
前記ケースに外装される第3の金属部品及び第4の金属部品と、
前記ケースの外側において前記第3の金属部品及び前記第4の金属部品と電気的に接続される第2の端子板と、
を備え、
前記GND機能部は、前記第2の端子板と電気的に接続される、
ことを特徴とする請求項9に記載の電子時計。
(【請求項11】以降は省略されています)
発明の詳細な説明
【技術分野】
【0001】
本発明は、電子機器及び電子時計に関する。
続きを表示(約 1,900 文字)
【背景技術】
【0002】
従来、時計等の電子機器には金属等の導電性材料で形成された各種の部材が設けられている。
例えば、特許文献1には、導電性材料より成るボタンから回路基板上に形成された配線パターンまでの間にゼブラ型コネクタを介して導電経路を形成し、ボタンのプッシュ操作により、ゼブラ型コネクタの導電ゴム部を通じて、回路基板上に形成された配線パターンとボタンとを導通させるスイッチ構造が記載されている。
【0003】
また近時時刻修正等のためにGPS信号を受信可能なアンテナ等を備える電子機器も多く存在している。
【先行技術文献】
【特許文献】
【0004】
実開昭53-62675号公報
【発明の概要】
【発明が解決しようとする課題】
【0005】
金属等の導電性部材を電子機器の外部に搭載すると、電子機器内のアンテナ感度に影響を与えてしまうという問題がある。アンテナ感度への影響をなくすためには、金属等の導電性部材をGNDに導通させ、電位差をゼロの状態とすることが求められる。
しかしながら、各部材それぞれにGNDに導通させる導電経路を個別に設けることは電子機器の構成を複雑化させ、部材の配置等の制約も大きくなってしまう。この点特許文献1には、複数の導電性部材をGNDに導通させる構成については何ら言及されていない。
【0006】
本発明はこうした課題を解決するためのものであり、複数の導電性部材を備える場合にもまとめてGNDへの導通経路を確保することができる電子機器及び電子時計を提供することを目的とするものである。
【課題を解決するための手段】
【0007】
前記課題を解決するために、本発明に係る電子機器は、
ケースに外装される第1の金属部品及び第2の金属部品と、
前記ケースの外側において前記第1の金属部品及び前記第2の金属部品と電気的に接続される第1の端子板と、
前記ケースの内部に設けられ、前記第1の端子板と電気的に接続されるGND機能部と、
を備えることを特徴とする。
【発明の効果】
【0008】
本発明によれば、複数の導電性部材を備える場合にもまとめてGNDへの導通経路を確保することができる。
【図面の簡単な説明】
【0009】
実施形態に係る時計の要部分解斜視図である。
図1に示す時計の正面図である。
図2における時計のIII-III線に沿う要部断面図である。
図2における時計のIV-IV線に沿う要部断面図である。
図2における矢視V方向から見た時計の側面図である。
図2における矢視VI方向から見た時計の側面図である。
(a)は、図5におけるVIIa-VIIa線に沿う要部断面図であり、(b)は、図6におけるVIIb-VIIb線に沿う要部断面図である。
(a)は、実施形態における金属ベゼルの斜視図である。(b)は、実施形態に係る金属ボタン部分の要部分解斜視図である。(c)は、(b)に示す金属ボタンパイプの斜視図である。(d)は、実施形態における外部端子板の斜視図である。
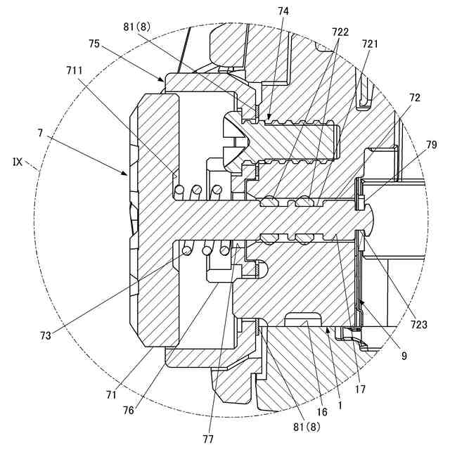
図3において一点鎖線で囲むIX部分の拡大断面図である。
図7(a)において一点鎖線で囲むX部分の拡大断面図であり、(a)は、金属ベゼルに負荷がかかっていない状態を示し、(b)は、金属ベゼルに負荷がかかった状態を示している。
実施形態における裏蓋部材の平面図である。
図11に示す裏蓋部材の要部分解斜視図である。
実施形態における圧電発音ユニットの要部斜視図である。
図11における裏蓋部材のXIV-XIV線に沿う要部断面図である。
実施形態における内部端子板の斜視図である。
図4において一点鎖線で囲むXVI部分の拡大断面図である。
図16に示すのと同じ部分に、一変形例に係る内部端子板を適用した例を示す拡大断面図である。
【発明を実施するための形態】
【0010】
図面を参照しつつ、本発明に係る電子機器(電子時計)の一実施形態について説明する。本実施形態では電子機器(電子時計)が使用者の腕に装着して用いられる腕時計(以下単に「時計100」とする)である場合を例示して説明する。
なお、以下に述べる実施形態には、本発明を実施するために技術的に好ましい種々の限定が付されているが、本発明の範囲を以下の実施形態及び図示例に限定するものではない。
(【0011】以降は省略されています)
この特許をJ-PlatPat(特許庁公式サイト)で参照する
関連特許
カシオ計算機株式会社
機器、制御方法およびプログラム
今日
カシオ計算機株式会社
給電装置、及び、電力伝送システム
今日
カシオ計算機株式会社
電子機器、及び、電力伝送システム
今日
カシオ計算機株式会社
ロボット、及びロボットの製造方法
4日前
カシオ計算機株式会社
情報処理方法、プログラム及び情報処理装置
今日
カシオ計算機株式会社
活動支援方法、プログラム及び活動支援装置
今日
カシオ計算機株式会社
情報出力方法、情報出力装置及びプログラム
今日
カシオ計算機株式会社
電子楽器、電子楽器の制御方法及びプログラム
4日前
カシオ計算機株式会社
情報処理装置、表示制御方法、及びプログラム
4日前
カシオ計算機株式会社
位置測定システム、位置測定方法及びプログラム
今日
カシオ計算機株式会社
機器の制御装置、機器の制御方法及びプログラム
4日前
カシオ計算機株式会社
情報処理装置、制御データ作成方法、及びプログラム
今日
カシオ計算機株式会社
サービス提供方法、サービス提供装置、サービス提供システム及びプログラム
今日
カシオ計算機株式会社
イヤーデバイス、携帯端末、イヤーデバイス制御システム、イヤーデバイス制御方法及びプログラム
今日
カシオ計算機株式会社
イヤーデバイス、携帯端末、イヤーデバイス制御システム、イヤーデバイス制御方法及びプログラム
今日
個人
砂時計
18日前
個人
目覚し時計
2か月前
個人
休憩報知タイマー
3か月前
個人
時刻同期システム
20日前
セイコーエプソン株式会社
時計
3か月前
個人
自照式の針により認視性を高めたアナログ式時計
3か月前
セイコーエプソン株式会社
電子時計
2か月前
株式会社oneA
目覚まし装置
3か月前
株式会社村田製作所
光学的パターン表示物品
4日前
シチズン時計株式会社
電子時計
1か月前
セイコーエプソン株式会社
電子制御式機械時計
6日前
セイコーエプソン株式会社
電子制御式機械時計
3か月前
シチズン時計株式会社
機械式時計
3か月前
セイコーエプソン株式会社
ムーブメント及び時計
3か月前
シチズン時計株式会社
機械式時計
2か月前
シチズン時計株式会社
機械式時計
1か月前
個人
アナログ時計、時間表示方法、および、時間表示プログラム
3か月前
セイコーエプソン株式会社
電子時計
3か月前
カシオ計算機株式会社
装飾板及び時計
5日前
セイコーエプソン株式会社
機械式時計
19日前
カシオ計算機株式会社
制御装置、制御方法、及びプログラム
5日前
続きを見る
他の特許を見る