TOP
|
特許
|
意匠
|
商標
特許ウォッチ
Twitter
他の特許を見る
10個以上の画像は省略されています。
公開番号
2025146348
公報種別
公開特許公報(A)
公開日
2025-10-03
出願番号
2024047074
出願日
2024-03-22
発明の名称
からくり時計
出願人
セイコータイムクリエーション株式会社
代理人
個人
,
個人
,
個人
主分類
G04B
45/00 20060101AFI20250926BHJP(時計)
要約
【課題】装飾体を含め、より複雑なからくり動作を実現できるからくり時計を提供すること。
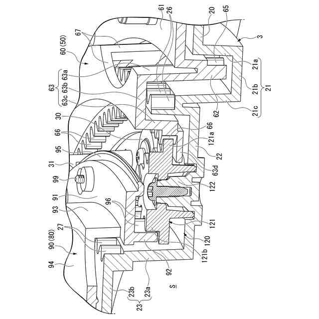
【解決手段】地板3と、地板に対して第1軸線O1回りに相対回転可能な第1回転体50と、地板及び第1回転体のそれぞれに対して第1軸線回りに相対回転可能な第2回転体80と、第1回転方向に向けて第1回転体を回転させる回転駆動機構110と、第1回転体の回転に連動させて第1回転方向とは逆向きの第2回転方向に向けて第2回転体を回転させる連動機構とを備え、第1回転体及び第2回転体のうちの少なくともいずれか一方の回転体には、一方の回転体に回転可能に支持された複数の歯車が設けられ、複数の歯車は、一方の回転体の回転に連動して第1軸線回りを回転しながら、一方の回転体の回転方向と同じ回転方向に向けて自転し、複数の歯車のそれぞれには装飾体10が回転不能に取り付けられているからくり時計1を提供する。
【選択図】図3
特許請求の範囲
【請求項1】
地板と、
前記地板に対して、第1軸線回りに相対回転可能な第1回転体と、
前記地板及び前記第1回転体のそれぞれに対して、前記第1軸線回りに相対回転可能な第2回転体と、
第1回転方向に向けて前記第1回転体を回転させる回転駆動機構と、
前記第1回転体の回転に連動させて、前記第1回転方向とは逆向きの第2回転方向に向けて前記第2回転体を回転させる連動機構と、を備え、
前記第1回転体及び前記第2回転体のうちの少なくともいずれか一方の回転体には、前記第1軸線回りを周回する周方向に間隔をあけて配置されると共に、前記一方の回転体に回転可能に支持された複数の歯車が設けられ、
複数の前記歯車は、前記一方の回転体の回転に連動して前記第1軸線回りを回転しながら、前記一方の回転体の回転方向と同じ回転方向に向けて自転し、
複数の前記歯車のそれぞれには、装飾体が回転不能に取り付けられていることを特徴とする、からくり時計。
続きを表示(約 1,900 文字)
【請求項2】
請求項1に記載のからくり時計において、
複数の前記歯車は、
前記第1回転体に第2軸線回りに回転可能に支持された複数の第1歯車と、
前記第2回転体に第3軸線回りに回転可能に支持された複数の第2歯車と、を含み、
前記装飾体は、
複数の前記第1歯車のそれぞれに回転不能に取り付けられた第1装飾体と、
複数の前記第2歯車のそれぞれに回転不能に取り付けられた第2装飾体と、を含んでいる、からくり時計。
【請求項3】
請求項1又は2に記載のからくり時計において、
前記第1回転体には、第1情報が表示され、
前記第2回転体には、第2情報が表示されている、からくり時計。
【請求項4】
請求項1又は2に記載のからくり時計において、
前記連動機構は、
前記第1回転体に前記周方向に延びるように環状に形成されると共に、前記第1軸線方向から見た平面視で前記第1軸線に対して交差する径方向の内側を向いた内歯部と、
前記第2回転体に前記周方向に延びるように環状に形成されると共に、前記内歯部に対して前記径方向に向かい合うように前記径方向の外側を向いた外歯部と、
前記内歯部と前記外歯部との間に配置されるように前記地板に回転可能に支持されると共に、前記内歯部及び前記外歯部のそれぞれに噛み合う中間歯車と、を備えている、からくり時計。
【請求項5】
請求項4に記載のからくり時計において、
前記中間歯車は、
前記内歯部に噛み合う第1中間歯部と、
前記外歯部に噛み合うと共に、前記第1中間歯部とは異なる歯数を有する第2中間歯部と、を備え、
前記中間歯車は、前記第1中間歯部の歯数と前記第2中間歯部の歯数との比率に基づいて、前記第1回転体の回転速度に対する前記第2回転体の回転速度を可変としている、からくり時計。
【請求項6】
請求項5に記載のからくり時計において、
前記第1回転体の回転速度と前記第2回転体の回転速度とが同一速度となるように、前記比率が設定されている、からくり時計。
【請求項7】
請求項4に記載のからくり時計において、
前記回転駆動機構は、
前記第1回転体に前記周方向に延びるように環状に形成されると共に、前記内歯部よりも前記径方向の外側に配置され、且つ前記径方向の外側を向いた駆動用外歯部と、
駆動歯車を有し、前記地板に設けられた駆動源と、
前記地板に回転可能に支持されると共に、前記駆動歯車及び前記駆動用外歯部のそれぞれに噛み合い、前記駆動歯車の回転力を前記第1回転体に伝達する伝達歯車列と、を備えている、からくり時計。
【請求項8】
請求項2に記載のからくり時計において、
前記地板には、
前記周方向に沿って環状に延びると共に、複数の前記第1歯車が噛み合う第1自転用歯部と、
前記周方向に沿って環状に延びると共に、複数の前記第2歯車が噛み合う第2自転用歯部と、が設けられ、
複数の前記第1歯車は、前記第1回転体の回転に連動して前記第1自転用歯部に噛み合いながら前記第1回転方向に回転し、且つ前記第1回転方向と同じ回転方向に向けて前記第2軸線回りを自転し、
複数の前記第2歯車は、前記第2回転体の回転に連動して前記第2自転用歯部に噛み合いながら前記第2回転方向に回転し、且つ前記第2回転方向と同じ回転方向に向けて前記第3軸線回りを自転する、からくり時計。
【請求項9】
請求項8に記載のからくり時計において、
複数の前記第1歯車と複数の前記第2歯車は、自転速度が同一速度となるように、前記第1自転用歯部及び前記第2自転用歯部に対して噛み合っている、からくり時計。
【請求項10】
請求項2に記載のからくり時計において、
前記第1装飾体は、プレート状に形成されると共に、前記第1歯車に連動して前記地板に対して平行に変位し、
前記第2装飾体は、プレート状に形成されると共に、前記第1装飾体に対して前記第1軸線方向に離間した状態で配置され、且つ前記第2歯車に連動して前記地板に対して平行に変位し、
前記第1装飾体の外形形状の少なくとも一部は、前記第1軸線方向から見た平面視で直線状に形成された平坦部を有し、
前記平坦部は、前記第1装飾体の変位前及び変位中において、前記第2歯車に対して前記第1軸線方向に重ならないように配置されている、からくり時計。
発明の詳細な説明
【技術分野】
【0001】
本発明は、からくり時計に関する。
続きを表示(約 2,300 文字)
【背景技術】
【0002】
従来から、装飾体を移動させるからくり時計が知られている(例えば、特許文献1参照)。特許文献1に記載のからくり時計は、地板と、地板に対して相対回転する回転板と、回転板に回転可能に支持された複数の歯車と、複数の歯車にそれぞれ連結された複数の装飾体(装飾板)と、を備えている。複数の歯車のそれぞれは、地板に形成された外歯部又は内歯部に噛み合いながら、回転板の回転に伴って回転可能とされている。
これにより、例えば回転板が時計回りに回転した場合には、複数の歯車が回転板と同じ方向である時計回りに回転(公転)しながら、外歯部又は内歯部との噛み合いによって、時計回り又は反時計回りに自転する。従って、各歯車に連結されている各装飾体は、所定の時刻に達すると、回転板と共に公転しながら自転するような動きを行う。
【先行技術文献】
【特許文献】
【0003】
特許第6088898号公報
【発明の概要】
【発明が解決しようとする課題】
【0004】
しかしながら、上記従来のからくり時計では、1枚の回転板が一方向に回転する構成であるため、歯車及び装飾体は自転するものの、回転板と同じ回転方向に公転する動きになるので、単調な動きになり易い。特に、複数の歯車は回転板と共に公転するので、各歯車の回転軸の位置関係が常に一定の関係となってしまう。そのため、複数の装飾体の動きが単調になってしまい、改善の余地がある。
【0005】
本発明は、このような事情に考慮してなされたもので、その目的は、装飾体を含め、より複雑なからくり動作を実現できるからくり時計を提供することである。
【課題を解決するための手段】
【0006】
(1)本発明に係るからくり時計は、地板と、前記地板に対して、第1軸線回りに相対回転可能な第1回転体と、前記地板及び前記第1回転体のそれぞれに対して、前記第1軸線回りに相対回転可能な第2回転体と、第1回転方向に向けて前記第1回転体を回転させる回転駆動機構と、前記第1回転体の回転に連動させて、前記第1回転方向とは逆向きの第2回転方向に向けて前記第2回転体を回転させる連動機構と、を備え、前記第1回転体及び前記第2回転体のうちの少なくともいずれか一方の回転体には、前記第1軸線回りを周回する周方向に間隔をあけて配置されると共に、前記一方の回転体に回転可能に支持された複数の歯車が設けられ、複数の前記歯車は、前記一方の回転体の回転に連動して前記第1軸線回りを回転しながら、前記一方の回転体の回転方向と同じ回転方向に向けて自転し、複数の前記歯車のそれぞれには、装飾体が回転不能に取り付けられていることを特徴とする。
【0007】
本発明に係るからくり時計によれば、回転駆動機構によって第1回転体を第1回転方向に向けて回転させることで、連動機構が第1回転体の回転に連動させて第2回転体を第2回転方向に向けて回転させる。これにより、第1回転体と第2回転体とを、第1軸線を中心として互いに逆向きに回転(公転)させることができる。そのうえで、第1回転体及び第2回転体のうちの少なくともいずれか一方の回転体には、装飾体が取り付けられている複数の歯車が回転可能に支持されている。これにより、一方の回転体の公転に連動させて、複数の歯車及び装飾体を一方の回転体と同じ回転方向に回転(公転)させながら、同じ回転方向に自転させることができる。
【0008】
従って、第1回転体と第2回転体とを互いに逆向きに公転させながら、装飾体を一方の回転体と同じ回転方向に公転させつつ自転させることができる。特に従来のからくり時計とは異なり、2つの回転体を互いに逆向きに公転させるので、見た目上、面白みのある動作をさせることができる。それに加えて、装飾体を一方の回転体と同じ回転方向に公転させつつ自転させることができるので、2つの回転体の動きと、装飾体の動きとの相乗効果によって、より複雑で面白みのある動作をさせることができる。
【0009】
(2)複数の前記歯車は、前記第1回転体に第2軸線回りに回転可能に支持された複数の第1歯車と、前記第2回転体に第3軸線回りに回転可能に支持された複数の第2歯車と、を含み、前記装飾体は、複数の前記第1歯車のそれぞれに回転不能に取り付けられた第1装飾体と、複数の前記第2歯車のそれぞれに回転不能に取り付けられた第2装飾体と、を含んでも良い。
【0010】
この場合には、第1回転体と第2回転体とを互いに逆向きに公転させながら、第1装飾体が取り付けられた複数の第1歯車を、第1回転体と同じ第1回転方向に公転させつつ自転させることができ、さらに第2装飾体が取り付けられた複数の第2歯車を、第2回転体と同じ第2回転方向に公転させつつ自転させることができる。
従って、2つの回転体の動きと、2つの装飾体の動きとの相乗効果によって、さらに複雑で面白みのある動作をさせることができる。特に、第1歯車の自転軸である第2軸線と、第2歯車の自転軸である第3軸線とを、2つの回転体の逆向きの公転によって、互いに周方向にすれ違うように位置関係を変化させることができる。これにより、第1装飾体及び第2装飾体を、複雑に動いているかの如く見せることができ、さらに面白みのある動作を実現することができる。
(【0011】以降は省略されています)
この特許をJ-PlatPat(特許庁公式サイト)で参照する
関連特許
個人
砂時計
14日前
個人
目覚し時計
2か月前
個人
時刻同期システム
16日前
個人
自照式の針により認視性を高めたアナログ式時計
2か月前
セイコーエプソン株式会社
電子時計
1か月前
株式会社村田製作所
光学的パターン表示物品
今日
シチズン時計株式会社
電子時計
1か月前
セイコーエプソン株式会社
電子制御式機械時計
2日前
シチズン時計株式会社
機械式時計
1か月前
シチズン時計株式会社
機械式時計
2か月前
シチズン時計株式会社
機械式時計
2か月前
カシオ計算機株式会社
装飾板及び時計
1日前
セイコーエプソン株式会社
機械式時計
15日前
セイコータイムクリエーション株式会社
からくり時計
今日
カシオ計算機株式会社
制御装置、制御方法、及びプログラム
1日前
カシオ計算機株式会社
機器ケース及び時計
2か月前
カシオ計算機株式会社
機器ケース及び時計
24日前
セイコーエプソン株式会社
インデックス、文字板、及び時計
28日前
カシオ計算機株式会社
電子時計及び電子時計本体
15日前
カシオ計算機株式会社
外装部品ユニット及び時計
今日
セイコーウオッチ株式会社
時計、音声再生方法およびプログラム
1か月前
カシオ計算機株式会社
電子時計、外装部材及びバンド
15日前
セイコーエプソン株式会社
機械式時計及び機械式時計の組み立て方法
2か月前
カシオ計算機株式会社
指針、時計、及び指針の製造方法
1か月前
セイコーエプソン株式会社
時計用部品、および、時計
1か月前
カシオ計算機株式会社
時計、表示制御方法及びプログラム
15日前
東邦瓦斯株式会社
ウェアラブル機器用防熱カバー
1か月前
セイコーエプソン株式会社
時計用部品、時計および時計用部品の製造方法
1か月前
カシオ計算機株式会社
外装部品、外装部品ユニット及び時計
今日
カシオ計算機株式会社
電子時計、針位置検出方法及びプログラム
23日前
カシオ計算機株式会社
ウェアラブル機器、通知方法及びプログラム
2か月前
ロレックス・ソシエテ・アノニム
時計制御装置
1か月前
プレシフレックス エスアー
天体表示
3か月前
カシオ計算機株式会社
電子時計、電子時計の制御方法及びプログラム
1か月前
カシオ計算機株式会社
電子時計、電子時計の制御方法及びプログラム
1か月前
カシオ計算機株式会社
ケース機器、時計、及びケース機器の製造方法
1か月前
続きを見る
他の特許を見る