TOP
|
特許
|
意匠
|
商標
特許ウォッチ
Twitter
他の特許を見る
10個以上の画像は省略されています。
公開番号
2025129551
公報種別
公開特許公報(A)
公開日
2025-09-05
出願番号
2024026254
出願日
2024-02-26
発明の名称
インデックス、文字板、及び時計
出願人
セイコーエプソン株式会社
代理人
個人
,
個人
,
個人
主分類
G04B
19/10 20060101AFI20250829BHJP(時計)
要約
【課題】審美性に優れたインデックス、文字板、及び時計を提供する。
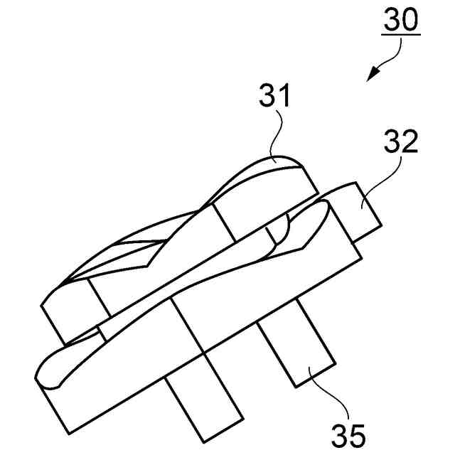
【解決手段】インデックス30は、文字板3上に固定されるインデックス30であって、凸部34と、凸部34から突出する文字板固定用の脚35と、を備える第1の部材31と、勘合穴37が設けられ、勘合穴37に凸部34を挿入することで第1の部材31に係合される第2の部材32と、を有し、平面視で、第1の部材31と第2の部材32の両方が視認可能になっている。
【選択図】図1
特許請求の範囲
【請求項1】
文字板上に固定されるインデックスであって、
凸部と、前記凸部から突出する文字板固定用の脚と、を備える第1の部材と、
勘合穴が設けられ、前記勘合穴に前記凸部を挿入することで前記第1の部材に係合される第2の部材と、を有し、
平面視で、前記第1の部材と前記第2の部材の両方が視認可能になっている、
インデックス。
続きを表示(約 620 文字)
【請求項2】
平面視で、前記第2の部材の視認面積は、前記第1の部材の視認面積に対して10%から1000%である、
請求項1に記載のインデックス。
【請求項3】
前記勘合穴は、長方形である、
請求項1又は請求項2に記載のインデックス。
【請求項4】
前記第1の部材と前記第2の部材の形状は、相似形であり、大きさが異なっている、
請求項1又は請求項2に記載のインデックス。
【請求項5】
前記第1の部材と前記第2の部材は、色が異なっている、
請求項1又は請求項2に記載のインデックス。
【請求項6】
前記第1の部材と前記第2の部材は、素材が異なっている、
請求項1又は請求項2に記載のインデックス。
【請求項7】
前記第1の部材と前記第2の部材は、反射率が異なっている、
請求項1又は請求項2に記載のインデックス。
【請求項8】
前記第1の部材は、宝石が固定されている、
請求項1又は請求項2に記載のインデックス。
【請求項9】
請求項1乃至請求項8の何れかに記載のインデックス、を有する、
文字板。
【請求項10】
請求項1乃至請求項8の何れかに記載のインデックスと、
前記インデックスが固定されている文字板と、を有する、
時計。
発明の詳細な説明
【技術分野】
【0001】
本発明は、インデックス、文字板、及び時計に関する。
続きを表示(約 1,500 文字)
【背景技術】
【0002】
従来、時計の文字板に、立体感を有するインデックスとしての時字が用いられている。特許文献1には、下時字体と、この下時字体の上面に固着された上時字体との2体物で構成され、下時字体と上時字体とに施されるメッキ、塗装、蒸着等の表面処理の色調を異なった色調とし、立体感があり且つ2色化が可能なデザインバリエーションに富んだ時字が開示されている。
【先行技術文献】
【特許文献】
【0003】
実開平7-34390号公報
【発明の概要】
【発明が解決しようとする課題】
【0004】
しかしながら、特許文献1に記載のインデックスとしての時字は、下時字体の上面に上時字体を固着する際、上時字体の足が挿入される下時字体の穴に接着剤を塗布した場合、接着剤が穴からはみ出した状態で固まり、時字と文字板との間に隙間が生じ、審美性を低下させる虞があった。
【課題を解決するための手段】
【0005】
インデックスは、文字板上に固定されるインデックスであって、凸部と、前記凸部から突出する文字板固定用の脚と、を備える第1の部材と、勘合穴が設けられ、前記勘合穴に前記凸部を挿入することで前記第1の部材に係合される第2の部材と、を有し、平面視で、前記第1の部材と前記第2の部材の両方が視認可能になっている。
【0006】
文字板は、上記のインデックスを有する。
【0007】
時計は、上記のインデックスと、前記インデックスが固定されている文字板と、を有する。
【図面の簡単な説明】
【0008】
第1実施形態に係るインデックスを有する時計の概略構造を示す正面図。
第1実施形態に係るインデックスを有する時計の概略構造を示す断面図。
第1実施形態に係るインデックスの概略構造を示す平面図。
第1実施形態に係るインデックスの概略構造を示す斜視図。
第1実施形態に係るインデックスの概略構造を示す斜視図。
第1実施形態に係るインデックスが有する第1の部材の概略構造を示す平面図。
第1実施形態に係るインデックスが有する第1の部材の概略構造を示す斜視図。
第1実施形態に係るインデックスが有する第2の部材の概略構造を示す平面図。
第1実施形態に係るインデックスが有する第2の部材の概略構造を示す斜視図。
図1中のA-A線における断面図。
第2実施形態に係るインデックスが有する第1の部材の概略構造を示す平面図。
図11中のB-B線における断面図。
【発明を実施するための形態】
【0009】
1.第1実施形態
先ず、第1実施形態に係るインデックス30を有する時計1として腕時計を一例として挙げ、図1及び図2を参照して説明する。尚、本明細書では、カバーガラス5側を「表面」、裏蓋9側を「裏面」として説明する。
【0010】
時計1は、図1及び図2に示すように、外装ケース2と、文字板3と、カバーガラス5と、裏蓋9と、を備えている。外装ケース2は、金属で形成された円筒状のケース本体21に、セラミック又は金属で形成されたベゼル22が嵌合されて構成されている。このベゼル22の内周側に、プラスチックで形成された円環状のダイヤルリング6を介して、円盤状の文字板3が配置されている。文字板3の表面側には、装飾用のインデックス30が固定されている。外装ケース2の側面には、時計表示で3時の位置にリューズ7が設けられている。
(【0011】以降は省略されています)
この特許をJ-PlatPat(特許庁公式サイト)で参照する
関連特許
個人
砂時計
14日前
個人
休憩報知タイマー
3か月前
個人
目覚し時計
2か月前
個人
時刻同期システム
16日前
セイコーエプソン株式会社
時計
3か月前
個人
自照式の針により認視性を高めたアナログ式時計
2か月前
セイコーエプソン株式会社
電子時計
1か月前
セイコーエプソン株式会社
機械式時計
3か月前
株式会社oneA
目覚まし装置
3か月前
株式会社村田製作所
光学的パターン表示物品
今日
セイコーエプソン株式会社
電子制御式機械時計
3か月前
セイコーエプソン株式会社
電子制御式機械時計
2日前
セイコーエプソン株式会社
電子制御式機械時計
4か月前
シチズン時計株式会社
電子時計
1か月前
シチズン時計株式会社
機械式時計
2か月前
シチズン時計株式会社
機械式時計
1か月前
シチズン時計株式会社
機械式時計
2か月前
セイコーエプソン株式会社
ムーブメント及び時計
3か月前
カシオ計算機株式会社
装飾板及び時計
1日前
個人
アナログ時計、時間表示方法、および、時間表示プログラム
3か月前
セイコーエプソン株式会社
電子時計
3か月前
セイコータイムクリエーション株式会社
からくり時計
今日
セイコーエプソン株式会社
機械式時計
15日前
カシオ計算機株式会社
制御装置、制御方法、及びプログラム
1日前
株式会社5コーポレーション
勉強時間測定装置及び勉強時間測定方法
3か月前
カシオ計算機株式会社
機器ケース及び時計
24日前
カシオ計算機株式会社
機器ケース及び時計
2か月前
カシオ計算機株式会社
電子機器及び電子時計
4か月前
カシオ計算機株式会社
電子機器及び電子時計
4か月前
カシオ計算機株式会社
電子機器及び電子時計
4か月前
セイコーエプソン株式会社
インデックス、文字板、及び時計
28日前
カシオ計算機株式会社
外装部品ユニット及び時計
今日
カシオ計算機株式会社
電子時計及び電子時計本体
15日前
住友ベークライト株式会社
計時装置、計時方法および検査装置
3か月前
モントレー ブレゲ・エス アー
表示機構のための調整システム
3か月前
モントレー ブレゲ・エス アー
プレート上のディスプレイモジュールの配置
3か月前
続きを見る
他の特許を見る