TOP
|
特許
|
意匠
|
商標
特許ウォッチ
Twitter
他の特許を見る
10個以上の画像は省略されています。
公開番号
2025135046
公報種別
公開特許公報(A)
公開日
2025-09-18
出願番号
2024032604
出願日
2024-03-05
発明の名称
電子時計及び電子時計本体
出願人
カシオ計算機株式会社
代理人
弁理士法人光陽国際特許事務所
主分類
G04B
37/18 20060101AFI20250910BHJP(時計)
要約
【課題】外装部材を取り付け可能な時計本体の外形サイズを小さくする。
【解決手段】電子時計である時計100が、時計本体1と、時計本体1に対して装着可能な外装部材(ベゼル3(第1部材)及び外装ケース7(第2部材))と、を備え、時計本体1は、外側部に張り出し、張り出し側の頂点が時計本体1の最外形Esを構成する複数の突出部(ねじ孔スペース16、操作部14)と、複数の突出部のうち隣り合う突出部(ねじ孔スペース16)間を繋ぐようにして形成され、繋いだ突出部の張り出し側の頂点よりも外部に突出しない第1突起部17と、を有し、外装部材(ベゼル3(第1部材)及び外装ケース7(第2部材))は、時計本体1に装着されたときに第1突起部17に係合される係合部(ベゼル3の第1係合部37及び外装ケース7の第2係合部)を有している。
【選択図】図2
特許請求の範囲
【請求項1】
時計本体と、
前記時計本体に対して装着可能な外装部材と、
を備え、
前記時計本体は、
外側部に張り出し、張り出し側の頂点が前記時計本体の最外形を構成する複数の突出部と、
前記複数の突出部のうち隣り合う突出部間を繋ぐようにして形成され、繋いだ前記突出部の張り出し側の頂点よりも外部に突出しない第1突起部と、を有し、
前記外装部材は、前記時計本体に装着されたときに前記第1突起部に係合される係合部を有している、
ことを特徴とする電子時計。
続きを表示(約 1,400 文字)
【請求項2】
前記外装部材は、前記時計本体に対して選択的に装着される第1部材又は第2部材の何れかであって、
前記第1部材は、前記時計本体に装着された場合に前記第1突起部に係合される位置に設けられた第1係合部を有し、
前記第2部材は、前記時計本体に装着された場合に前記第1突起部に係合される位置に設けられた第2係合部を有する、
ことを特徴とする請求項1に記載の電子時計。
【請求項3】
前記時計本体は、前記第1突起部の他に第2突起部を有し、
前記第1部材は、前記時計本体に装着された場合に前記第2突起部に係合される位置に設けられた第1係合穴部を有し、
前記第1部材を前記時計本体に装着するときには、前記第1係合部が前記第1突起部と係合されるとともに、前記第1係合穴部に前記第2突起部を嵌め合わせることで前記時計本体に係止され、
前記第2部材を前記時計本体に装着するときには、前記第2係合部が前記第1突起部と係合されることで前記時計本体に係止される、
ことを特徴とする請求項2に記載の電子時計。
【請求項4】
前記第1係合穴部は、前記第2突起部が挿入される貫通孔であり、前記第1部材を前記時計本体に装着した状態において、前記第2突起部が前記第1係合穴部から露出する、
ことを特徴とする請求項3に記載の電子時計。
【請求項5】
前記第2係合部と前記第1突起部との係合による前記第2部材の前記時計本体への係止力は、前記第1係合部と前記第1突起部との係合による当該時計本体への係止力よりも強い、
ことを特徴とする請求項2又は3に記載の電子時計。
【請求項6】
前記第2係合部は、前記第1係合部よりも厚く形成されている、
ことを特徴とする請求項2又は3に記載の電子時計。
【請求項7】
前記第1部材及び前記第2部材は樹脂素材で形成され、
前記第2部材の樹脂素材は前記第1部材の樹脂素材よりも剛性が高い、
ことを特徴とする請求項2又は3に記載の電子時計。
【請求項8】
前記時計本体は、平面視略矩形に形成されており、
前記第1突起部は、前記時計本体における向かい合う2辺にそれぞれ設けられ、
前記第2突起部は、前記第1突起部が設けられている辺とは異なる辺に設けられている、
ことを特徴とする請求項3に記載の電子時計。
【請求項9】
前記外装部材は、透明又は半透明の部材であり、
前記第1突起部は、前記複数の突出部のうち隣り合う突出部間をほぼ面一となるように繋いで形成される、
ことを特徴とする請求項1に記載の電子時計。
【請求項10】
外側部に張り出し、張り出し側の頂点が電子時計本体の最外形を構成する複数の突出部と、
前記複数の突出部のうち隣り合う突出部間を繋ぐようにして形成され、繋いだ前記突出部の張り出し側の頂点よりも外部に突出しない第1突起部と、を有し、
前記第1突起部は、前記電子時計本体に装着可能な外装部材の係合部に係合される、
ことを特徴とする電子時計本体。
(【請求項11】以降は省略されています)
発明の詳細な説明
【技術分野】
【0001】
本発明は、電子時計及び電子時計本体に関する。
続きを表示(約 2,200 文字)
【背景技術】
【0002】
従来、時計本体に外装部材を取り付ける構成が知られている。例えば、特許文献1には、ケース本体の外周面に、外部に向けて突出する係止突起部を設け、外装部材(特許文献1において、ベゼル)の内周面に係止突起部と係合する係合凹部を設けて、両者を係合させることで、ベゼルがケース本体に装着される。
【先行技術文献】
【特許文献】
【0003】
特開2015-010905号公報
【発明の概要】
【発明が解決しようとする課題】
【0004】
しかしながら、特許文献1に記載された構成では、ケース本体のもともとの外形よりも係止突起部が外側に張り出す(特許文献1の図2参照)ことから、ケース本体の最外形が大きくなり、時計が大型化してしまうという課題があった。
【0005】
本発明はこうした課題を解決するためのものであり、外装部材を取り付け可能な時計本体の外形サイズを小さくすることのできる電子時計及び電子時計本体を提供することを目的とするものである。
【課題を解決するための手段】
【0006】
前記課題を解決するために、本発明に係る電子時計は、
時計本体と、前記時計本体に対して装着可能な外装部材と、を備え、前記時計本体は、外側部に張り出し、張り出し側の頂点が前記時計本体の最外形を構成する複数の突出部と、前記複数の突出部のうち隣り合う突出部間を繋ぐようにして形成され、繋いだ前記突出部の張り出し側の頂点よりも外部に突出しない第1突起部と、を有し、前記外装部材は、前記時計本体に装着されたときに前記第1突起部に係合される係合部を有していることを特徴とする。
【発明の効果】
【0007】
本発明によれば、外装部材を取り付け可能な時計本体の外形サイズを小さくすることができる。
【図面の簡単な説明】
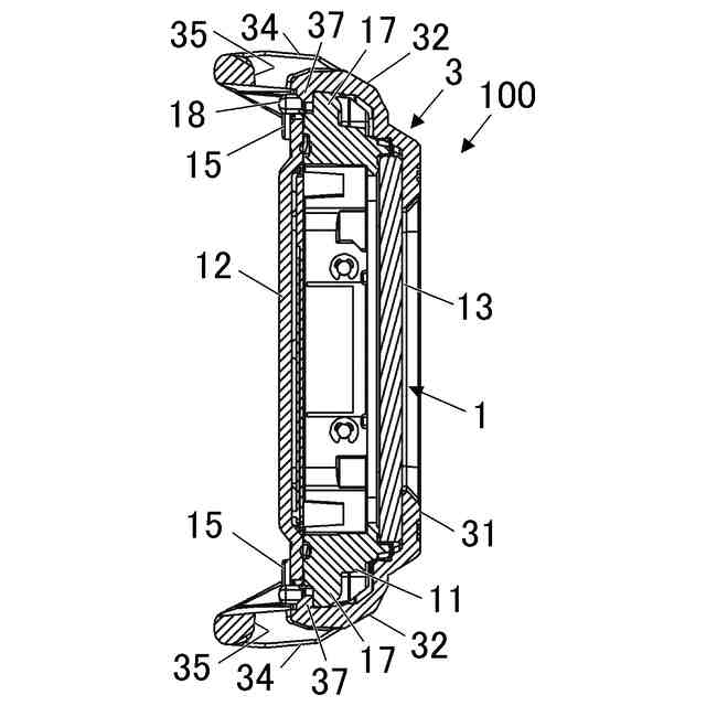
【0008】
実施形態に係る時計本体の表面側に実施形態に係る外装部材を装着する様子を示す要部斜視図である。
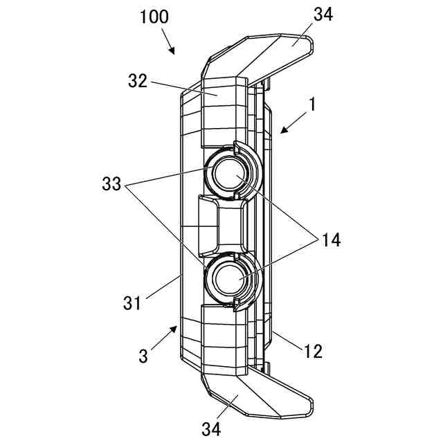
実施形態に係る時計本体の裏面側の平面図である。
実施形態に係る外装部材を内側から見た斜視図である。
外装部材が装着された時計本体を裏面側から見た平面図である。
図4における矢視V方向から見た外装部材が装着された時計本体の側面図である。
(a)は、実施形態に係るバンドを裏面側から見た斜視図であり、(b)は、外装部材が装着された時計本体に(a)に示すバンドを取り付ける様子を時計の表面側から示す要部斜視図である。
(a)は、第1実施形態の時計を示す正面図であり、(b)は、(a)に示す時計の裏面図であり、(c)は、(a)に示す時計のc-c線に沿う断面図である。
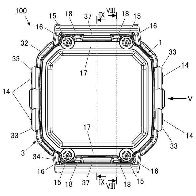
図4に示す外装部材が装着された時計本体のVIII-VIII線に沿う断面図である。
図4に示す外装部材が装着された時計本体のIX-IX線に沿う断面図である。
図7(a)に示す時計のX-X線に沿う断面図である。
時計本体に装着された外装部材にバンドを装着する様子を示す要部側断面図である。
時計本体に装着された外装部材にバンドが装着された状態を示す要部側断面図である。
図12に示す時計のバンドを装着対象である手首に巻き付けた場合のイメージを示す要部側断面図である。
第2実施形態の時計を示す正面図である。
時計本体に外装ケースを取り付けて第2の実施形態の時計を組み立てる様子を示す斜視図である。
図14に示す時計の裏面側を示す平面図である。
図16に示す時計から裏面カバーを外した状態を示す平面図である。
図16に示す時計のXVIII-XVIII線に沿う断面図である。
【発明を実施するための形態】
【0009】
図面を参照しつつ、本発明に係る電子時計及び電子時計本体の実施形態について説明する。以下の実施形態には、本発明を実施するために技術的に好ましい種々の限定が付されているが、本発明の範囲を以下の実施形態及び図示例に限定するものではない。なお、以下に述べる実施形態では、電子時計を単に「時計」とする。
【0010】
図1及び図14等に示すように、本実施形態に係る時計は、電子時計本体(以下において、単に「時計本体1」とする)と、時計本体1に対して装着可能な外装部材と、を備えている。実施形態において、外装部材は、時計本体1に対して選択的に装着される第1部材又は第2部材の何れかである。第1部材は、バンド5を取り付けることが可能なベゼル3であり、第2部材は外装ケース7であって、ベゼル3及び外装ケース7は、時計本体1に対して着脱自在となっている。以下において、時計本体1にベゼル3が装着された状態を第1の実施形態の「時計100」として説明し、時計本体1に外装ケース7が装着された状態を第2の実施形態の「時計200」として説明する。なお、第1の実施形態、第2の実施形態とも時計本体1の構成は同じである。このため、まず第1の実施形態及び第2の実施形態に共通する構成として、まず時計本体1について説明する。
(【0011】以降は省略されています)
この特許をJ-PlatPat(特許庁公式サイト)で参照する
関連特許
カシオ計算機株式会社
減音器具
今日
カシオ計算機株式会社
減音器具
今日
カシオ計算機株式会社
機器ケース及び時計
22日前
カシオ計算機株式会社
光源装置及び投影装置
12日前
カシオ計算機株式会社
光源装置及び投影装置
今日
カシオ計算機株式会社
光源装置及び投影装置
今日
カシオ計算機株式会社
取付構造及び印刷装置
21日前
カシオ計算機株式会社
光源装置及び投影装置
12日前
カシオ計算機株式会社
端末装置及びプログラム
今日
カシオ計算機株式会社
電子時計及び電子時計本体
13日前
カシオ計算機株式会社
電子機器、及び表示制御方法
2日前
カシオ計算機株式会社
電子時計、外装部材及びバンド
13日前
カシオ計算機株式会社
制御装置、方法およびプログラム
2日前
カシオ計算機株式会社
制御装置、方法およびプログラム
2日前
カシオ計算機株式会社
発音装置及び音出力制御システム
12日前
カシオ計算機株式会社
演奏装置、方法およびプログラム
今日
カシオ計算機株式会社
補助バスマスタ回路及び電子機器
2日前
カシオ計算機株式会社
指針、時計、及び指針の製造方法
29日前
カシオ計算機株式会社
時計、表示制御方法及びプログラム
13日前
カシオ計算機株式会社
テープ製造方法及びテープ製造システム
20日前
カシオ計算機株式会社
発音装置、接続装置及び音出力システム
12日前
カシオ計算機株式会社
情報処理装置、表示方法、及びプログラム
2日前
カシオ計算機株式会社
位置推定装置、位置推定方法、プログラム
20日前
カシオ計算機株式会社
電子時計、針位置検出方法及びプログラム
21日前
カシオ計算機株式会社
情報処理装置、学習支援方法及びプログラム
26日前
カシオ計算機株式会社
学習支援装置、学習支援方法及びプログラム
1か月前
カシオ計算機株式会社
切断制御装置、切断制御方法及びプログラム
12日前
カシオ計算機株式会社
情報提供装置、情報提供方法及びプログラム
今日
カシオ計算機株式会社
入力装置、電子楽器、設定方法及びプログラム
20日前
カシオ計算機株式会社
情報処理装置、表示制御方法、及びプログラム
20日前
カシオ計算機株式会社
情報伝送システム、情報伝送方法及び電子機器
20日前
カシオ計算機株式会社
電子機器、電子機器の制御方法及びプログラム
2日前
カシオ計算機株式会社
学習支援装置、学習支援方法およびプログラム
12日前
カシオ計算機株式会社
電子時計、電子時計の制御方法及びプログラム
2日前
カシオ計算機株式会社
情報処理装置、情報処理システム及びプログラム
21日前
カシオ計算機株式会社
情報処理装置、表示制御方法、及び、プログラム
今日
続きを見る
他の特許を見る