TOP
|
特許
|
意匠
|
商標
特許ウォッチ
Twitter
他の特許を見る
公開番号
2025073956
公報種別
公開特許公報(A)
公開日
2025-05-13
出願番号
2024022663
出願日
2024-02-19
発明の名称
光学フィルター
出願人
白金科技股分有限公司
代理人
個人
主分類
G02B
5/28 20060101AFI20250502BHJP(光学)
要約
【課題】既存の光学フィルターが引き起こす可能性のある欠点を効果的に改善できる光学フィルターを提供する。
【解決手段】基板200、前記基板に形成されたボンディング層300、及び前記ボンディング層に形成されたマッチングコンポジット層100を含む。前記マッチングコンポジット層100は、複数の第1の屈折層、複数の第2の屈折層、及び複数の第3の屈折層を含む。複数の前記第2の屈折層の数は、複数の前記第1の屈折層及び複数の前記第3の屈折層よりも少ない。前記第1の屈折層の屈折率は、前記ボンディング層の屈折率よりも大きく、前記第2の屈折層の屈折率は、前記第1の屈折層の屈折率よりも大きく、前記第3の屈折層の屈折率よりも小さい。隣接する2つの前記第2の屈折層の内側には、前記第1の屈折層が挟まれ、外側は2つの前記第3の屈折層によって挟まれており、これらを合わせて双方向インクリメンタルモジュール10aを定義する。
【選択図】図1
特許請求の範囲
【請求項1】
基板と、
前記基板に形成され、屈折率が1.42未満であるボンディング層と、
前記ボンディング層に形成され、順次に積層されたN(Nは正の整数)個の膜層を有するマッチングコンポジット層と、
を備える光学フィルターであって、
前記N個の膜層は複数の第1の屈折層、複数の第2の屈折層及び複数の第3の屈折層を含み、
複数の第1の屈折層のそれぞれが、前記ボンディング層の屈折率よりも大きい第1の屈折率を有し、
複数の第2の屈折層のそれぞれが、前記第1の屈折率より大きい第2の屈折率を有し、かつ、複数の前記第2の屈折層の数は複数の前記第1の屈折層の数より少なく、
複数の第3の屈折層のそれぞれが、前記第2の屈折率より大きい第3の屈折率を有し、かつ、複数の前記第2の屈折層の数は複数の前記第3の屈折層の数より少なく、
前記マッチングコンポジット層においては、前記ボンディング層に隣接する1つの前記第3の屈折層を、第1の膜層として定義し、また、前記マッチングコンポジット層においては、前記ボンディング層から離れた末端に1つの前記第1の屈折層を配置し、当該第1の屈折層を第Nの膜層として定義し、
隣接する2つの前記第2の屈折層の内側には1つの前記第1の屈折層が挟まれ、外側は2つの前記第3の屈折層によって挟まれ、これにより双方向インクリメンタルモジュールとして定義される、
ことを特徴とする、光学フィルター。
続きを表示(約 1,400 文字)
【請求項2】
前記双方向インクリメンタルモジュールから離れた1つの前記第2の屈折層は、1つの前記第1の屈折層と1つの前記第3の屈折層の間に挟まれ、これにより一方向インクリメンタルモジュールとして定義される、請求項1に記載の光学フィルター。
【請求項3】
前記双方向インクリメンタルモジュールと前記第1の膜層の間には1つの前記第1の屈折層が配置され、前記一方向インクリメンタルモジュールは前記第Nの膜層に連結される、請求項2に記載の光学フィルター。
【請求項4】
前記双方向インクリメンタルモジュールの位置は前記第1の膜層に近接しており、前記一方向インクリメンタルモジュールは前記第Nの膜層に近接している、請求項2に記載の光学フィルター。
【請求項5】
前記双方向インクリメンタルモジュールと前記第1の膜層の間に配置された前記膜層の数および厚さは、前記一方向インクリメンタルモジュールと前記第Nの膜層の間に配置された前記膜層の数および厚さとは異なる、請求項4に記載の光学フィルター。
【請求項6】
前記双方向インクリメンタルモジュールの厚さは前記一方向インクリメンタルモジュールの厚さの165%~180%であり、前記双方向インクリメンタルモジュールのいずれかの前記第2の屈折層の厚さは前記一方向インクリメンタルモジュールの前記第2の屈折層の厚さより大きい、請求項2に記載の光学フィルター。
【請求項7】
前記ボンディング層の屈折率は1.35~1.42の間であり、前記第1の屈折率は1.45~1.52の間であり、前記第2の屈折率は1.62~1.71の間であり、前記第3の屈折率は2.2~2.8の間である、請求項1に記載の光学フィルター。
【請求項8】
Nは30~50の間にさらに限定され、複数の前記第2の屈折層の数は3個に限定される、請求項2に記載の光学フィルター。
【請求項9】
基板と、
前記基板に形成され、屈折率が1.42未満であるボンディング層と、
前記ボンディング層に形成され、順次に積層されたN(Nは正の整数)個の膜層を有するマッチングコンポジット層と、
を備える光学フィルターであって、
前記N個の膜層は複数の第1の屈折層、複数の第2の屈折層及び複数の第3の屈折層を含み、
複数の第1の屈折層のそれぞれが、前記ボンディング層の屈折率よりも大きい第1の屈折率を有し、
複数の第2の屈折層のそれぞれが、前記第1の屈折率より大きい第2の屈折率を有し、
複数の第3の屈折層のそれぞれが、前記第2の屈折率より大きい第3の屈折率を有し、
前記マッチングコンポジット層においては、前記ボンディング層に隣接する1つの前記第3の屈折層を、第1の膜層として定義し、また、前記マッチングコンポジット層においては、前記ボンディング層から離れた末端に1つの前記第1の屈折層を配置し、当該第1の屈折層を第Nの膜層として定義し、
前記第2の屈折層は1つの前記第1の屈折層と1つの前記第3の屈折層の間に挟まれ、これにより一方向インクリメンタルモジュールとして定義される、
ことを特徴とする、光学フィルター。
【請求項10】
Nは30~50の間にさらに限定され、前記第2の屈折層の数は1つに限定される、請求項9に記載の光学フィルター。
(【請求項11】以降は省略されています)
発明の詳細な説明
【技術分野】
【0001】
本発明は、フィルターに関するものであり、特に光学フィルターに関するものである。
続きを表示(約 2,700 文字)
【背景技術】
【0002】
既存の光学フィルターは、多くの場合、順次積み重ねられた複数の屈折層を採用しており、その屈折率の間には大きな差がある。しかし、既存の光学フィルターの構造は、現在の様々な要求に対応することが次第に困難になっている。そこで、本発明者は、上記の欠点を改善することが可能であると考え、科学的原理の適用を組み合わせて研究を重ね、最終的に合理的な設計で上記の欠点を効果的に改善する本発明を提案した。
【発明の概要】
【発明が解決しようとする課題】
【0003】
本発明の実施形態は、既存の光学フィルターが引き起こす可能性のある欠点を効果的に改善できる光学フィルターを提供することにある。
【課題を解決するための手段】
【0004】
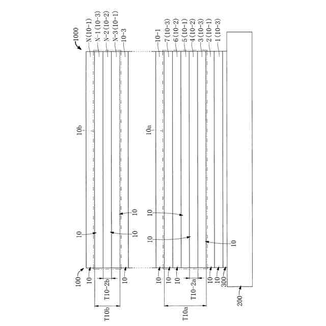
本発明の実施形態は光学フィルターに関する。光学フィルターは、基板と、基板に形成され、屈折率が1.42未満であるボンディング層と、ボンディング層に形成され、順次に積層されたN(Nは正の整数)個の膜層を有するマッチングコンポジット層と、を備える。N個の膜層には、複数の第1の屈折層、複数の第2の屈折層、及び複数の第3の屈折層が含まれる。複数の第1の屈折層の各々は第1の屈折率を有し、第1の屈折率はボンディング層の屈折率よりも大きい。複数の第2の屈折層の各々は第1の屈折率よりも大きい第2の屈折率を有し、複数の第2の屈折層の数は複数の第1の屈折層の数よりも少ない。複数の第3の屈折層の各々は第2の屈折率よりも大きい第3の屈折率を有し、複数の第2の屈折層の数は複数の第3の屈折層の数よりも少ない。マッチングコンポジット層においては、ボンディング層に隣接する第3の屈折層を第1の膜層として定義し、また、前記マッチングコンポジット層においては、ボンディング層から遠い端部に第1の屈折層を配置し、当該第1の屈折層を第Nの膜層として定義する。隣接する2つの第2の屈折層の内側には第1の屈折層があり、外側は2つの第3の屈折層によって挟まれ、これらを合わせて双方向インクリメンタルモジュールとして定義される。
【0005】
本実施形態では、光学フィルターが開示されている。光学フィルターは、基板と、基板に形成されており、その屈折率は1.42未満であるボンディング層と、ボンディング層に形成され、順次に積層されたN(Nは正の整数)個の膜層を有するマッチングコンポジット層と、を備える。N個の膜層には、複数の第1の屈折層、複数の第2の屈折層、複数の第3の屈折層が含まれる。各第1の屈折層はボンディング層の屈折率よりも大きい第1の屈折率を有する。各第2の屈折層は第1の屈折率よりも大きい第2の屈折率を有する。各第3の屈折層は、第2の屈折率よりも大きい第3の屈折率を有する。マッチングコンポジット層においては、ボンディング層に隣接する第3の屈折層を第1の膜層として定義する。また、マッチングコンポジット層においては、ボンディング層から離れた端部に第1の屈折層を配置し、この第1の屈折層を第Nの膜層として定義する。第2の屈折層は、第1の屈折層と第3の屈折層の間に挟まれ、これらを合わせて一方向インクリメンタルモジュールとして定義される。
【0006】
本実施形態は、別の光学フィルターについて開示されている。光学フィルターは、第1の板面および第2の板面を有する基板と、前記基板の第1の板面に形成され、屈折率が1.42未満であるボンディング層と、前記ボンディング層および基板の第2の板面に形成され、複数の膜層を含むマッチングコンポジット層と、を備える。マッチングコンポジット層は、複数の第1の屈折層、複数の第2の屈折層、複数の第3の屈折層がある。各第1の屈折層はボンディング層の屈折率よりも大きい第1の屈折率を有する。各第2の屈折層は第1の屈折率よりも大きい第2の屈折率を有する。第2の屈折層の数は第1の屈折層の数よりも少ない。各第3の屈折層は、第2の屈折率よりも大きい第3の屈折率を有し、第2の屈折層の数は第3の屈折層の数よりも少ない。前記複数の膜層は、ボンディング層に順序立てて積み重ねられたN個の正面膜層および第2の板面に順序立てて積み重ねられたM個の裏面膜層を含んでいる。N及びMは正の整数である。N個の正面膜層においては、ボンディング層に隣接する第3の屈折層を第1の正面膜層として定義する。N個の正面膜層においては、ボンディング層から離れた端部に第Nの正面膜層として定義される第1の屈折層を配置する。N個の正面膜層の中で、隣接する2つの第2の屈折層の内側には第1の屈折層があり、外側は2つの第3の屈折層によって挟まれ、これらを合わせて双方向インクリメンタルモジュールとして定義される。
【発明の効果】
【0007】
総合すると、本実施形態で開示されている光学フィルターは、従来知られている双方向インクリメンタルモジュールとは異なる構造を有しており、この双方向インクリメンタルモジュールの屈折率は、第1の屈折層から逆方向の2つの方向に向かって緩やかに増加することが可能である。これにより、マッチングコンポジット層の全体的な屈折率分布を調整することができ、さらに多様な異なる要求に適合するように光学フィルターが設計されるのに寄与する。
【0008】
さらに、本実施形態で開示されている光学フィルターは、一方向インクリメンタルモジュールを形成することによって、マッチングコンポジット層の全体的な屈折率分布を調整することができ、これにより光学フィルターがさらに多様な異なる要求に適合するように設計されるのに寄与する。
【0009】
本発明の特徴および技術的内容をさらに深く理解するために、以下に本発明に関する詳細な説明および図面を参照されたい。しかし、これらの説明および図面は本発明を例示するものであり、本発明の保護範囲を何ら限定するものではない。
【図面の簡単な説明】
【0010】
第1の実施形態における光学フィルターの平面模式図である。
図1の具体的な配置図表である。
第2の実施形態における光学フィルターの平面模式図である。
図3の具体的な配置図表である。
第3の実施形態における光学フィルターの平面模式図である。
図5の具体的な配置図表である。
図5の光学フィルターによる異なる角度での模擬試験を示す模式図である。
【発明を実施するための形態】
(【0011】以降は省略されています)
この特許をJ-PlatPat(特許庁公式サイト)で参照する
関連特許
個人
立体像表示装置
1日前
東レ株式会社
積層フィルム
7日前
東レ株式会社
赤外線遮蔽構成体
1日前
東レ株式会社
貼合体の製造方法
1日前
スタンレー電気株式会社
照明装置
8日前
日本電気株式会社
光集積回路素子
5日前
住友化学株式会社
偏光板
1日前
住友化学株式会社
積層体
5日前
住友化学株式会社
偏光板
1日前
日東電工株式会社
調光フィルム
6日前
日本精機株式会社
ヘッドアップディスプレイ装置
6日前
住友化学株式会社
光学積層体
1日前
日本分光株式会社
赤外顕微鏡
12日前
住友化学株式会社
偏光積層体
1日前
旭化成株式会社
成形体
12日前
旭化成株式会社
成形体
12日前
キヤノン株式会社
レンズ装置および撮像装置
6日前
住友ベークライト株式会社
積層体の製造方法
6日前
キヤノン株式会社
画像表示装置
12日前
Orbray株式会社
MEMS光スイッチの制御方法
6日前
住友化学株式会社
偏光板及び画像表示装置
7日前
古河電気工業株式会社
光モジュール、光接続構造
6日前
住友ベークライト株式会社
光学シート
5日前
TDK株式会社
メタサーフェスレンズ
5日前
京セラ株式会社
走査装置及び制御装置
5日前
京セラ株式会社
走査装置及び制御装置
5日前
日東電工株式会社
積層光学部材及び光学装置
5日前
株式会社表面・界面工房
反射防止膜
1日前
国立大学法人徳島大学
光共振器、及び光周波数コム発生装置
6日前
株式会社精工技研
光コネクタプラグおよびロック工具
7日前
住友ベークライト株式会社
光学性積層体
5日前
日本カーバイド工業株式会社
微小球型再帰反射シート
5日前
国立大学法人徳島大学
光共振器、及び光周波数コム発生装置
6日前
住友ベークライト株式会社
光学性積層体
5日前
日本カーバイド工業株式会社
微小球型再帰反射シート
5日前
住友化学株式会社
積層体および表示装置
5日前
続きを見る
他の特許を見る