TOP
|
特許
|
意匠
|
商標
特許ウォッチ
Twitter
他の特許を見る
10個以上の画像は省略されています。
公開番号
2025150657
公報種別
公開特許公報(A)
公開日
2025-10-09
出願番号
2024051662
出願日
2024-03-27
発明の名称
光共振器、及び光周波数コム発生装置
出願人
国立大学法人徳島大学
代理人
主分類
G02F
1/365 20060101AFI20251002BHJP(光学)
要約
【課題】
光周波数コムの重要な特性に、Q値と、必要な励起光入力がある。Q値は共振時スペクトルの尖鋭性を示し大きい方が品質の面で優れ、必要な励起光入力は小さい方が光周波数コムを発生させやすく望ましい。しかし従来の構成によれば、高いQ値と、必要な励起光入力の低減はトレードオフの関係になるという問題があった。
【解決手段】
リング共振器と直線導波路の電場強度対称性を逆に、より具体的には片方の中心が共振の節となり、もう片方の中心は共振の腹とする。そのためには、それぞれのカップリング方向の寸法を、ちょうど共振状態が節と腹で反転する寸法を基準として、一方はそれより小さく、もう一方はそれより大きくする。
【選択図】図1
特許請求の範囲
【請求項1】
レーザー装置から照射される所定の周波数を有する励起光の入力を受け付ける入力部と、
3次非線形光学効果を有する材質により構成された円形状の第1の導波路と、
前記第1の導波路が形成される同一平面上に形成され、前記第1の導波路と光学的に結合することにより、前記励起光の少なくとも一部を前記第1の導波路に入力し、前記第1の導波路から互いに等しい周波数間隔である複数の櫛状のスペクトラムを有する光周波数コムを取り出すように設けられた第2の導波路と、を備える光共振器であって、
前記光学的に結合するモードの電場強度分布が、前記第1の導波路においては中心部から前記第2の導波路に向かって強度が低下し、前記第2の導波路においては中心部から前記第1の導波路に向かって強度が増加する、光共振器。
続きを表示(約 1,400 文字)
【請求項2】
前記第1の導波路の平均の幅が1.04μmもしくはそれより小さく、前記第2の導波路の平均の幅が1.05μmもしくはそれより大きい請求項1記載の光共振器。
【請求項3】
レーザー装置から照射される所定の周波数を有する励起光の入力を受け付ける入力部と
3次非線形光学効果を有する材質により構成された円形状の第1の導波路と、
前記第1の導波路が形成される同一平面上に形成され、前記第1の導波路と光学的に結合することにより、前記励起光の少なくとも一部を前記第1の導波路に入力し、前記第1の導波路から互いに等しい周波数間隔である複数の櫛状のスペクトラムを有する光周波数コムを取り出すように設けられた第2の導波路と、を備える光共振器であって、
前記光学的に結合するモードの電場強度分布が、前記第1の導波路においては中心部から前記第2の導波路に向かって強度が増加し、前記第2の導波路においては中心部から前記第1の導波路に向かって強度が低下する、光共振器。
【請求項4】
前記第1の導波路の平均の幅が1.05μmもしくはそれより大きく、前記第2の導波路の平均の幅が1.04μmもしくはそれより小さい請求項3記載の光共振器。
【請求項5】
レーザー装置から照射される所定の周波数を有する励起光の入力を受け付ける入力部と
3次非線形光学効果を有する材質により構成された円形状の第1の導波路と、
前記第1の導波路の形成される面とは並行で、かつ異なる面上に形成され、前記第1の導波路と光学的に結合することにより、前記励起光の少なくとも一部を前記第1の導波路に入力し、前記第1の導波路から互いに等しい周波数間隔である複数の櫛状のスペクトラムを有する光周波数コムを取り出すように設けられた第2の導波路と、を備える光共振器であって、
前記光学的に結合するモードの電場強度分布が、前記第1の導波路においては中心部から前記第2の導波路に向かって強度が低下し、前記第2の導波路においては中心部から前記第1の導波路に向かって強度が増加する、光共振器。
【請求項6】
前記第1の導波路の平均の厚みが1.04μmもしくはそれより小さく、前記第2の導波路の平均の厚みが1.05μmもしくはそれより大きい請求項1記載の光共振器。
【請求項7】
レーザー装置から照射される所定の周波数を有する励起光の入力を受け付ける入力部と
3次非線形光学効果を有する材質により構成された円形状の第1の導波路と、
前記第1の導波路の形成される面とは並行で、かつ異なる面上に形成され、前記第1の導波路と光学的に結合することにより、前記励起光の少なくとも一部を前記第1の導波路に入力し、前記第1の導波路から互いに等しい周波数間隔である複数の櫛状のスペクトラムを有する光周波数コムを取り出すように設けられた第2の導波路と、を備える光共振器であって、
前記光学的に結合するモードの電場強度分布が、前記第1の導波路においては中心部から前記第2の導波路に向かって強度が増加し、前記第2の導波路においては中心部から前記第1の導波路に向かって強度が低下する、光共振器
【請求項8】
前記第1の導波路の平均の厚みが1.05μmもしくはそれより大きく、前記第2の導波路の平均の厚みが1.04μmもしくはそれより小さい請求項3記載の光共振器
発明の詳細な説明
【技術分野】
【0001】
本発明は、光共振器、及びそれを用いた光周波数コム発生装置に関し、高いQ値と、コム発生に必要な励起光入力の低減を両立する光共振器の形状に関する。
続きを表示(約 1,900 文字)
【背景技術】
【0002】
光周波数コムは、従来の電気では困難な、高い光の周波数を持つ基準信号源の実現を可能とし、それを用いた計測器や情報通信分野への応用が期待されている。
【0003】
光周波数コムは光のカー非線形光学効果を利用したもので、非線形光学現象が発生するために必要な光の強度を実現するため、マイクロメートルレベルの大きさのリングを持つ光共振器(以下、リング共振器と記載)を使ったものが知られている。リング共振器への光の入力には、リング共振器と直線導波路とのモード結合現象を利用するのが一般的である。
【0004】
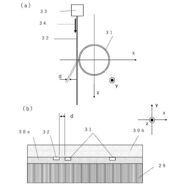
以下に従来の光周波数コム発生装置について説明する。
同一平面内にリング共振器と直線導波路が構成されたマイクロ光共振器を図2に示す。図2(a)は導波路の平面図、図2(b)は、同断面図を表している。なお、図2(b)は図2(a)に示すx軸における断面図である。30aはシリコン基板29上に成膜された二酸化ケイ素(SiO
2
)で形成された第1のクラッド層である。この第1のクラッド層30aの一部をエッチング除去して第1の導波路31および第2の導波路32が埋め込まれている。またその上に第2のクラッド層30bが形成される。第1の導波路31はリング状であり、第2の導波路32は直線で構成される。第1の導波路31と第2の導波路32は僅かな隙間dを介して配置されている。なお、隙間dのy方向側面は、ドライエッチングで加工された面によって形成されている。また、第1の導波路31と第2の導波路32は3次非線形光学効果を有する材質で構成されており、その代表的なものは窒化シリコンである。
【0005】
また近年、隙間dを精度よく配置することが技術的に困難であることを背景に、リング共振器と直線導波路が、お互いが平行で、かつ異なる面上に構成されたマイクロ光共振器が考案されており、この概略を図4に示す。図4(a)は導波路の平面図、図4(b)は、同断面図を表している。なお、図4(b)は図4(a)に示すx軸における断面図である。30aはシリコン基板29上に成膜された二酸化ケイ素(SiO
2
)で形成された第1のクラッド層である。この第1のクラッド層30aの一部をエッチング除去して第1の導波路31が埋め込まれている。またその上に第2のクラッド層30bが形成され、その厚みはdである。第2のクラッド層30bの上にはさらに第3のクラッド層30cが形成され、この第3のクラッド層30cには第2の導波路32が埋め込まれている。第1の導波路31はリング状であり、第2の導波路32は直線で構成される。この構成においては、第1の導波路31と第2の導波路32は第2のクラッド層30bの僅かな厚みdを介して配置されている。一般に、同一平面を高い精度でパターニングするのは波長の短いリソグラフィ技術が必要であり高価な設備を必要とするが、層の厚みを高精度で制御するには主に成膜時間をコントロールすればよく、図4の構成は一般に図2の構成より安価に製造することが期待できる。第1の導波路31と第2の導波路32は3次非線形光学効果を有する材質で構成されており、その代表的なものは窒化シリコンである点は、図2の構成と同じである。
【0006】
以上のように構成された従来の光周波数コム発生装置について、以下その動作について説明する。
【0007】
第2の導波路32には、図示されないが、CWレーザー光源装置から照射される励起光の入力を受け付ける入力部33が接続され、CWレーザー光源装置からCWレーザーである励起光34が第2の導波路32に入射される。
【0008】
入射される励起光34は波長λ1を有する連続波であるとする。図7(a)に入射励起光34の波長スペクトラムを示す。励起光34の共振波長λ1と第1の導波路31の共振波形が重なると、励起光34は第2の導波路32から染み出た、いわゆるエヴァネッセント波として第1の導波路31内に取り込まれる。
【0009】
共振器内の異なる波長を有する各モードがそろった状態になると、ピークが重なり強め合う干渉により、パルス37が発生する。この状態をモード同期という。また、このパルスを光コムという。図8にモードの概念を示す。
【0010】
モード間隔は繰り返し周波数f
REP
で表され、それは[数1]によって決定される。
(【0011】以降は省略されています)
この特許をJ-PlatPat(特許庁公式サイト)で参照する
関連特許
国立大学法人徳島大学
マイクロコム制御装置
1か月前
国立大学法人徳島大学
光位相変調モジュール
5か月前
国立大学法人徳島大学
ゼオライトの製造方法
4か月前
国立大学法人徳島大学
多重光周波数コム生成装置
7日前
国立大学法人徳島大学
光共振器、及び光周波数コム発生装置
1日前
国立大学法人徳島大学
光共振器、及び光周波数コム発生装置
1日前
国立大学法人徳島大学
肝細胞様細胞の製造方法及びその利用
21日前
国立大学法人徳島大学
マイクロ光共振器、及び光周波数コム発生装置
21日前
国立大学法人徳島大学
紫外線波長変換素子、及び紫外線分光測定装置
8か月前
国立大学法人徳島大学
マイクロ光共振器、及び光周波数コム発生装置
1日前
国立大学法人徳島大学
マイクロ光共振器、及び光周波数コム発生装置
21日前
国立大学法人徳島大学
マイクロ光共振器、及び光周波数コム発生装置
21日前
国立大学法人徳島大学
マイクロ光共振器、及び光周波数コム発生装置
21日前
JFEスチール株式会社
リン化合物の製造方法
5か月前
国立大学法人徳島大学
マイクロ光共振器、および光周波数コム制御方法
1日前
国立大学法人徳島大学
分析プログラム、分析装置、分析方法、および測定装置
1か月前
株式会社マルイ
透気測定装置、透気測定方法、及び透気測定システム
5か月前
国立大学法人徳島大学
高偏極化対象物、並びに、その製造方法、高偏極化方法及び高偏極化装置
4か月前
国立大学法人徳島大学
コンクリート構造物の劣化診断装置、コンクリート構造物の劣化診断方法
7日前
ダイキン工業株式会社
刺激特定プログラム、刺激特定装置、および刺激特定システム
8か月前
国立大学法人徳島大学
骨および/または軟骨再生用の組成物、骨および/または軟骨の疾患の処置および/または予防用の組成物
14日前
ナノミストテクノロジーズ株式会社
使用環境に対する超音波振動子の寿命を検出する超音波霧化システム
4か月前
国立大学法人徳島大学
器具の洗浄方法、原液処理装置および原液処理装置の操作方法
4か月前
国立大学法人徳島大学
腐敗菌情報検索方法、システム及びデータ構造並びにそのデータ構造を用いる食品安全・衛生管理システム及び方法
7か月前
東レ株式会社
積層フィルム
2日前
キヤノン株式会社
映像表示装置
21日前
アイカ工業株式会社
反射防止フィルム
8日前
インターマン株式会社
立体映像表示装置
21日前
日本電気株式会社
光集積回路素子
今日
スタンレー電気株式会社
照明装置
3日前
住友化学株式会社
積層体
今日
日東電工株式会社
調光フィルム
1日前
個人
透過型及び反射型顕微鏡
21日前
日本分光株式会社
赤外顕微鏡
7日前
旭化成株式会社
成形体
7日前
旭化成株式会社
成形体
7日前
続きを見る
他の特許を見る