TOP
|
特許
|
意匠
|
商標
特許ウォッチ
Twitter
他の特許を見る
公開番号
2025076270
公報種別
公開特許公報(A)
公開日
2025-05-15
出願番号
2024111688
出願日
2024-07-11
発明の名称
エアジェット織機
出願人
株式会社豊田自動織機
代理人
個人
,
個人
主分類
D03D
47/30 20060101AFI20250508BHJP(織成)
要約
【課題】サブノズルによるエア噴射時間を長くしたり、サブノズルによるエア噴射回数を増やしたりすることなく、緯入れ動作を補助することができる。
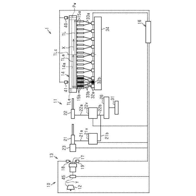
【解決手段】エアジェット織機1は、メインノズル22及び複数のサブノズル15aからのエア噴射によって緯糸Yを経糸開口内に緯入れする緯入れ動作を繰り返し行う緯入れ装置10と、織幅TL内に位置するとともに緯糸Yに対して緯入れ方向Xの牽引力を付与するようにエア噴射を行うアシストノズル15bと、メインノズル22、複数のサブノズル15a、及びアシストノズル15bからのエア噴射を制御する制御装置16と、を備える。制御装置16は、各回の緯入れ動作において、緯入れ方向Xの上流側に位置するサブノズル15aから下流側に位置するサブノズル15aへと順次エア噴射させるリレー制御に加えて、アシストノズル15bからエア噴射させるアシスト制御を実行可能である。
【選択図】図1
特許請求の範囲
【請求項1】
貯留ドラムに巻かれた緯糸を緯糸係止ピンの後退により解舒するとともに、解舒された前記緯糸をメインノズル及び複数のサブノズルからのエア噴射によって筬の筬内通路を飛走させて、経糸開口内に緯入れする緯入れ動作を繰り返し行う緯入れ装置と、
前記メインノズル及び前記複数のサブノズルからのエア噴射を制御する制御装置と、を備え、
前記経糸開口内に前記緯糸を緯入れする際に前記緯糸が飛走する方向を緯入れ方向とすると、前記複数のサブノズルは、前記緯入れ方向に並んでおり、
前記制御装置は、各回の緯入れ動作において、前記緯入れ方向の上流側に位置する前記サブノズルから下流側に位置する前記サブノズルへと順次エア噴射させるリレー制御を行うエアジェット織機であって、
前記複数のサブノズルとは別に、前記緯糸に対して前記緯入れ方向の牽引力を付与するようにエア噴射を行うとともに前記制御装置によってエア噴射が制御されるアシストノズルを織幅内に備え、
前記制御装置は、各回の緯入れ動作において、前記リレー制御に加えて、前記アシストノズルからエア噴射させるアシスト制御を実行可能であることを特徴とするエアジェット織機。
続きを表示(約 1,000 文字)
【請求項2】
前記緯糸が最終到達位置に到達する前の前記緯糸の飛走に関する情報を検出する緯糸検出部を備え、
前記制御装置は、前記緯糸検出部からの検出結果に基づいて前記緯糸の飛走の遅れを推定する遅れ推定を行い、前記緯糸の飛走の遅れを推定した場合に、前記アシスト制御を行う請求項1に記載のエアジェット織機。
【請求項3】
前記緯糸検出部は、前記貯留ドラムから解舒される前記緯糸を検出するバルーンセンサである請求項2に記載のエアジェット織機。
【請求項4】
前記緯糸検出部は、緯入れ前の前記緯糸の状態を検出する状態検出センサである請求項2に記載のエアジェット織機。
【請求項5】
前記緯糸検出部は、緯入れされた前記緯糸の先端が前記最終到達位置より前記緯入れ方向の上流側の所定位置に到達した中間到達時点を検出する中間到達時点検出センサである請求項2に記載のエアジェット織機。
【請求項6】
前記アシストノズルは、前記織幅内における前記緯入れ方向の上流側に位置する請求項2~請求項5のうちいずれか一項に記載のエアジェット織機。
【請求項7】
前記アシストノズルは、前記織幅内における前記緯入れ方向の上流側のみに位置する請求項6に記載のエアジェット織機。
【請求項8】
前記アシストノズルは、前記織幅内における前記緯入れ方向の上流側に位置し、
前記制御装置は、前記緯糸の先端が最終到達位置に到達した後、前記アシスト制御を行う請求項1に記載のエアジェット織機。
【請求項9】
前記緯入れ方向において前記最終到達位置よりも下流側に配置されるとともに前記緯糸に対してエア噴射を行うストレッチノズルを有し、前記ストレッチノズルのエア噴射は、前記制御装置によって制御される張力付与装置を備え、
前記制御装置は、前記ストレッチノズルからのエア噴射を開始させるのと同時に、前記アシストノズルからのエア噴射を開始させる請求項8に記載のエアジェット織機。
【請求項10】
前記制御装置は、前記織幅内における前記緯入れ方向の最も下流側に位置する前記サブノズルからのエア噴射を停止させるのと同時に、前記アシストノズルからのエア噴射を停止させる請求項8又は請求項9に記載のエアジェット織機。
発明の詳細な説明
【技術分野】
【0001】
本発明は、エアジェット織機に関する。
続きを表示(約 2,100 文字)
【背景技術】
【0002】
特許文献1に記載のエアジェット織機は、緯入れ装置と、制御装置と、を備えている。緯入れ装置は、メインノズル及び複数のサブノズルからのエア噴射によって緯糸を飛走させることにより、経糸開口内に緯糸を緯入れする緯入れ動作を繰り返し行う。経糸開口内に緯糸を緯入れする際に緯糸が飛走する方向を緯入れ方向とすると、複数のサブノズルは、緯入れ方向に並んでいる。制御装置は、メインノズル及び複数のサブノズルからのエア噴射を制御する。
【0003】
特許文献2に記載のエアジェット織機では、制御装置は、緯入れ方向の上流側に位置するサブノズルから下流側に位置するサブノズルへと順次エア噴射させる。また、制御装置は、複数のサブノズルのうちの1つについて、緯入れ方向の最も下流側に位置するサブノズルと同時にエア噴射させる。すなわち、複数のサブノズルのうちの1つは、1回の緯入れ動作においてエア噴射を2回行う。
【先行技術文献】
【特許文献】
【0004】
特表2014-500914号公報
特開平6-108345号公報
【発明の概要】
【発明が解決しようとする課題】
【0005】
緯糸が緯入れされる際、緯糸の飛走速度が遅いと、緯糸の先端が最終到達位置に到達する時点が本来の時点よりも遅くなる。この場合、緯糸が最終到達位置に到達する前に経糸開口が閉じることにより、緯糸の搬送不良に起因した停台が生じるおそれがある。また、緯糸の先端が最終到達位置に到達した後で、緯入れ方向の上流側において緯糸の緩みが生じることがある。緯糸の緩みが生じた状態、すなわち緯糸が伸び切っていない状態で経糸開口が閉じると、織物に縞模様が発生することで、織物が不良品となるおそれがある。そのため、緯糸の飛走を速めたり、緯糸の緩みを抑制したりといった緯入れ動作の補助を行うことが好ましい。
【0006】
緯入れ動作の補助方法の一例として、サブノズルのエア噴射時間を長くすることが考えられる。しかしながら、緯糸搬送力を高めるためにサブノズルのエア噴射時間が長く設定されている場合には、更にエア噴射時間を長くすることは難しい場合がある。緯入れ動作の補助方法の他の例として、サブノズルのエア噴射回数を増やすことが考えられる。しかしながら、この場合には、サブノズルからのエアの噴射・停止を切り替えるバルブの稼働回数が増えることにより、バルブの寿命が短くなる。
【課題を解決するための手段】
【0007】
上記課題を解決するためのエアジェット織機は、貯留ドラムに巻かれた緯糸を緯糸係止ピンの後退により解舒するとともに、解舒された前記緯糸をメインノズル及び複数のサブノズルからのエア噴射によって筬の筬内通路を飛走させて、経糸開口内に緯入れする緯入れ動作を繰り返し行う緯入れ装置と、前記メインノズル及び前記複数のサブノズルからのエア噴射を制御する制御装置と、を備え、前記経糸開口内に前記緯糸を緯入れする際に前記緯糸が飛走する方向を緯入れ方向とすると、前記複数のサブノズルは、前記緯入れ方向に並んでおり、前記制御装置は、各回の緯入れ動作において、前記緯入れ方向の上流側に位置する前記サブノズルから下流側に位置する前記サブノズルへと順次エア噴射させるリレー制御を行うエアジェット織機であって、前記複数のサブノズルとは別に、前記緯糸に対して前記緯入れ方向の牽引力を付与するようにエア噴射を行うとともに前記制御装置によってエア噴射が制御されるアシストノズルを織幅内に備え、前記制御装置は、各回の緯入れ動作において、前記リレー制御に加えて、前記アシストノズルからエア噴射させるアシスト制御を実行可能であることを特徴とする。
【0008】
上記構成によれば、アシスト制御では、リレー制御においてエア噴射を行うサブノズルとは別のノズルであるアシストノズルによってエア噴射が行われる。このため、サブノズルによるエア噴射時間を長くしたり、サブノズルによるエア噴射回数を増やしたりすることなく、緯入れ動作を補助することができる。
【0009】
エアジェット織機において、前記緯糸が最終到達位置に到達する前の前記緯糸の飛走に関する情報を検出する緯糸検出部を備え、前記制御装置は、前記緯糸検出部からの検出結果に基づいて前記緯糸の飛走の遅れを推定する遅れ推定を行い、前記緯糸の飛走の遅れを推定した場合に、前記アシスト制御を行ってもよい。
【0010】
上記構成によれば、緯糸の飛走の遅れが制御装置によって推定された場合には、アシストノズルからのエア噴射が行われる。このため、緯糸の飛走が遅れている場合、又は遅れが予想される場合には、アシストノズルから噴射されたエアにより、緯糸の飛走が速められる。したがって、サブノズルによるエア噴射時間を長くしたり、サブノズルによるエア噴射回数を増やしたりすることなく、緯糸の飛走を速めることができる。
(【0011】以降は省略されています)
この特許をJ-PlatPat(特許庁公式サイト)で参照する
関連特許
株式会社豊田自動織機
車両
25日前
株式会社豊田自動織機
排気管
1日前
株式会社豊田自動織機
冷却装置
5日前
株式会社豊田自動織機
流体機械
29日前
株式会社豊田自動織機
耐熱部材
23日前
株式会社豊田自動織機
産業車両
23日前
株式会社豊田自動織機
流体機械
17日前
株式会社豊田自動織機
流体機械
17日前
株式会社豊田自動織機
制御装置
8日前
株式会社豊田自動織機
監視装置
5日前
株式会社豊田自動織機
燃料噴射弁
9日前
株式会社豊田自動織機
電動圧縮機
25日前
株式会社豊田自動織機
電動圧縮機
25日前
株式会社豊田自動織機
電動圧縮機
25日前
株式会社豊田自動織機
車両用機器
5日前
株式会社豊田自動織機
電力変換装置
16日前
株式会社豊田自動織機
荷役制御装置
1日前
株式会社豊田自動織機
自動運転車両
1日前
株式会社豊田自動織機
フォークリフト
16日前
株式会社豊田自動織機
インバータ装置
5日前
株式会社豊田自動織機
流体圧シリンダ
29日前
株式会社豊田自動織機
インバータ装置
24日前
株式会社豊田自動織機
段積みケース構造
1日前
株式会社豊田自動織機
燃料電池ユニット
26日前
株式会社豊田自動織機
燃料電池ユニット
26日前
株式会社豊田自動織機
走行制御システム
17日前
株式会社豊田自動織機
シートベルト装置
16日前
株式会社豊田自動織機
パレット検知装置
3日前
株式会社豊田自動織機
燃料電池システム
5日前
株式会社豊田自動織機
燃料電池システム
5日前
株式会社豊田自動織機
燃料電池システム
5日前
株式会社豊田自動織機
燃料電池モジュール
26日前
株式会社豊田自動織機
蓄電装置の製造方法
15日前
株式会社豊田自動織機
スクロール型圧縮機
1日前
株式会社豊田自動織機
燃料電池モジュール
26日前
株式会社豊田自動織機
燃料電池モジュール
26日前
続きを見る
他の特許を見る