TOP
|
特許
|
意匠
|
商標
特許ウォッチ
Twitter
他の特許を見る
公開番号
2025059514
公報種別
公開特許公報(A)
公開日
2025-04-10
出願番号
2023169645
出願日
2023-09-29
発明の名称
プレス装置、診断装置、プレス装置の健全性診断方法及び健全性診断プログラム
出願人
住友重機械工業株式会社
代理人
個人
,
個人
主分類
B30B
15/28 20060101AFI20250403BHJP(プレス)
要約
【課題】好適にクラッチ又はブレーキの健全性を診断する。
【解決手段】プレス装置1は、回転に伴ってスライド18をプレス方向に進退させるエキセン軸16と、エキセン軸16を回転駆動又は制動するクラッチ131又はブレーキ132と、クラッチ131又はブレーキ132の作動液の圧力を検出する圧力計455と、制御部53とを備える。制御部53は、作動液の温度、スライド18のプレス動作のショット回数、運転時間のうちの少なくとも1つに基づいて、スライド18の動作が安定した安定動作状態であるか否かを判定し、安定動作状態である場合、作動液の圧力に基づいて、クラッチ132又はブレーキ132の健全性を診断する。
【選択図】図4
特許請求の範囲
【請求項1】
回転に伴ってスライドをプレス方向に進退させる回転軸と、
前記回転軸を回転駆動又は制動するクラッチ又はブレーキと、
前記クラッチ又はブレーキの作動液の圧力を検出する検出部と、
前記作動液の温度、前記スライドのプレス動作のショット回数、運転時間のうちの少なくとも1つに基づいて、前記スライドの動作が安定した安定動作状態であるか否かを判定する判定部と、
前記安定動作状態である場合、前記作動液の圧力に基づいて、前記クラッチ又はブレーキの健全性を診断する診断部と、
を備えるプレス装置。
続きを表示(約 1,500 文字)
【請求項2】
前記クラッチの駆動は、最も高い第1圧力の作動液で駆動されるフルクラッチと、前記第1圧力よりも低い第2圧力の作動液で駆動されるソフトクラッチと、を含み、
前記診断部は、前記ソフトクラッチの圧力指令出力から、前記作動液の圧力が前記第2圧力を最初に超えるまでの時間に基づいて、前記クラッチの健全性を診断する、
請求項1に記載のプレス装置。
【請求項3】
前記クラッチの駆動は、最も高い第1圧力の作動液で駆動されるフルクラッチと、前記第1圧力よりも低い第2圧力の作動液で駆動されるソフトクラッチと、を含み、
前記診断部は、前記ソフトクラッチの圧力指令出力から所定時間後の作動液の圧力に基づいて、前記クラッチの健全性を診断する、
請求項1に記載のプレス装置。
【請求項4】
前記ブレーキの駆動は、所定の第3圧力の作動液で駆動されるソフトブレーキを含み、
前記診断部は、前記ソフトブレーキの圧力指令出力から、前記作動液の圧力が前記第3圧力を最初に下回るまでの時間に基づいて、前記ブレーキの健全性を診断する、
請求項1に記載のプレス装置。
【請求項5】
前記クラッチ又はブレーキは湿式である、
請求項1に記載のプレス装置。
【請求項6】
回転に伴ってスライドをプレス方向に進退させる回転軸と、前記回転軸を回転駆動又は制動するクラッチ又はブレーキと、前記クラッチ又はブレーキの作動液の圧力を検出する検出部と、を備えるプレス装置を診断する診断装置であって、
前記作動液の温度、前記スライドのプレス動作のショット回数、運転時間のうちの少なくとも1つに基づいて、前記スライドの動作が安定した安定動作状態であるか否かを判定する判定部と、
前記安定動作状態である場合、前記作動液の圧力に基づいて、前記クラッチ又はブレーキの健全性を診断する診断部と、
を備える診断装置。
【請求項7】
回転に伴ってスライドをプレス方向に進退させる回転軸と、前記回転軸を回転駆動又は制動するクラッチ又はブレーキと、前記クラッチ又はブレーキの作動液の圧力を検出する検出部と、を備えるプレス装置の健全性診断方法であって、
前記プレス装置の制御部が、
前記作動液の温度、前記スライドのプレス動作のショット回数、運転時間のうちの少なくとも1つに基づいて、前記スライドの動作が安定した安定動作状態であるか否かを判定する判定工程と、
前記安定動作状態である場合、前記作動液の圧力に基づいて、前記クラッチ又はブレーキの健全性を診断する診断工程と、
を実行する、
プレス装置の健全性診断方法。
【請求項8】
回転に伴ってスライドをプレス方向に進退させる回転軸と、前記回転軸を回転駆動又は制動するクラッチ又はブレーキと、前記クラッチ又はブレーキの作動液の圧力を検出する検出部と、を備えるプレス装置の健全性診断プログラムであって、
コンピュータを、
前記作動液の温度、前記スライドのプレス動作のショット回数、運転時間のうちの少なくとも1つに基づいて、前記スライドの動作が安定した安定動作状態であるか否かを判定する判定手段、
前記安定動作状態である場合、前記作動液の圧力に基づいて、前記クラッチ又はブレーキの健全性を診断する診断手段、
として機能させる、
プレス装置の健全性診断プログラム。
発明の詳細な説明
【技術分野】
【0001】
本発明は、プレス装置、診断装置、プレス装置の健全性診断方法及び健全性診断プログラムに関する。
続きを表示(約 1,400 文字)
【背景技術】
【0002】
従来、プレス装置として、エキセン軸の回転駆動及び制動を行う湿式のクラッチブレーキを備えるものが知られている。
特許文献1に記載のプレス装置では、クラッチブレーキのスリップ角度に基づいて当該クラッチブレーキの異常を検知している。
【先行技術文献】
【特許文献】
【0003】
特開2020-185586号公報
【発明の概要】
【発明が解決しようとする課題】
【0004】
しかしながら、クラッチブレーキのスリップ角度はそもそも正確な測定が困難なため、当該スリップ角度に基づく異常判定は難しい。特にクラッチの場合、ディスクが接触するまではスリップがゼロのため、ディスクが接触する手前のタイミングでは判定を行うことができない。
【0005】
本発明は、上記事情を鑑みてなされたもので、好適にクラッチ又はブレーキの健全性を診断することを目的とする。
【課題を解決するための手段】
【0006】
本発明に係るプレス装置は、
回転に伴ってスライドをプレス方向に進退させる回転軸と、
前記回転軸を回転駆動又は制動するクラッチ又はブレーキと、
前記クラッチ又はブレーキの作動液の圧力を検出する検出部と、
前記作動液の温度、前記スライドのプレス動作のショット回数、運転時間のうちの少なくとも1つに基づいて、前記スライドの動作が安定した安定動作状態であるか否かを判定する判定部と、
前記安定動作状態である場合、前記作動液の圧力に基づいて、前記クラッチ又はブレーキの健全性を診断する診断部と、
を備える。
【発明の効果】
【0007】
本発明によれば、好適にクラッチ又はブレーキの健全性を診断することができる。
【図面の簡単な説明】
【0008】
本実施形態に係るプレス装置の装置本体を示す図である。
本実施形態に係るクラッチブレーキの構成を説明するための図である。
本実施形態に係るプレス装置の概略の制御構成を示すブロック図である。
本実施形態における健全性診断処理の流れを示すフローチャートである。
スライドモーション全体に対応するクラッチブレーキの作動油の圧力変化の一例を示すグラフである。
クラッチの健全性診断における作動油の圧力と時間の関係を説明するためのグラフである。
ブレーキの健全性診断における作動油の圧力と時間の関係を説明するためのグラフである。
【発明を実施するための形態】
【0009】
以下、本発明の実施形態について、図面を参照して詳細に説明する。
【0010】
[プレス装置の構成]
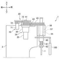
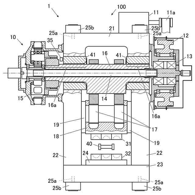
図1は、本実施形態に係るプレス装置1の装置本体100を示す図であり、図2は、装置本体100が備えるクラッチブレーキ13の構成を説明するための図である。
図1に示すように、本実施形態に係るプレス装置1は、鍛造成形を行う鍛造プレス装置であり、装置本体100を備える。装置本体100は、ベッド23、アップライト22、クラウン21、ボルスタ24、スライド18、回転量計測器35、駆動部10を備える。
(【0011】以降は省略されています)
この特許をJ-PlatPat(特許庁公式サイト)で参照する
関連特許
株式会社ヨコオ
製造装置
5か月前
日機装株式会社
加圧装置
5か月前
日機装株式会社
加圧システム
6か月前
株式会社ササキコーポレーション
圧縮装置
7か月前
株式会社ササキコーポレーション
圧縮装置
7か月前
トヨタ紡織株式会社
プレス装置
6か月前
大同工業株式会社
高温成形用金型
3か月前
住友重機械工業株式会社
プレス装置
5か月前
住友重機械工業株式会社
プレス装置
4か月前
日本発條株式会社
加工油供給方法及び装置
3か月前
株式会社石垣
スクリュープレスの外筒スクリーン洗浄方法
3か月前
株式会社西田製作所
工具ヘッドと据置台との組み合わせ
5か月前
シージーケー株式会社
プレス装置
7か月前
株式会社ジェイテクトフルードパワーシステム
加圧パンチ装置
4か月前
いすゞ自動車株式会社
成形装置
1か月前
個人
プレス機械の往復運動を利用したスクラップ搬送装置
7か月前
株式会社合同資源
金属ヨウ化物錠剤の製造方法
6か月前
大同特殊鋼株式会社
連続式真空ホットプレス装置
1か月前
株式会社金陽社
熱プレス用緩衝材
1か月前
株式会社ディムコ
ガイドユニットを備えるダブルベルトプレス装置
4か月前
トヨタ紡織株式会社
金型装置の下死点把握方法及び金型装置
7か月前
住友重機械工業株式会社
プレス装置及びプレス装置の配管工程
3か月前
トヨタ自動車株式会社
ロールプレス装置
18日前
冨士発條株式会社
プレスシステム、およびトランスファ装置
2か月前
株式会社SGIC
加熱ブロック及びダブルベルトプレス
5か月前
株式会社SGIC
冷却ブロック及びダブルベルトプレス
7か月前
UBEマシナリー株式会社
押出プレス装置の支援システム
3か月前
株式会社石垣
スクリュープレスにおける目詰まり防止機構及びそれを用いた目詰まり防止方法
5か月前
アイダエンジニアリング株式会社
プレス機械及びプレス機械の操作支援方法
1か月前
株式会社KMC
監視システム、センサープレート及び通信制御ユニット
1か月前
ノリタケ株式会社
ロールコンパクション成形装置およびロールコンパクション成形用搬送装置
11日前
住友重機械工業株式会社
プレス装置、診断装置、プレス装置の健全性診断方法及び健全性診断プログラム
6か月前
フェッテ コンパクティング ゲーエムベーハー
回転式プレス機のペレットをプレス試験する方法。
6か月前
学校法人金沢工業大学
加工機械の制御方法、加工機械の制御装置及び制御プログラム
5か月前
コマツ産機株式会社
プレス機械の金型用の予知保全システム及び予知保全のための方法
22日前
株式会社放電精密加工研究所
機械学習装置、情報処理装置、推論装置、機械学習方法、情報処理方法、及び、推論方法
今日
続きを見る
他の特許を見る