TOP
|
特許
|
意匠
|
商標
特許ウォッチ
Twitter
他の特許を見る
公開番号
2025082374
公報種別
公開特許公報(A)
公開日
2025-05-29
出願番号
2023195644
出願日
2023-11-17
発明の名称
音響調整方法、及び、音響調整装置
出願人
ヤマハ株式会社
代理人
弁理士法人旺知国際特許事務所
主分類
H03G
5/02 20060101AFI20250522BHJP(基本電子回路)
要約
【課題】ユーザの希望する音響特性を精度よく実現する。
【解決手段】音響調整方法は、音響特性の調整に用いられる操作領域ARop内のN個(Nは3以上の自然数)の特定点PsにN個の音響特性をそれぞれ対応付け、操作領域ARop内の任意の位置を選択点Puとして指定する操作(選択点Puの指定操作)を受け付け、N個の特定点Psの少なくとも1個の特定点Ps、少なくとも1個の特定点Psに対応する音響特性、及び、選択点Puに基づいて、選択点Puに対応する音響特性を選択特性として特定し、選択特性を音響特性の調整により設定される目的音響特性として確定するか否かを判定し、選択特性が目的音響特性として確定されない場合、N個の音響特性の少なくとも1個をN個の音響特性以外の他の音響特性に更新する更新処理を、選択特性及びN個の音響特性に基づいて実行し、操作(選択点Puの指定操作)を再度受け付ける。
【選択図】図4
特許請求の範囲
【請求項1】
音響特性の調整に用いられる操作領域内のN個(Nは3以上の自然数)の特定点にN個の音響特性をそれぞれ対応付け、
前記操作領域内の任意の位置を選択点として指定する操作を受け付け、
前記N個の特定点の少なくとも1個の特定点、前記少なくとも1個の特定点に対応する音響特性、及び、前記選択点に基づいて、前記選択点に対応する音響特性を選択特性として特定し、
前記選択特性を前記音響特性の調整により設定される目的音響特性として確定するか否かを判定し、
前記選択特性が前記目的音響特性として確定されない場合、前記N個の音響特性の少なくとも1個を前記N個の音響特性以外の他の音響特性に更新する更新処理を、前記選択特性及び前記N個の音響特性に基づいて実行し、前記操作を再度受け付ける、
音響調整方法。
続きを表示(約 1,100 文字)
【請求項2】
前記選択特性を特定する際に、前記操作領域内の基準点に対応する音響特性をさらに参照する、
請求項1に記載の音響調整方法。
【請求項3】
前記基準点は、前記N個の特定点の中心位置である、
請求項2に記載の音響調整方法。
【請求項4】
前記操作領域は、前記N個の特定点を頂点とする多角形である、
請求項1に記載の音響調整方法。
【請求項5】
前記N個の特定点は、4個の特定点である、
請求項4に記載の音響調整方法。
【請求項6】
前記更新処理において、前記選択特性を前記基準点に対応付ける、
請求項2又は請求項3に記載の音響調整方法。
【請求項7】
前記更新処理において、前記他の音響特性を、前記選択特性、前記N個の音響特性、及び、前記基準点に対応する音響特性に基づいて決定する、
請求項2又は請求項3に記載の音響調整方法。
【請求項8】
前記更新処理を2回以上実行する場合、2回目以降の前記更新処理において、過去の前記更新処理において参照された前記選択特性及び前記N個の音響特性も参照される、
請求項1から請求項5の何れか1項に記載の音響調整方法。
【請求項9】
前記N個の音響特性の特徴をそれぞれ示すN個のラベルを前記N個の特定点に対応付けて、表示装置に表示させる、
請求項1から請求項5の何れか1項に記載の音響調整方法。
【請求項10】
音響特性の調整に用いられる操作領域内のN個(Nは3以上の自然数)の特定点にN個の音響特性をそれぞれ対応付ける対応設定部と、
前記操作領域内の任意の位置を選択点として指定する操作を受け付ける操作受付部と、
前記N個の特定点の少なくとも1個の特定点、前記少なくとも1個の特定点に対応する音響特性、及び、前記選択点に基づいて、前記選択点に対応する音響特性を選択特性として特定する特定部と、
前記選択特性を前記音響特性の調整により設定される目的音響特性として確定するか否かを判定する判定部と、
を備え、
前記選択特性が前記目的音響特性として確定されない場合、
前記対応設定部は、前記N個の音響特性の少なくとも1個を前記N個の音響特性以外の他の音響特性に更新する更新処理を、前記選択特性及び前記N個の音響特性に基づいて実行し、
前記操作受付部は、前記操作を再度受け付ける、
音響調整装置。
発明の詳細な説明
【技術分野】
【0001】
本開示は、音響調整方法、及び、音響調整装置に関する。
続きを表示(約 2,000 文字)
【背景技術】
【0002】
音響効果を付与するイコライザー等の音響調整装置が知られている。この種の音響調整装置は、例えば、音質等の音響特性に関するパラメータ(以下、音響パラメータとも称する)の値をユーザが調整することにより、ユーザの希望する音響特性を実現する。例えば、特許文献1には、感性の言葉で表現した音質表現語対による1次元の心理カテゴリー軸を表示し、心理カテゴリー軸上の尺度値をカーソルキー等で指定することにより、試聴者(ユーザ)の希望する音質を実現する方法が開示されている。
【先行技術文献】
【特許文献】
【0003】
特開平09-051239号公報
【発明の概要】
【発明が解決しようとする課題】
【0004】
ところで、軸上の値を選択することにより、音響パラメータの値を指定する従来の方法では、当該軸に対応付けされる音響パラメータは、予め決められている。このため、例えば、操作画面等に表示される軸の数が少ない場合、軸の数が多い場合に比べて、調整対象の音響パラメータの数が少ないため、ユーザの希望する音響特性を実現できない場合がある。また、例えば、操作画面等に表示される軸の数が多い場合、軸の数が少ない場合に比べて、調整対象の音響パラメータの数が増加するため、ユーザの希望する音響特性を実現するための操作が煩わしくなる場合がある。この場合、ユーザの希望する音響特性を実現する前に操作が中断され、ユーザの希望する音響特性を実現できないおそれがある。
【0005】
以上の事情を考慮して、本開示のひとつの態様は、ユーザの希望する音響特性を精度よく実現することを目的とする。
【課題を解決するための手段】
【0006】
本開示の一態様に係る音響調整方法では、音響特性の調整に用いられる操作領域内のN個(Nは3以上の自然数)の特定点にN個の音響特性をそれぞれ対応付け、前記操作領域内の任意の位置を選択点として指定する操作を受け付け、前記N個の音響特性の少なくとも1個、前記N個の特定点の少なくとも1個、及び、前記選択点に基づいて、前記選択点に対応する音響特性を選択特性として特定し、前記選択特性を前記音響特性の調整により設定される目的音響特性として確定するか否かを判定し、前記選択特性が前記目的音響特性として確定されない場合、前記N個の音響特性の少なくとも1個を前記N個の音響特性以外の他の音響特性に更新する更新処理を、前記選択特性及び前記N個の音響特性に基づいて実行し、前記操作を再度受け付ける。
【0007】
本開示の一態様に係る音響調整装置は、音響特性の調整に用いられる操作領域内のN個(Nは3以上の自然数)の特定点にN個の音響特性をそれぞれ対応付ける対応設定部と、前記操作領域内の任意の位置を選択点として指定する操作を受け付ける操作受付部と、前記N個の音響特性の少なくとも1個、前記N個の特定点の少なくとも1個、及び、前記選択点に基づいて、前記選択点に対応する音響特性を選択特性として特定する特定部と、前記選択特性を前記音響特性の調整により設定される目的音響特性として確定するか否かを判定する判定部と、を備え、前記選択特性が前記目的音響特性として確定されない場合、前記対応設定部は、前記N個の音響特性の少なくとも1個を前記N個の音響特性以外の他の音響特性に更新する更新処理を、前記選択特性及び前記N個の音響特性に基づいて実行し、前記操作受付部は、前記操作を再度受け付ける。
【図面の簡単な説明】
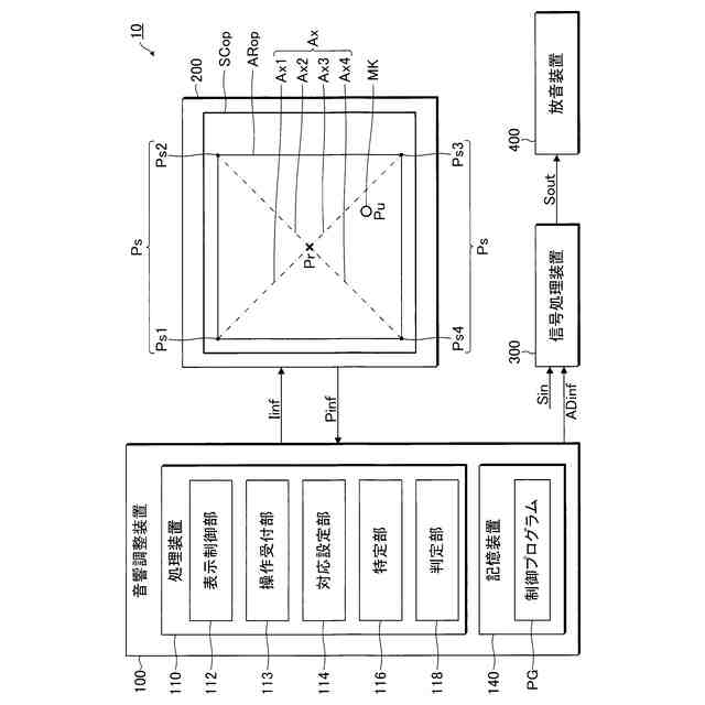
【0008】
実施形態に係る音響調整装置を説明するための説明図である。
操作画面の一例を説明するための説明図である。
1回目の更新処理が実行された後の操作画面の一例を説明するための説明図である。
音響調整装置の動作の一例を示すフローチャートである。
第1変形例に係る操作領域の一例を説明するための説明図である。
【発明を実施するための形態】
【0009】
以下、本開示の実施形態について図面を参照して説明する。なお、図面において各部の寸法及び縮尺は実際のものと適宜に異ならせてある。また、以下に記載する実施形態は、本開示の好適な具体例である。このため、本実施形態には、技術的に好ましい種々の限定が付されている。しかし、本開示の範囲は、以下の説明において特に本開示を限定する旨の記載がない限り、これらの形態に限られるものではない。
【0010】
図1は、実施形態に係る音響調整装置100を説明するための説明図である。
(【0011】以降は省略されています)
この特許をJ-PlatPat(特許庁公式サイト)で参照する
関連特許
ヤマハ株式会社
リード
1か月前
ヤマハ株式会社
鍵盤装置
2か月前
ヤマハ株式会社
鍵盤装置
4か月前
ヤマハ株式会社
信号処理装置
3か月前
ヤマハ株式会社
発音制御装置
3か月前
ヤマハ株式会社
情報処理方法
4か月前
ヤマハ株式会社
情報処理方法
4か月前
ヤマハ株式会社
イヤーピース
1か月前
ヤマハ株式会社
鍵盤装置用の鍵
3か月前
ヤマハ株式会社
ドライバユニット
3日前
ヤマハ株式会社
弦楽器用の支持装置
2か月前
ヤマハ株式会社
管楽器用部品及び管楽器
4か月前
ヤマハ株式会社
表示方法およびプログラム
4か月前
ヤマハ株式会社
音処理方法および音処理装置
10日前
ヤマハ株式会社
音処理装置および音処理方法
16日前
ヤマハ株式会社
音処理方法および音処理装置
24日前
ヤマハ株式会社
音処理システム及び音処理方法
2日前
ヤマハ株式会社
音声処理方法および音声処理装置
2日前
ヤマハ株式会社
機器制御方法および機器制御装置
4か月前
ヤマハ株式会社
信号処理方法および信号処理装置
3か月前
ヤマハ株式会社
収音制御方法および収音制御装置
2日前
ヤマハ株式会社
機器制御方法および機器制御装置
4か月前
ヤマハ株式会社
音響調整方法、及び、音響調整装置
4か月前
ヤマハ株式会社
信号処理設計方法およびプロセッサ
3か月前
ヤマハ株式会社
連打判定装置および方法、プログラム
2か月前
ヤマハ株式会社
音信号処理方法および音信号処理装置
2日前
ヤマハ株式会社
解錠管理方法および解錠管理システム
2日前
ヤマハ株式会社
駆動装置、音響装置および車両用ドア
6日前
ヤマハ株式会社
データ処理方法およびデータ処理装置
1か月前
ヤマハ株式会社
信号処理の方法、プログラムおよび装置
3日前
ヤマハ株式会社
音処理装置及び車載オーディオシステム
4か月前
ヤマハ株式会社
画像処理方法、画像処理装置及びプログラム
4日前
ヤマハ株式会社
スピーカ装置、音信号処理方法及びプログラム
2日前
ヤマハ株式会社
情報処理システム、情報処理方法及びプログラム
4か月前
ヤマハ株式会社
音響処理方法、音響処理システムおよびプログラム
3か月前
ヤマハ株式会社
情報処理方法、情報処理システムおよびプログラム
2日前
続きを見る
他の特許を見る