TOP
|
特許
|
意匠
|
商標
特許ウォッチ
Twitter
他の特許を見る
10個以上の画像は省略されています。
公開番号
2025142464
公報種別
公開特許公報(A)
公開日
2025-10-01
出願番号
2024041825
出願日
2024-03-18
発明の名称
複段圧力差生成システム
出願人
株式会社東海ヒット
代理人
個人
,
個人
主分類
G05D
16/04 20060101AFI20250924BHJP(制御;調整)
要約
【課題】1CHから複数の容器内に圧力差を生成できる、圧力差生成システムの提供。
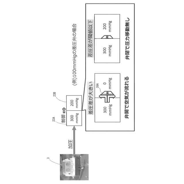
【解決手段】隣り合う2つの密閉容器23、23が差圧弁39を介して流路接続されており、例えば密閉容器23A、23B、23C、23Dが数珠繋ぎされて、直列接続になっている。そして、密閉容器23Aは圧力制御装置3に接続され、差圧弁39A、39B、39Cは圧力制御装置3側を高圧上流側として向きを揃えた状態で、それぞれの差圧差が差圧弁39A≧差圧弁39B≧差圧弁39Cになるように設定されている。また、密閉容器23Aの制御圧力は、差圧弁39Aよりも高い目標値に設定される。密閉容器23Aの制御圧力を基準に、後続の密閉容器23B、23C、……の容器内圧力が差圧差に連動するので、最上段の密閉容器23Aの容器内圧力を固定値化し、後続の密閉容器23B、23C、……の容器内圧力を安定させることが可能になっている。従って、密閉容器23Aの制御圧力と、差別弁39の差圧差を変えることで、種々の圧力パターンにできる。
【選択図】 図8
特許請求の範囲
【請求項1】
流入口の向きを一方向に揃えた無動力の差圧弁を介して直列に接続された複数の密閉容器と、最上段の密閉容器に接続されるポンプユニットを有した圧力制御装置を備え、
隣り合う前記差圧弁どうしの差圧差は、上流側が大きいかまたは同じに設定され、且つ、前記圧力制御装置の制御圧力は、前記最上段の密閉容器の容器内圧力が最上流側の差圧弁の差圧差よりも大きい目標値に設定されることで、前記複数の密閉容器のそれぞれの容器内圧力に比例変化する圧力差が生成されることを特徴とする複段圧力差生成システム。
続きを表示(約 520 文字)
【請求項2】
請求項1に記載した複段圧力差生成システムにおいて、
差圧弁の差圧差は変更可能になっており、差圧差を変更することで複数の容器のそれぞれの容器内圧力の圧力差パターンが任意のものに設定されることを特徴とする複段圧力差生成システム。
【請求項3】
請求項2に記載した複段圧力差生成システムにおいて、
ポンプユニットは正逆転可能なペリスタポンプで構成されることを特徴とする複段圧力差生成システム。
【請求項4】
請求項3に記載した複段圧力差生成システムにおいて、
差圧弁は直動式のリリーフ弁で構成されていることを特徴とする複段圧力差生成システム。
【請求項5】
請求項4に記載した複段圧力差生成システムにおいて、
密閉容器と前記密閉容器に差し込まれて内部と連通する一対のチューブとで密閉容器ユニットが構成されていることを特徴とする複段圧力差生成システム。
【請求項6】
請求項5に記載した複段圧力差生成システムにおいて、
複数の密閉容器が単一のベースプレートに取付けられて一体化されていることを特徴とする複段圧力差生成システム。
発明の詳細な説明
【技術分野】
【0001】
本発明は、1CH制御で複数の密閉容器の内部に圧力差を生成できる、複段圧力差生成システムに関するものである。
続きを表示(約 1,800 文字)
【背景技術】
【0002】
近年、生体外で臓器を創る研究が盛んになってきており、その研究を支える実験ツールとして、種々の灌流培養システムが開発されているが、生体試料への灌流液の流入を促進するために、最近では、特許文献1に記載のように、生体試料に外側から加圧することが提案されている。
【先行技術文献】
【特許文献】
【0003】
特開2021-126051号公報
【発明の概要】
【発明が解決しようとする課題】
【0004】
生体試料の種類、培養環境、更には試験目的によっては、複数の容器に圧力条件振りをしたい場合がある。また、予備試験をして好適な圧力の当たりをある程度付けてから、本試験を行う場合があるが、予備試験の回数は1回で済ませられれば好ましい。
このような試験に際して使用する圧力制御装置を1容器1CH方式で容器内圧力を制御するものにすると、1容器1CHのメリットである早い圧力応答性と高い圧力制御精度は確保されるが、容器毎にCH制御が必要となり、その分だけ構造が複雑化して高価なものになる。
一方、1CHから圧力バッファを介して複数の容器内圧力を同時に制御する複数容器1CH方式で複数の容器内圧力を制御する構成にすることも考えられるが、バッファが存在することで圧力応答が遅くなるだけでなく、流路抵抗により容器間の圧力差が生じる可能性が高い。更に、そもそも、複数の容器に圧力条件振りをすることはできない。
【0005】
本発明は上記従来の問題点に着目して為されたものであり、1CHから複数の容器内に圧力差を生成できる、新規且つ有用な複段圧力差生成システムを提供することを、その目的とする。
【課題を解決するための手段】
【0006】
本発明は上記課題を解決するためになされたものであり、流入口の向きを一方向に揃えた無動力の差圧弁を介して直列に接続された複数の密閉容器と、最上段の密閉容器に接続されるポンプユニットを有した圧力制御装置を備え、隣り合う前記差圧弁どうしの差圧差は、上流側が大きいかまたは同じに設定され、且つ、前記圧力制御装置の制御圧力は、前記最上段の密閉容器の容器内圧力が最上流側の差圧弁の差圧差よりも大きい目標値に設定されることで、前記複数の密閉容器のそれぞれの容器内圧力に比例変化する圧力差が生成されることを特徴とする複段圧力差生成システムである。
【0007】
好ましくは、差圧弁の差圧差は変更可能になっており、差圧差を変更することで複数の容器のそれぞれの容器内圧力の圧力差パターンが任意のものに設定される。
好ましくは、ポンプユニットは正逆転可能なペリスタポンプで構成される。
好ましくは、差圧弁は直動式のリリーフ弁で構成されている。
【0008】
好ましくは、密閉容器と前記密閉容器に差し込まれて内部と連通する一対のチューブとで密閉容器ユニットが構成されている。
好ましくは、複数の密閉容器が単一のベースプレートに取付けられて一体化されている。
【発明の効果】
【0009】
本発明の複段圧力差生成システムによれば、1CHから複数の容器内に圧力差を生成できる。
【図面の簡単な説明】
【0010】
本発明の実施の形態に係る複段圧力差生成システムの全体構成図である。
図1の複段圧力差生成システムの圧力制御装置の構成図である。
図1の複段圧力差生成システムにおける、密閉容器がアダプタにセットされた状態を示す斜視図である。
図3から蓋部を取り外した状態の斜視図である。
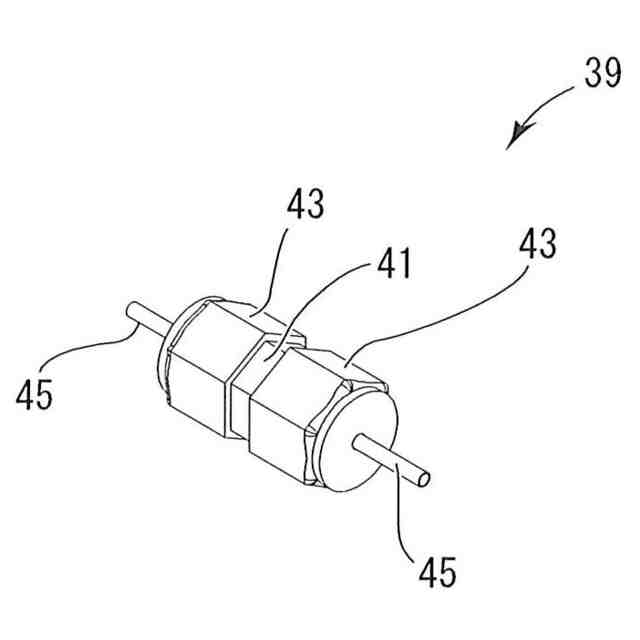
図1の複段圧力差生成システムの差圧弁の斜視図である。
図5の差圧弁の分解斜視図である。
図5の差圧弁の縦断面図である。
図1の複段圧力差生成システムにおける容器間の圧力の比例変化の確認グラフである。
図8における容器間の差圧連鎖のイメージ図である。
図1の複段圧力差生成システムにおける複数の容器間の圧力の比例変化の確認グラフである。
図10における容器間の差圧連鎖のイメージ図である。
複数の容器間の圧力条件振りの例である。
【発明を実施するための形態】
(【0011】以降は省略されています)
この特許をJ-PlatPat(特許庁公式サイト)で参照する
関連特許
株式会社カネカ
製造システム
1か月前
オムロン株式会社
スレーブ装置
8日前
ローム株式会社
基準電圧源
29日前
豊田合成株式会社
機器制御装置
4日前
株式会社ダイフク
搬送設備
18日前
トヨタ自動車株式会社
制御装置
8日前
キヤノン株式会社
配送システム
1か月前
カヤバ株式会社
減圧弁
6日前
株式会社ダイフク
物品搬送設備
18日前
株式会社CAOS
移動体の制御システム
28日前
株式会社TMEIC
安全性診断装置
12日前
ローム株式会社
電源回路用の電子負荷装置
12日前
シンフォニアテクノロジー株式会社
自動走行車両
27日前
トヨタ自動車株式会社
情報処理装置
8日前
株式会社カーメイト
アクセルペダルカバー
4日前
株式会社マキタ
運搬車
12日前
株式会社マキタ
運搬車
12日前
株式会社東海ヒット
複段圧力差生成システム
6日前
IDEC株式会社
教示装置
4日前
オムロン株式会社
IOターミナル
8日前
キヤノン株式会社
自律移動体制御システム
1か月前
株式会社マキタ
運搬システム
12日前
ローム株式会社
定電圧生成回路
18日前
オムロン株式会社
セーフティデバイス
8日前
川崎重工業株式会社
ロボットシステム
28日前
川崎重工業株式会社
ロボットシステム
28日前
川崎重工業株式会社
位置情報システム
28日前
ファナック株式会社
迅速な移動のタッピング方法
8日前
富士電機株式会社
制御装置、制御方法、及びプログラム
1か月前
ヤマハ発動機株式会社
生産システム
19日前
オムロン株式会社
リモート安全入出力装置
8日前
NTN株式会社
診断装置、および診断方法
8日前
株式会社日立製作所
形状制御システム
6日前
株式会社日立製作所
異常検知システム及び異常検知方法
18日前
東洋製罐株式会社
製造システム、製造方法
18日前
パナソニックIPマネジメント株式会社
多方向入力装置
1か月前
続きを見る
他の特許を見る