TOP
|
特許
|
意匠
|
商標
特許ウォッチ
Twitter
他の特許を見る
10個以上の画像は省略されています。
公開番号
2025143703
公報種別
公開特許公報(A)
公開日
2025-10-02
出願番号
2024043073
出願日
2024-03-19
発明の名称
蓄電装置
出願人
トヨタ自動車株式会社
代理人
弁理士法人深見特許事務所
主分類
H01M
50/293 20210101AFI20250925BHJP(基本的電気素子)
要約
【課題】蓄電セルと、収容ケースと、蓄電セルを収容ケースに固定するために接着剤とを備えた蓄電装置において、接着剤の剥離の伝播が抑制された蓄電装置を提供する。
【解決手段】蓄電装置は、収容ケースと、収容ケース内に収容された少なくとも1つの蓄電セル11と、少なくとも1つの蓄電セル11を収容ケースに固定する接着層29と、を備え、収容ケースは、上下方向に配列する第1主壁および第2主壁を含み、接着層29は、少なくとも1つの蓄電セル11を第1主壁に接着しており、少なくとも1つの蓄電セル11は、第1主壁の外周縁部側に位置する第1部分PA1,PA2と、第1部分PA1,PA2よりも第1主壁の中央側に位置する第2部分PA3とを含み、接着層29は、第1部分PA1,PA2を第1主壁に固定する第1接着部分60,61と、第2部分PA3を第1主壁に固定する第2接着部分62とを含む。
【選択図】図7
特許請求の範囲
【請求項1】
収容ケースと、
少なくとも一部が、前記収容ケース内に収容された、少なくとも1つの蓄電セルと、
前記少なくとも1つの蓄電セルを前記収容ケースに固定する接着層と、
を備え、
前記収容ケースは、上下方向に配列する第1主壁および第2主壁を含み、
前記接着層は、前記少なくとも1つの蓄電セルを前記第1主壁に接着しており、
前記少なくとも1つの蓄電セルは、前記第1主壁の外周縁部側に位置する第1部分と、前記第1部分よりも前記第1主壁の中央側に位置する第2部分とを含み、
前記接着層は、前記第1部分を前記第1主壁に固定する第1接着部分と、前記第2部分を前記第1主壁に固定する第2接着部分とを含み、
前記第1接着部分のヤング率は、前記第2接着部分のヤング率よりも小さい、蓄電装置。
続きを表示(約 880 文字)
【請求項2】
前記第1接着部分の幅は、前記第2接着部分の幅よりも小さい、請求項1に記載の蓄電装置。
【請求項3】
前記第1接着部分および前記第2接着部分は、間隔をあけて形成されている、請求項1に記載の蓄電装置。
【請求項4】
前記第1接着部分は、前記少なくとも1つの蓄電セルの長手方向に間隔をあけて配置された複数の第1分割接着部を含む、請求項1に記載の蓄電装置。
【請求項5】
前記第2接着部分は、前記少なくとも1つの蓄電セルの長手方向に間隔をあけて配置された複数の第2分割接着部を含む、請求項1に記載の蓄電装置。
【請求項6】
前記第2接着部分は、中央接着部分と、前記中央接着部分および前記第1接着部分の間に配置された中間接着部分とを含み、
前記中間接着部分のヤング率は、前記中央接着部分のヤング率よりも小さい、請求項1に記載の蓄電装置。
【請求項7】
前記少なくとも1つの蓄電セルの長手方向において、前記中央接着部分の長さは、前記中間接着部分の長さよりも長い、請求項6に記載の蓄電装置。
【請求項8】
前記少なくとも1つの蓄電セルは、長手方向に長尺に形成されており、
前記少なくとも1つの蓄電セルは、配列方向に複数設けられており、
前記第1接着部分および前記第2接着部分は、前記配列方向に延びるように形成された、請求項1に記載の蓄電装置。
【請求項9】
前記少なくとも1つの蓄電セルは、セルケースと、前記セルケースの外周面を被覆する被覆膜とを含み、
前記被覆膜には、前記第1部分に位置する部分に複数の孔が形成された、請求項1に記載の蓄電装置。
【請求項10】
前記少なくとも1つの蓄電セルの長手方向において、前記少なくとも1つの蓄電セルの長さを全長とすると、
前記第1接着部分の幅は、前記全長の10%以上20%以下である、請求項1に記載の蓄電装置。
(【請求項11】以降は省略されています)
発明の詳細な説明
【技術分野】
【0001】
本開示は、蓄電装置に関する。
続きを表示(約 1,100 文字)
【背景技術】
【0002】
従来から各種の蓄電装置が提案されている。たとえば、特開2023-14517号公報に記載された蓄電装置は、ロアーケースと、ロアーケースの上面に配置された複数の電池セルと、ロアーケースおよび電池セルの間に配置された伝熱部材とを備えている。
【先行技術文献】
【特許文献】
【0003】
特開2023-14517号公報
【発明の概要】
【発明が解決しようとする課題】
【0004】
ここで、複数の蓄電セルと、収容ケースとを備えた蓄電装置において、蓄電セルを収容ケースに固定するために接着剤を採用することが考えられる。
【0005】
その一方で、蓄電装置に外力が加えられた際に、接着剤の一部(特に外周縁部)に剥離が生じるおそれがある。
【0006】
本開示は、上記のような課題に鑑みてなされたものであって、その目的は、蓄電セルと、収容ケースと、蓄電セルを収容ケースに固定するために接着剤とを備えた蓄電装置において、接着剤の剥離が抑制された蓄電装置を提供することである。
【課題を解決するための手段】
【0007】
蓄電装置は、収容ケースと、収容ケース内に収容された少なくとも1つの蓄電セルと、少なくとも1つの蓄電セルを収容ケースに固定する接着層と、を備える。
【0008】
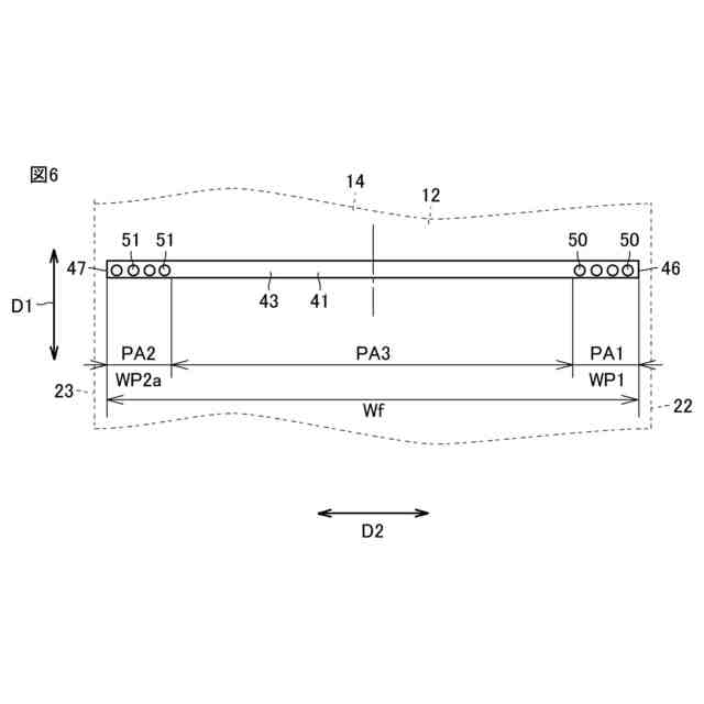
収容ケースは、上下方向に配列する第1主壁および第2主壁を含み、接着層は、蓄電セルを第1主壁に接着しており、少なくとも1つの蓄電セルは、第1主壁の外周縁部側に位置する第1部分と、第1部分よりも第1主壁の中央側に位置する第2部分とを含み、接着層は、第1部分を第1主壁に固定する第1接着部分と、第2部分を第1主壁に固定する第2接着部分とを含み、第1接着部分のヤング率は、第2接着部分のヤング率よりも小さい。
【0009】
上記の蓄電装置によれば、第1主壁の外周縁部側が下方に向けて撓むように変形した場合において、第1接着部分のヤング率が小さいため、第1接着部分はよく伸びる。これにより、第1接着部分において、剥離などが生じることが抑制される。その一方で、第2接続部分はヤング率が大きく、硬度が高い。これにより、第1主壁と蓄電セルとの接着を強固にすることができる。
【発明の効果】
【0010】
本開示に係る蓄電装置によれば、蓄電セルと、収容ケースと、蓄電セルを収容ケースに固定するために接着剤とを備えた蓄電装置において、接着剤の剥離を抑制することができる。
【図面の簡単な説明】
(【0011】以降は省略されています)
この特許をJ-PlatPat(特許庁公式サイト)で参照する
関連特許
トヨタ自動車株式会社
車両
1か月前
トヨタ自動車株式会社
車両
6日前
トヨタ自動車株式会社
装置
26日前
トヨタ自動車株式会社
車両
2日前
トヨタ自動車株式会社
電池
6日前
トヨタ自動車株式会社
装置
26日前
トヨタ自動車株式会社
車両
27日前
トヨタ自動車株式会社
車両
2日前
トヨタ自動車株式会社
車両
16日前
トヨタ自動車株式会社
車両
25日前
トヨタ自動車株式会社
車両
1か月前
トヨタ自動車株式会社
車両
1か月前
トヨタ自動車株式会社
ロータ
4日前
トヨタ自動車株式会社
モータ
17日前
トヨタ自動車株式会社
回転子
17日前
トヨタ自動車株式会社
電動車
16日前
トヨタ自動車株式会社
電動車
4日前
トヨタ自動車株式会社
電動車
2日前
トヨタ自動車株式会社
電動車
2日前
トヨタ自動車株式会社
電動車
2日前
トヨタ自動車株式会社
サーバ
10日前
トヨタ自動車株式会社
回転子
2日前
トヨタ自動車株式会社
電解液
2日前
トヨタ自動車株式会社
蓄電装置
6日前
トヨタ自動車株式会社
蓄電装置
2日前
トヨタ自動車株式会社
送電装置
1か月前
トヨタ自動車株式会社
制御装置
6日前
トヨタ自動車株式会社
加熱装置
16日前
トヨタ自動車株式会社
塗布装置
4日前
トヨタ自動車株式会社
制御装置
1か月前
トヨタ自動車株式会社
蓄電装置
4日前
トヨタ自動車株式会社
蓄電セル
4日前
トヨタ自動車株式会社
駆動装置
2日前
トヨタ自動車株式会社
育苗装置
3日前
トヨタ自動車株式会社
溶接装置
1か月前
トヨタ自動車株式会社
冷却構造
9日前
続きを見る
他の特許を見る