TOP
|
特許
|
意匠
|
商標
特許ウォッチ
Twitter
他の特許を見る
公開番号
2025141195
公報種別
公開特許公報(A)
公開日
2025-09-29
出願番号
2024041018
出願日
2024-03-15
発明の名称
蓄電装置
出願人
トヨタ自動車株式会社
代理人
弁理士法人酒井国際特許事務所
主分類
H01M
50/262 20210101AFI20250919BHJP(基本的電気素子)
要約
【課題】電池セルの膨張時に電池セルに対して過剰な荷重がかかるのを抑制することができる蓄電装置を提供すること。
【解決手段】本発明の蓄電装置は、複数の電池セルが積層された電池モジュールと、複数の電池セルの積層方向に拘束荷重を付与する複数の弾性部材と、電池セルと弾性部材との間に積層方向で移動可能に配置されたプレートと、プレートに設けられた圧力センサと、を備える蓄電装置であって、複数の弾性部材のうちの少なくともいずれか1つは、積層方向でプレートと接触しており、電池セルと弾性部材とでプレートが挟まれた状態で圧力センサが出力する値が閾値以上になった場合に、プレートと接触している弾性部材を収縮させる弾性部材収縮機構を備える。
【選択図】図2
特許請求の範囲
【請求項1】
複数の電池セルが積層された電池モジュールと、
前記複数の電池セルの積層方向に拘束荷重を付与する複数の弾性部材と、
前記電池セルと前記弾性部材との間に前記積層方向で移動可能に配置されたプレートと、
前記プレートに設けられた圧力センサと、
を備える蓄電装置であって、
前記複数の弾性部材のうちの少なくともいずれか1つは、前記積層方向で前記プレートと接触しており、
前記電池セルと前記弾性部材とで前記プレートが挟まれた状態で前記圧力センサが出力する値が閾値以上になった場合に、前記プレートと接触している前記弾性部材を収縮させる弾性部材収縮機構を備えることを特徴とする蓄電装置。
発明の詳細な説明
【技術分野】
【0001】
本発明は、蓄電装置に関する。
続きを表示(約 1,400 文字)
【背景技術】
【0002】
特許文献1には、複数の電池セルを積層方向で拘束する拘束荷重を、電池セルが収縮した場合に切り替え可能な切替装置を備えた蓄電装置が開示されている。
【先行技術文献】
【特許文献】
【0003】
特開2022-114625号公報
【発明の概要】
【発明が解決しようとする課題】
【0004】
しかしながら、特許文献1に開示された蓄電装置では、電池セルが劣化して膨張した場合に電池セルに対して過剰な荷重がかかる虞がある。
【0005】
本発明は、上記課題に鑑みてなされたものであって、その目的は、電池セルの膨張時に電池セルに対して過剰な荷重がかかるのを抑制することができる蓄電装置を提供することである。
【課題を解決するための手段】
【0006】
上述した課題を解決し、目的を達成するために、本発明に係る蓄電装置は、複数の電池セルが積層された電池モジュールと、前記複数の電池セルの積層方向に拘束荷重を付与する複数の弾性部材と、前記電池セルと前記弾性部材との間に前記積層方向で移動可能に配置されたプレートと、前記プレートに設けられた圧力センサと、を備える蓄電装置であって、前記複数の弾性部材のうちの少なくともいずれか1つは、前記積層方向で前記プレートと接触しており、前記電池セルと前記弾性部材とで前記プレートが挟まれた状態で前記圧力センサが出力する値が閾値以上になった場合に、前記プレートと接触している前記弾性部材を収縮させる弾性部材収縮機構を備えることを特徴とするものである。
【発明の効果】
【0007】
本発明に係る蓄電装置は、電池セルの膨張時に電池セルに対して過剰な荷重がかかるのを抑制することができるという効果を奏する。
【図面の簡単な説明】
【0008】
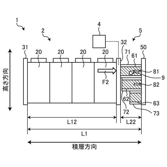
図1は、実施形態に係る蓄電装置の概略構成を示す図である。
図2は、実施形態に係る蓄電装置の電池セルが膨張した状態を示す図である。
図3は、実施形態に係る蓄電装置の第一弾性部材を収縮させた状態を示す図である。
【発明を実施するための形態】
【0009】
以下に、本発明に係る蓄電装置の実施形態について説明する。なお、本実施形態により本発明が限定されるものではない。
【0010】
図1は、実施形態に係る蓄電装置1の概略構成を示す図である。実施形態に係る蓄電装置1は、例えば、電動車両に搭載される電池パックであって、電動車両の駆動源であるモータに電力を供給する電力供給源である。実施形態に係る蓄電装置1は、電池モジュール2、一対のエンドプレート31,32(第一エンドプレート31及び第二エンドプレート32)、圧力センサ4、及び、荷重付与装置5などを備えている。電池モジュール2は、複数の電池セル20が積層されて構成されている。複数の電池セル20の積層方向で電池モジュール2の両端には、複数の電池セル20を挟み込むように第一エンドプレート31と第二エンドプレート32とが設けられている。第一エンドプレート31と第二エンドプレート32とは、板状の形状を有しており、例えば、金属によって構成されている。第二エンドプレート32には、電池モジュール2(複数の電池セル20)から第二エンドプレート32にかかる荷重を検知する圧力センサ4が設けられている。
(【0011】以降は省略されています)
この特許をJ-PlatPat(特許庁公式サイト)で参照する
関連特許
トヨタ自動車株式会社
車両
1日前
トヨタ自動車株式会社
電池
3日前
トヨタ自動車株式会社
車両
2日前
トヨタ自動車株式会社
固定子
2日前
トヨタ自動車株式会社
加熱器
1日前
トヨタ自動車株式会社
車両構造
1日前
トヨタ自動車株式会社
路側装置
3日前
トヨタ自動車株式会社
バッテリ
2日前
トヨタ自動車株式会社
バッテリ
2日前
トヨタ自動車株式会社
塗工装置
2日前
トヨタ自動車株式会社
二次電池
2日前
トヨタ自動車株式会社
製造装置
2日前
トヨタ自動車株式会社
監視装置
2日前
トヨタ自動車株式会社
蓄電装置
1日前
トヨタ自動車株式会社
制御装置
3日前
トヨタ自動車株式会社
制御装置
1日前
トヨタ自動車株式会社
通話装置
1日前
トヨタ自動車株式会社
車載装置
1日前
トヨタ自動車株式会社
ガスタンク
1日前
トヨタ自動車株式会社
三角表示板
1日前
トヨタ自動車株式会社
情報処理装置
1日前
トヨタ自動車株式会社
情報処理装置
1日前
トヨタ自動車株式会社
被膜形成装置
2日前
トヨタ自動車株式会社
車両前部構造
2日前
トヨタ自動車株式会社
車両前部構造
2日前
トヨタ自動車株式会社
制御システム
1日前
トヨタ自動車株式会社
車両下部構造
2日前
トヨタ自動車株式会社
車両製造方法
2日前
トヨタ自動車株式会社
車載システム
1日前
トヨタ自動車株式会社
情報提供装置
2日前
トヨタ自動車株式会社
電池交換装置
2日前
トヨタ自動車株式会社
車両制御装置
2日前
トヨタ自動車株式会社
情報処理装置
2日前
トヨタ自動車株式会社
電力制御装置
2日前
トヨタ自動車株式会社
人工筋肉装置
2日前
トヨタ自動車株式会社
車両制御装置
2日前
続きを見る
他の特許を見る