TOP
|
特許
|
意匠
|
商標
特許ウォッチ
Twitter
他の特許を見る
公開番号
2025099468
公報種別
公開特許公報(A)
公開日
2025-07-03
出願番号
2023216147
出願日
2023-12-21
発明の名称
軌条運搬台車、および軌条運搬装置
出願人
光永産業株式会社
代理人
個人
,
個人
主分類
B61B
13/04 20060101AFI20250626BHJP(鉄道)
要約
【課題】荷台の角度を変更する際の安全性を向上させることができる。
【解決手段】
軌条2を走行する軌条運搬台車4であって、台車本体41と、台車本体41の下面に設けられ、軌条2上を転輪する車輪42と、台車本体41上に変位可能に設けられた荷台43と、台車本体41の前端部および荷台43の前端部において、台車本体41に対し荷台43を回動可能に軸支する荷台軸支部44と、前記台車本体および前記荷台の間に介在し、一方端部が台車本体41に接続され、他方端部が荷台43に接続され、油圧で伸縮駆動するアクチュエータ61と、アクチュエータ61を伸縮駆動させる油圧駆動部60と、台車本体41の後端部に配置され、油圧駆動部60に電源を供給する発電機5と、発電機5を操作するための操作部7を備え、操作部7は、台車本体41の前端部または荷台43の前端部に配置された構成である。
【選択図】図2
特許請求の範囲
【請求項1】
軌条を走行する軌条運搬台車であって、
台車本体と、
前記台車本体の下面に設けられ、前記軌条上を転輪する車輪と、
前記台車本体上に変位可能に設けられた荷台と、
前記台車本体の前端部および前記荷台の前端部において、前記台車本体に対し前記荷台を回動可能に軸支する荷台軸支部と、
前記台車本体および前記荷台の間に介在し、一方端部が前記台車本体に接続され、他方端部が前記荷台に接続され、油圧で伸縮駆動するアクチュエータと、
前記アクチュエータを伸縮駆動させる油圧駆動部と、
前記台車本体の後端部に配置され、前記油圧駆動部に電源を供給する発電機と、
前記発電機を操作するための操作部を備え、
前記操作部は、前記台車本体の前端部または前記荷台の前端部に配置された構成である
軌条運搬台車。
続きを表示(約 710 文字)
【請求項2】
前記台車本体に設けられ、前記油圧駆動部を収納する油圧駆動部収納部をさらに備え、
前記車輪は、前記台車本体の前側下面に設けられ、前記軌条上を転輪する前側車輪と、前記台車本体の後側下面に設けられ、前記軌条上を転輪する後側車輪とを有し、
前記油圧駆動部収納部は、前後方向において前記前側車輪および前記後側車輪の間に配置され、
前記操作部は、前記油圧駆動部収納部よりも前方に配置された構成である
請求項1記載の軌条運搬台車。
【請求項3】
前記台車本体に設けられ、収縮した状態の前記アクチュエータを収納するアクチュエータ収納部をさらに備え、
前記操作部は、前記アクチュエータ収納部よりも前方に配置された構成である
請求項2記載の軌条運搬台車。
【請求項4】
前記発電機は発動発電機であり、
前記発動発電機を前記台車本体に回動可能に軸支する発電機軸支部と、
前記操作部および前記発動発電機の間に設けられ、当該発動発電機の吸気量を調整するためのチョークワイヤとを備え、
前記発電機は、自重によって水平状態若しくはこれに近い状態に維持される構成であり、
前記チョークワイヤの長さは、前記発電機軸支部の軸線と、チョークワイヤおよび前記発動発電機の接続部との距離の1/3以上の余裕をもって設定されている
請求項1、2または3記載の軌条運搬台車。
【請求項5】
請求項1記載の軌条運搬台車と、
前記軌条を走行し、前記軌条運搬台車を牽引する牽引車とを備えた
軌条運搬装置。
発明の詳細な説明
【技術分野】
【0001】
この発明は、たとえば、傾斜地に敷設した軌条に沿って物を運ぶような軌条運搬台車、および軌条運搬装置に関する。
続きを表示(約 1,400 文字)
【背景技術】
【0002】
従来、山林等の傾斜地で物を運搬するための軌条運搬機が使用されている。たとえば、傾斜地に設置された軌条上を走行する牽引車と、牽引車に連結されて牽引車とともに軌条上を走行する運搬台車とから構成される軌条運搬車が提案されている(特許文献1参照)。
【0003】
特許文献1記載の運搬台車は、軌条上を転輪する車輪が設けられた台車本体と、台車本体上に設けられた荷台と、台車本体および荷台を接続する接続機構とを備えている。
【0004】
特許文献1記載の運搬台車における接続機構は、伸縮アクチュエータと、4つの枢支手段と、各枢支手段による接続を開放して非接続状態にする開放手段とを備えている。特許文献1記載の運搬台車では、伸縮アクチュエータおよび接続機構を適宜制御することにより、荷台の角度を適宜変更することができる。
【0005】
しかしながら、特許文献1記載の運搬台車では、荷台の角度を変更する際に荷台の後端部を押し上げるなどして伸縮アクチュエータを伸ばす必要があり、大きく変位する荷台の後端部付近での作業が必要となるため作業時の安全性の観点で問題がある。
【先行技術文献】
【特許文献】
【0006】
特開2013-163505号公報
【発明の概要】
【発明が解決しようとする課題】
【0007】
本願発明は、上述の問題に鑑みてなされたものであり、荷台の角度を変更する際の安全性を向上させた、軌条運搬台車、および軌条運搬装置を提供することを目的とする。
【課題を解決するための手段】
【0008】
本発明は、傾斜地に設置された軌条を走行する軌条運搬台車であって、台車本体と、前記台車本体の下面に設けられ、前記軌条上を転輪する車輪と、前記台車本体上に変位可能に設けられた荷台と、前記台車本体および前記荷台の双方の前端部において、前記台車本体に対し前記荷台を回動可能に軸支する荷台軸支部と、一方端部が前記台車本体の上面に接続され、他方端部が前記荷台の下面に接続され、油圧で伸縮駆動するアクチュエータと、前記アクチュエータを伸縮駆動させる油圧駆動部と、前記台車本体の後端部に配置され、前記油圧駆動部に電源を供給する発電機と、前記発電機を操作するための操作部を備え、前記操作部は、前記台車本体の前端部または前記荷台の前端部に配置された構成である軌条運搬台車、および軌条運搬装置であることを特徴とする。
【発明の効果】
【0009】
本願発明により、荷台の角度を変更する際の安全性を向上させた、軌条運搬台車、および軌条運搬装置を提供できる。
【図面の簡単な説明】
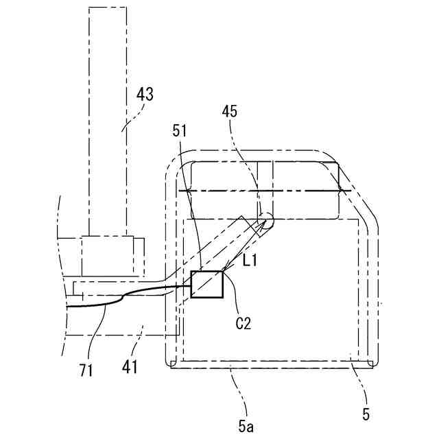
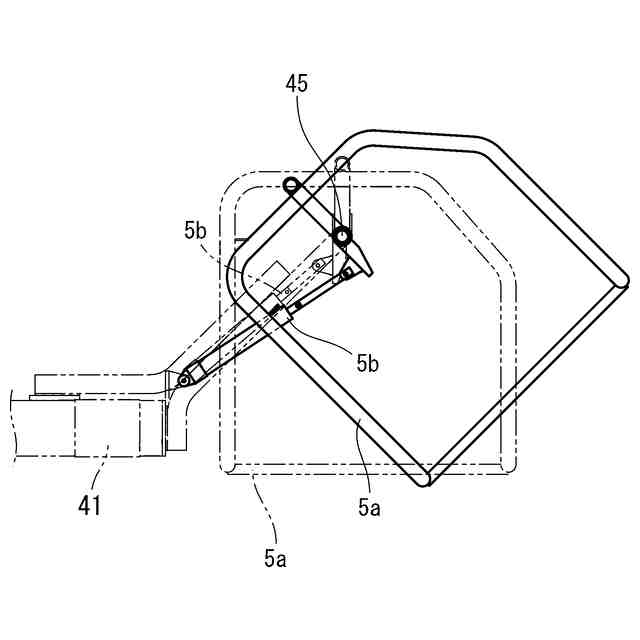
【0010】
平地における本発明の軌条運搬システムの構成を示す説明図。
荷台リフトアップ時の本発明の軌条運搬システムの構成を示す説明図。
本発明の軌条運搬台車および操作部の構成を示す説明図。
傾斜地における軌条運搬台車および操作部の構成を示す説明図。
チョークワイヤの余裕長を示す説明図。
振動抑制部の構成を示す説明図。
変形実施形態におけるチョークワイヤの構成を示す説明図。
【発明を実施するための形態】
(【0011】以降は省略されています)
この特許をJ-PlatPat(特許庁公式サイト)で参照する
関連特許
光永産業株式会社
軌条運搬台車、および軌条運搬装置
3か月前
日本信号株式会社
ホーム柵
1か月前
日本信号株式会社
ホーム柵
1か月前
日本信号株式会社
検査装置
9か月前
個人
車両及び走行システム
5か月前
近畿車輌株式会社
耐火床構造
14日前
日本車輌製造株式会社
鉄道車両
6日前
日本信号株式会社
ホーム柵装置
6か月前
日本車輌製造株式会社
台車組立装置
4か月前
日本信号株式会社
列車接近警報装置
2か月前
近畿車輌株式会社
鉄道車両の床構造
10か月前
近畿車輌株式会社
鉄道車両の床構造
10か月前
近畿車輌株式会社
鉄道車両の床構造
10か月前
ナブテスコ株式会社
ホームドア装置
2か月前
川崎車両株式会社
鉄道車両用パネル
8か月前
カヤバ株式会社
鉄道車両用制振装置
9か月前
保線機器整備株式会社
保線用カート
8か月前
日本信号株式会社
ホームドア制御装置
3か月前
日本信号株式会社
物体検知装置
6か月前
日本ケーブル株式会社
索道の支索引留め装置
2か月前
日本信号株式会社
ホーム安全システム
6か月前
株式会社東芝
台車搬送装置
10日前
株式会社ダイフク
搬送車
4か月前
日本信号株式会社
踏切道監視システム
10か月前
ヤマハ発動機株式会社
無人搬送車
6か月前
ヤマハ発動機株式会社
無人搬送車
4か月前
株式会社日立製作所
鉄道車両
18日前
ヤマハ発動機株式会社
無人搬送車
6か月前
ヤマハ発動機株式会社
無人搬送車
6か月前
株式会社ダイフク
搬送設備
5か月前
シャープ株式会社
表示装置
11か月前
前川鉄工株式会社
ロープ駆動装置
11か月前
株式会社京三製作所
車上装置
7か月前
日本製鉄株式会社
鉄道車両
7か月前
日本製鉄株式会社
鉄道車両
7か月前
株式会社 空スペース
跨座式モノレールシステム
9か月前
続きを見る
他の特許を見る