TOP
|
特許
|
意匠
|
商標
特許ウォッチ
Twitter
他の特許を見る
公開番号
2025100043
公報種別
公開特許公報(A)
公開日
2025-07-03
出願番号
2023217127
出願日
2023-12-22
発明の名称
バルブ装置
出願人
Astemo株式会社
代理人
弁理士法人はなぶさ特許商標事務所
主分類
B61F
5/10 20060101AFI20250626BHJP(鉄道)
要約
【課題】ばね部材の延出部と外周アーム部材との間に隙間が発生するのを防止したバルブ装置を提供する。
【解決手段】ばねアーム連結部131の断面を台形に形成し、ばねアーム連結部131の角部134,135をばね部材111の延出部113,114に接触させ、かつ、ばねアーム連結部131の角部136,137と、ばね部材111の曲げ部115,116との間に隙間を形成したので、ばね部材111の延出部113,114を、ばねアーム部材121のばねアーム連結部131と外周アーム部材141の外周アーム連結部151とに隙間なく接触させることができる。
【選択図】図5
特許請求の範囲
【請求項1】
流体源又は外部と流体作動機器との間に設けられ、前記流体作動機器への流体の給排を制御するバルブ装置であって、
前記バルブ装置は、
前記流体源又は前記外部と前記流体作動機器とを連通する通路が形成されたハウジングと、
前記ハウジングによって回転可能に支持される軸部材と、
前記軸部材が挿入されるコイル部と、前記コイル部の両端から外側へ延出する延出部と、前記コイル部と前記延出部との間に形成された曲げ部と、を有するばね部材と、
前記コイル部を間に入れて前記軸部材の軸方向両側に配置され、前記軸部材の径方向へ延び、前記軸部材に回転不能に接続されるばねアーム接続部と、前記軸方向へ延び、前記ばねアーム接続部間を連結するばねアーム連結部と、を有するばねアーム部材と、
前記ばねアーム部材の前記軸方向両側に配置され、前記径方向へ延び、前記軸部材に回転可能に接続される外周アーム接続部と、前記軸方向へ延び、前記外周アーム接続部間を連結する外周アーム連結部と、を有する外周アーム部材と、
を備え、
前記ばね部材は、前記延出部が、前記ばねアーム連結部と前記外周アーム連結部とを幅方向に挟むように配置され、
前記ばねアーム連結部は、前記軸部材側の幅が、前記軸部材とは反対側の幅よりも小さく形成され、
前記外周アーム連結部は、前記軸部材側の幅が、前記軸部材とは反対側の幅よりも大きく形成されているバルブ装置。
続きを表示(約 490 文字)
【請求項2】
請求項1に記載のバルブ装置であって、
前記外周アーム連結部は、前記ばねアーム連結部との対向部に前記軸方向へ延びる溝部が形成されているバルブ装置。
【請求項3】
請求項2に記載のバルブ装置であって、
前記溝部は、前記軸方向に垂直な平面による断面が円弧形に形成されているバルブ装置。
【請求項4】
請求項1又は2に記載のバルブ装置であって、
前記延出部は、前記ばねアーム連結部又は前記外周アーム連結部と接触する部分に、前記ばねアーム連結部又は前記外周アーム連結部の一部を収容する収容部が形成されているバルブ装置。
【請求項5】
請求項4に記載のバルブ装置の製造方法であって、
前記ばね部材の前記延出部間で前記ばねアーム連結部及び前記外周アーム連結部を挟持する工程と、
前記延出部を前記ばねアーム連結部及び前記外周アーム連結部に押圧して、前記延出部に前記ばねアーム連結部及び前記外周アーム連結部の一部を収容する収容部を形成する工程と、
を有するバルブ装置の製造方法。
発明の詳細な説明
【技術分野】
【0001】
本発明は、鉄道車両用自動高さ調節弁に適用されるバルブ装置に関する。
続きを表示(約 2,200 文字)
【背景技術】
【0002】
特許文献1には、車体と台車との相対移動に連動するレバーの回転量に応じて給気側ニードル弁又は排気側ニードル弁が進退することで、空気ばねに空気が給排される鉄道車両用空気ばね高さ調整機構(バルブ装置)が開示されている。このようなバルブ装置では、レバーに接続された従動軸の回転運動がばねアーム部材及びばね部材を介して外周アーム部材に伝達され、外周アーム部材から従動軸の径方向外側へ延びる駆動アームによって給気側ニードル弁又は排気側ニードル弁の弁軸が駆動される(特許文献1の[図16]参照)。
【先行技術文献】
【特許文献】
【0003】
特許第4395590号公報
【発明の概要】
【発明が解決しようとする課題】
【0004】
前述したバルブ装置では、ばね部材(ねじりコイルばね)の一端側の延出部をばねアーム部材及び外周アーム部材の幅方向一側に接触させ、かつ他端側の延出部をばねアーム部材及び外周アーム部材の幅方向他側に接触させる必要がある。しかし、従来のバルブ装置では、ばねアーム部材が、ばね部材のコイル部と延出部との間に形成された曲げ部の内周R部に接触し、ばね部材の延出部と外周アーム部材との間に隙間が発生する課題がある。
【0005】
本発明は、ばね部材の延出部と外周アーム部材との間に隙間が発生するのを防止したバルブ装置を提供することを課題とする。
【課題を解決するための手段】
【0006】
本発明のバルブ装置は、流体源又は外部と流体作動機器とを連通する通路が形成されたハウジングと、前記ハウジングによって回転可能に支持される軸部材と、前記軸部材が挿入されるコイル部と、前記コイル部の両端から外側へ延出する延出部と、前記コイル部と前記延出部との間に形成された曲げ部と、を有するばね部材と、前記コイル部を間に入れて前記軸部材の軸方向両側に配置され、前記軸部材の径方向へ延び、前記軸部材に回転不能に接続されるばねアーム接続部と、前記軸方向へ延び、前記ばねアーム接続部間を連結するばねアーム連結部と、を有するばねアーム部材と、前記ばねアーム部材の前記軸方向両側に配置され、前記径方向へ延び、前記軸部材に回転可能に接続される外周アーム接続部と、前記軸方向へ延び、前記外周アーム接続部間を連結する外周アーム連結部と、を有する外周アーム部材と、を備え、前記ばね部材は、前記延出部が、前記ばねアーム連結部と前記外周アーム連結部とを幅方向に挟むように配置され、前記ばねアーム連結部は、前記軸部材側の幅が、前記軸部材とは反対側の幅よりも小さく形成され、前記外周アーム連結部は、前記軸部材側の幅が、前記軸部材とは反対側の幅よりも大きく形成されていることを特徴とする。
本発明のバルブ装置の製造方法は、ばね部材の延出部間でばねアーム連結部及び外周アーム連結部を挟持する工程と、前記延出部を前記ばねアーム連結部及び前記外周アーム連結部に押圧して、前記延出部に前記ばねアーム連結部及び前記外周アーム連結部の一部を収容する収容部を形成する工程と、を有することを特徴とする。
【発明の効果】
【0007】
本発明によれば、ばね部材の延出部と外周アーム部材との間に隙間が発生するのを防止したバルブ装置を提供することができる。
【図面の簡単な説明】
【0008】
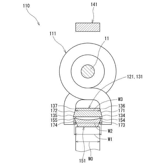
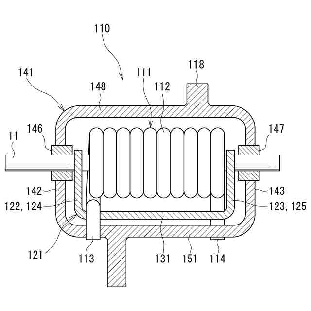
第1実施形態の説明図であって、バルブ装置を含む系の概念図である。
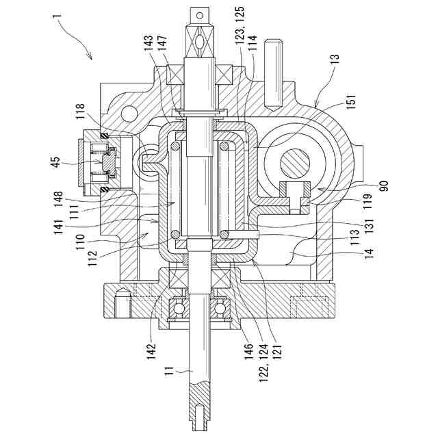
第1実施形態の説明図であって、従動軸の軸線に垂直な平面によるバルブ装置の断面図である。
図2におけるA-A矢視図である。
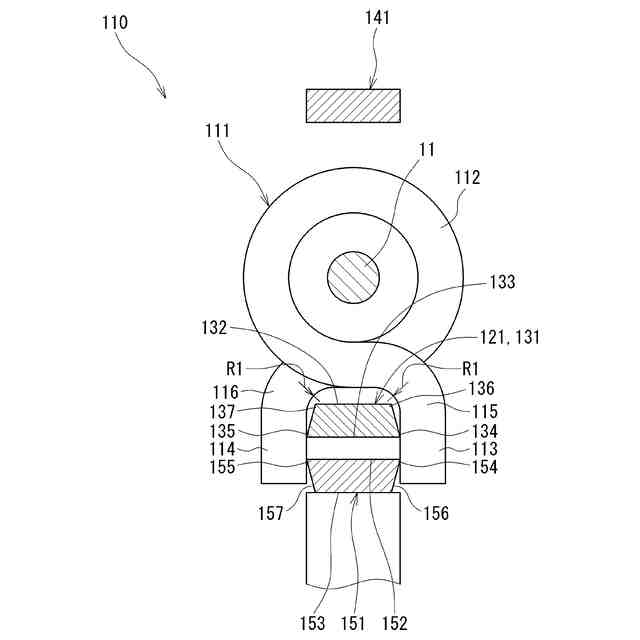
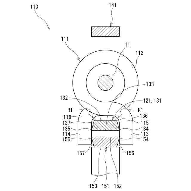
第1実施形態の説明図であって、アーム機構部の概念図である。
図4におけるB-B矢視図である。
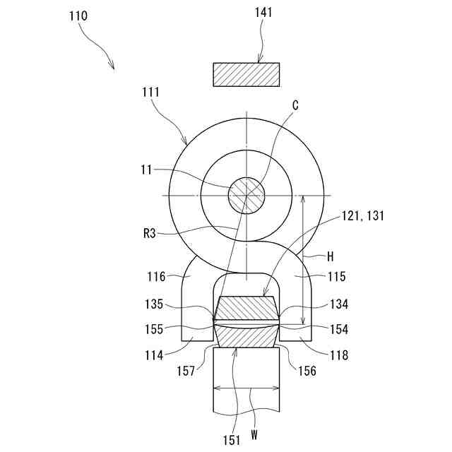
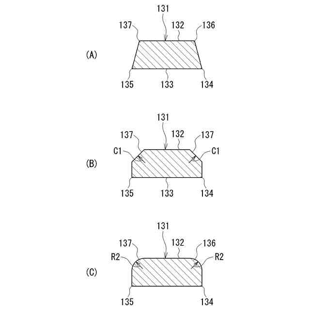
第1実施形態の説明図であって、(A)は台形に形成されたばねアーム連結部の断面を示し、(B)はC面取りが形成されたばねアーム連結部の断面を示し、(C)はR面取りが形成されたばねアーム連結部の断面を示す。
第2実施形態の説明図である。
第3実施形態の説明図である。
【発明を実施するための形態】
【0009】
本発明の第1実施形態を添付した図を参照して説明する。
図1に示されるように、バルブ装置1は、鉄道車両の車体2と台車3との間に介装された空気ばね4(流体作動機器)への空気の給排を制御する鉄道車両用自動高さ調節弁である。バルブ装置1は、空気ばね4とアキュムレータ5(流体源)との間に配置され、鉄道車両の車体2に固定される。バルブ装置1は、レバー部材6及び連結部材7を介して台車3に連結される従動軸11(図2参照)を有する。
【0010】
バルブ装置1は、車体2が台車3に対して上下方向へ変位して空気ばね4が縮長又は伸長されると、当該変位が従動軸11(図2参照)の回転運動に変換される。空気ばね4が縮長し、レバー部材6が図1に示される中立位置(鉄道車両の車高が基準高さのときの位置)から従動軸11を中心に図1における反時計回り方向へ回動すると、従動軸11がレバー部材6に連動して図1における反時計回り方向へ回転する。これにより、給気弁21(図2参照)が開弁し、アキュムレータ5と空気ばね4とを連通する給気通路が連通される。
(【0011】以降は省略されています)
この特許をJ-PlatPat(特許庁公式サイト)で参照する
関連特許
日本信号株式会社
ホーム柵
1か月前
個人
車両及び走行システム
5か月前
日本信号株式会社
ホーム柵
1か月前
日本信号株式会社
検査装置
9か月前
近畿車輌株式会社
耐火床構造
15日前
日本信号株式会社
ホーム柵装置
6か月前
日本車輌製造株式会社
鉄道車両
7日前
川崎車両株式会社
鉄道車両用パネル
8か月前
日本信号株式会社
列車接近警報装置
2か月前
ナブテスコ株式会社
ホームドア装置
2か月前
保線機器整備株式会社
保線用カート
8か月前
近畿車輌株式会社
鉄道車両の床構造
10か月前
近畿車輌株式会社
鉄道車両の床構造
10か月前
近畿車輌株式会社
鉄道車両の床構造
10か月前
カヤバ株式会社
鉄道車両用制振装置
9か月前
日本車輌製造株式会社
台車組立装置
4か月前
日本ケーブル株式会社
索道の支索引留め装置
2か月前
日本信号株式会社
踏切道監視システム
10か月前
日本信号株式会社
物体検知装置
6か月前
日本信号株式会社
ホームドア制御装置
3か月前
株式会社東芝
台車搬送装置
11日前
株式会社ダイフク
搬送車
4か月前
日本信号株式会社
ホーム安全システム
6か月前
ヤマハ発動機株式会社
無人搬送車
6か月前
ヤマハ発動機株式会社
無人搬送車
6か月前
株式会社日立製作所
鉄道車両
19日前
前川鉄工株式会社
ロープ駆動装置
11か月前
ヤマハ発動機株式会社
無人搬送車
6か月前
ヤマハ発動機株式会社
無人搬送車
4か月前
シャープ株式会社
表示装置
11か月前
株式会社ダイフク
搬送設備
5か月前
日本車輌製造株式会社
車両用ヒップレスト
1か月前
日本製鉄株式会社
鉄道車両
7か月前
日本信号株式会社
自動列車運転装置
2か月前
日本製鉄株式会社
鉄道車両
7か月前
株式会社 空スペース
跨座式モノレールシステム
9か月前
続きを見る
他の特許を見る