TOP
|
特許
|
意匠
|
商標
特許ウォッチ
Twitter
他の特許を見る
10個以上の画像は省略されています。
公開番号
2025111065
公報種別
公開特許公報(A)
公開日
2025-07-30
出願番号
2024005219
出願日
2024-01-17
発明の名称
太陽電池モジュール
出願人
株式会社カネカ
代理人
個人
,
個人
主分類
H10F
19/80 20250101AFI20250723BHJP()
要約
【課題】本発明は、従来に比べて受光面側からみたときに配線部材が目立ちにくく、意匠性が良好な太陽電池モジュールを提供する。
【解決手段】第1主面を受光面とし、少なくとも一つの太陽電池セルを有する太陽電池ストリングと、太陽電池ストリングから外部に電力を取り出す配線部材と、太陽電池ストリングの受光面側を覆う受光側封止部材を有するものであり、配線部材は、受光面側から平面視したときに、太陽電池ストリングの縁に沿って延びる第1配線部を有し、受光側封止部材は、第1受光側封止材と、第2受光側封止材と、受光側封止基板と、配線遮蔽部材を有し、第1受光側封止材と第2受光側封止材が太陽電池ストリングと受光側封止基板との間に配されており、配線遮蔽部材は、第1受光側封止材と第2受光側封止材との間に介在しており、配線遮蔽部材は、受光面側から平面視したときに、太陽電池ストリングを囲繞し、かつ一部が第1配線部と重なる構成とする。
【選択図】図6
特許請求の範囲
【請求項1】
第1主面を受光面とし、少なくとも一つの太陽電池セルを有する太陽電池ストリングと、前記太陽電池ストリングから外部に電力を取り出す配線部材と、前記太陽電池ストリングの前記受光面側を覆う受光側封止部材を有する太陽電池モジュールであって、
前記配線部材は、前記受光面側から平面視したときに、前記太陽電池ストリングの縁に沿って延びる第1配線部を有し、
前記受光側封止部材は、第1受光側封止材と、第2受光側封止材と、受光側封止基板と、配線遮蔽部材を有し、前記第1受光側封止材と前記第2受光側封止材が前記太陽電池ストリングと前記受光側封止基板との間に配されており、
前記配線遮蔽部材は、前記第1受光側封止材と前記第2受光側封止材との間に介在しており、
前記配線遮蔽部材は、前記受光面側から平面視したときに、前記太陽電池ストリングを囲繞し、かつ一部が前記第1配線部と重なる、太陽電池モジュール。
続きを表示(約 900 文字)
【請求項2】
前記第1配線部は、前記受光面側からみたときに、前記配線遮蔽部材に隠されて視認不能である、請求項1に記載の太陽電池モジュール。
【請求項3】
前記配線遮蔽部材は、有色である、請求項1又は2に記載の太陽電池モジュール。
【請求項4】
前記太陽電池ストリングの裏面側を覆う裏面側封止部材を有し、
前記裏面側封止部材は、裏面側封止基板と、前記裏面側封止基板と前記太陽電池ストリングとの間に介在する裏面側封止材を有し、
前記裏面側封止材は、有色であって、かつ前記配線遮蔽部材と同色又は近い色である、請求項3に記載の太陽電池モジュール。
【請求項5】
前記配線遮蔽部材は、少なくとも前記受光面側の面に凹凸が形成されている、請求項1又は2に記載の太陽電池モジュール。
【請求項6】
前記受光側封止基板は、前記受光面側の面に0.1μm以上10μm以下の凹凸が形成されている、請求項1又は2に記載の太陽電池モジュール。
【請求項7】
前記受光側封止基板は、前記太陽電池ストリング側の面に有色のコーティング層が形成されている、請求項1又は2に記載の太陽電池モジュール。
【請求項8】
前記配線遮蔽部材は、前記受光面側からみたときに、前記太陽電池ストリングの一部と重なっている、請求項1又は2に記載の太陽電池モジュール。
【請求項9】
前記配線遮蔽部材は、前記受光面側からみたときに、前記太陽電池ストリングの縁に沿って重なっており、
前記配線遮蔽部材は、前記太陽電池ストリングとの重なり幅が0mm超過5mm以下である、請求項8に記載の太陽電池モジュール。
【請求項10】
前記第1配線部は、前記太陽電池ストリングの前記受光面側で前記太陽電池ストリングと接続される重畳配線部を有し、
前記配線遮蔽部材は、前記受光面側からみたときに、前記重畳配線部の全体と重なっている、請求項8に記載の太陽電池モジュール。
(【請求項11】以降は省略されています)
発明の詳細な説明
【技術分野】
【0001】
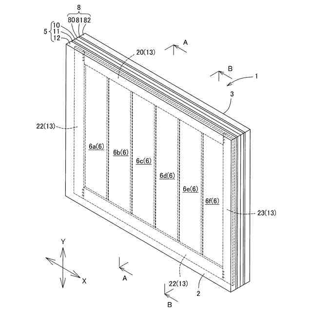
本発明は、太陽電池モジュールに関する。
続きを表示(約 1,500 文字)
【背景技術】
【0002】
近年、太陽電池モジュールは、屋根だけではなく、バルコニーの手すりにも使用されている(例えば、特許文献1)。
例えば、特許文献1の太陽電池付きバルコニーは、バルコニー床の外周梁の上側に立設した腰壁と、この腰壁の上側に立設した太陽電池パネルと、この太陽電池パネルの裏面側を覆い隠すように、腰壁の上側に立設した被覆パネルと、前記太陽電池パネル及び被覆パネルの上端部間に跨るように設けた笠木とを備えており、太陽電池パネルと被覆パネルとの間に配線を這わすことが可能となっている。
【先行技術文献】
【特許文献】
【0003】
特許第5773221号公報
【発明の概要】
【発明が解決しようとする課題】
【0004】
ところで、太陽電池モジュール(特許文献1の太陽電池パネルに相当)の内部では、複数の太陽電池セルが電気的に接続された太陽電池ストリングが設けられており、太陽電池ストリングを構成する各太陽電池セルにて発電される。
この太陽電池ストリングで発電した電力を太陽電池モジュールの外部に取り出すには、太陽電池ストリングに配線部材をつないで外部に取り出すことになるが、一般的な太陽電池モジュールの配線部材は、受光面側から視認可能となっており、細線であるものの、金属光沢があるとともに平滑である。そのため、特許文献1のように太陽電池モジュールをバルコニーに設置した状態で、その受光面に太陽光等の光が当たると、内部の配線部材で太陽光の入射光が正反射し、細線といえども目立ってしまう場合がある。
【0005】
そこで、本発明は、従来に比べて受光面側からみたときに配線部材が目立ちにくく、意匠性が良好な太陽電池モジュールを提供することを課題とする。
【課題を解決するための手段】
【0006】
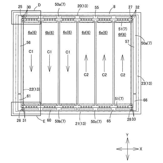
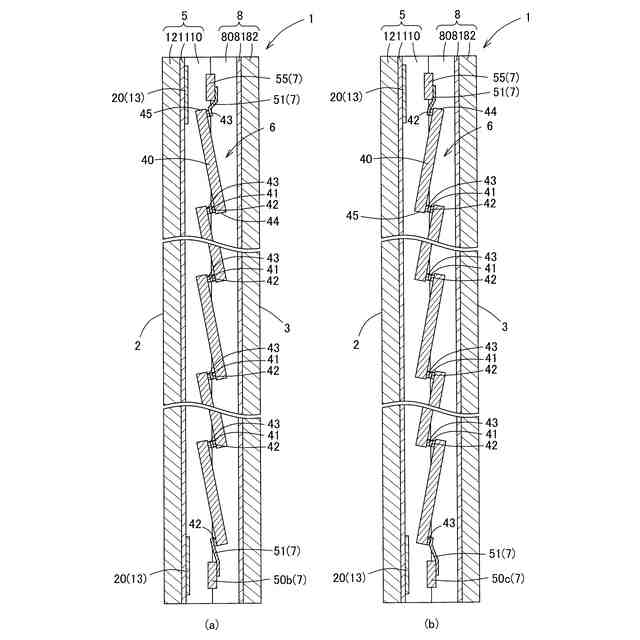
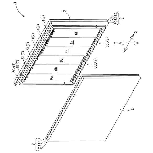
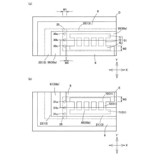
上記した課題を解決するための本発明の一つの様相は、第1主面を受光面とし、少なくとも一つの太陽電池セルを有する太陽電池ストリングと、前記太陽電池ストリングから外部に電力を取り出す配線部材と、前記太陽電池ストリングの前記受光面側を覆う受光側封止部材を有する太陽電池モジュールであって、前記配線部材は、前記受光面側から平面視したときに、前記太陽電池ストリングの縁に沿って延びる第1配線部を有し、前記受光側封止部材は、第1受光側封止材と、第2受光側封止材と、受光側封止基板と、配線遮蔽部材を有し、前記第1受光側封止材と前記第2受光側封止材が前記太陽電池ストリングと前記受光側封止基板との間に配されており、前記配線遮蔽部材は、前記第1受光側封止材と前記第2受光側封止材との間に介在しており、前記配線遮蔽部材は、前記受光面側から平面視したときに、前記太陽電池ストリングを囲繞し、かつ一部が前記第1配線部と重なる、太陽電池モジュールである。
【0007】
本様相によれば、配線部材の第1配線部が配線遮蔽部材によって隠されるので、受光面側からみたときに、配線部材の第1配線部が見えにくく、目立ちにくい。そのため、従来に比べて意匠性が良好となる。
【0008】
好ましい様相は、前記第1配線部は、前記受光面側からみたときに、前記配線遮蔽部材に隠されて視認不能である。
【0009】
本様相によれば、第1配線部が配線遮蔽部材に隠されて見えないので、より意匠性が良好となる。
【0010】
好ましい様相は、前記配線遮蔽部材は、有色である。
(【0011】以降は省略されています)
この特許をJ-PlatPat(特許庁公式サイト)で参照する
関連特許
株式会社カネカ
抗菌剤
5日前
株式会社カネカ
積層装置
2日前
株式会社カネカ
二次電池
1か月前
株式会社カネカ
塗布装置
2日前
株式会社カネカ
電解装置
1か月前
株式会社カネカ
正極活物質
2日前
株式会社カネカ
ヘルメット
22日前
株式会社カネカ
汎用かつら
13日前
株式会社カネカ
硬化性組成物
12日前
株式会社カネカ
製造システム
26日前
株式会社カネカ
光学フィルム
29日前
株式会社カネカ
保護キャップ
1か月前
株式会社カネカ
蓄冷材組成物
1か月前
株式会社カネカ
硬化性組成物
1か月前
株式会社カネカ
樹脂チューブ
12日前
株式会社カネカ
生体内留置具
1か月前
株式会社カネカ
硬化性組成物
1か月前
株式会社カネカ
濃縮システム
1か月前
株式会社カネカ
製造システム
29日前
株式会社カネカ
油脂の製造方法
今日
株式会社カネカ
延長カテーテル
14日前
株式会社カネカ
顆粒の製造方法
2日前
株式会社カネカ
フィルム延伸装置
2日前
株式会社カネカ
フィルム延伸装置
今日
株式会社カネカ
ブラッシング装置
14日前
株式会社カネカ
ブラッシング装置
14日前
株式会社カネカ
ブラッシング装置
14日前
株式会社カネカ
ブラッシング装置
14日前
株式会社カネカ
固体撮像装置用基板
1か月前
株式会社カネカ
太陽電池モジュール
2か月前
株式会社カネカ
太陽電池モジュール
2か月前
株式会社カネカ
太陽光発電システム
21日前
株式会社カネカ
バルーンカテーテル
2か月前
株式会社カネカ
バルーンカテーテル
2か月前
株式会社カネカ
バルーンカテーテル
今日
株式会社カネカ
樹脂粒子の製造方法
6日前
続きを見る
他の特許を見る