TOP
|
特許
|
意匠
|
商標
特許ウォッチ
Twitter
他の特許を見る
公開番号
2025112461
公報種別
公開特許公報(A)
公開日
2025-08-01
出願番号
2024006689
出願日
2024-01-19
発明の名称
機械式時計及び機械式時計の組み立て方法
出願人
セイコーエプソン株式会社
代理人
個人
,
個人
,
個人
主分類
G04B
1/16 20060101AFI20250725BHJP(時計)
要約
【課題】継続時間の長い機械式時計及び機械式時計の組み立て方法を提供する。
【解決手段】機械式時計1は、略円形状のムーブメント12をケース21に組み込んだぜんまい30を動力源とする機械式時計1であって、ぜんまい30を格納する香箱15は、その一部がムーブメント12の略円形状の外周からはみだすはみだし部16を有し、ケース21は、胴部23と底部26を有し、胴部23の内周部24には、はみだし部16を収納する欠損部25が設けられている。
【選択図】図6
特許請求の範囲
【請求項1】
略円形状のムーブメントをケースに組み込んだぜんまいを動力源とする機械式時計であって、
前記ぜんまいを格納する香箱は、その一部が前記ムーブメントの前記略円形状の外周からはみだすはみだし部を有し、
前記ケースは、胴部と底部を有し、
前記胴部の内周部には、前記はみだし部を収納する欠損部が設けられている、
機械式時計。
続きを表示(約 620 文字)
【請求項2】
前記ケースの前記底部には、円形の蓋部が取り付けられる開口部を有し、
前記開口部の直径は、前記略円形状の前記ムーブメントの直径より小さい、
請求項1に記載の機械式時計。
【請求項3】
前記香箱を固定する地板は、前記香箱の前記はみだし部と同様の地板はみだし部を有する、
請求項1又は請求項2に記載の機械式時計。
【請求項4】
前記欠損部は、幅方向と直交する縦方向の時計表示で12時を中心とする11時から1時の間に、又は、時計表示で6時を中心とする5時から7時の間に設けられている、
請求項1又は請求項2に記載の機械式時計。
【請求項5】
略円形状のムーブメントをケースに組み込んだぜんまいを動力源とする機械式時計の組み立て方法であって、
前記ぜんまいを格納する香箱の外周の一部が、前記略円形状の前記ムーブメントの外周からはみだしているはみだし部を有する前記ムーブメントを用意する工程と、
前記ケースの胴部の内周部に前記はみだし部を収納する欠損部が設けられた前記ケースを用意する工程と、
前記ムーブメントを前記ケースの前記胴部に、蓋部が取りつけられる底部とは反対側から組み込む組み込み工程と、を有し、
前記組み込み工程では、前記はみだし部が、前記欠損部に収納されるように組み込む、
機械式時計の組み立て方法。
発明の詳細な説明
【技術分野】
【0001】
本発明は、機械式時計及び機械式時計の組み立て方法に関する。
続きを表示(約 1,800 文字)
【背景技術】
【0002】
ぜんまいの機械エネルギーを利用して指針を運針させる機械式時計が知られている。特許文献1には、手巻き機構を備え、香箱に格納されたぜんまいを巻き上げる機械式時計が開示されている。
【先行技術文献】
【特許文献】
【0003】
特開2017-96814号公報
【発明の概要】
【発明が解決しようとする課題】
【0004】
しかしながら、特許文献1の機械式時計では、継続時間を長くするためにぜんまいの巻き数が多く径の大きな香箱を用いようとすると香箱が円形のムーブメントの外周からはみだしてしまう。そのため、香箱を円形のムーブメントの外周からはみださないようにするためには、ムーブメントの径を大きくする必要があり、ムーブメントを収納するケースの内周径及び外周径が大きくなってしまうという課題があった。
【課題を解決するための手段】
【0005】
機械式時計は、略円形状のムーブメントをケースに組み込んだぜんまいを動力源とする機械式時計であって、前記ぜんまいを格納する香箱は、その一部が前記ムーブメントの前記略円形状の外周からはみだすはみだし部を有し、前記ケースは、胴部と底部を有し、前記胴部の内周部には、前記はみだし部を収納する欠損部が設けられている。
【0006】
機械式時計の組み立て方法は、略円形状のムーブメントをケースに組み込んだぜんまいを動力源とする機械式時計の組み立て方法であって、前記ぜんまいを格納する香箱の外周の一部が、前記略円形状の前記ムーブメントの外周からはみだしているはみだし部を有する前記ムーブメントを用意する工程と、前記ケースの胴部の内周部に前記はみだし部を収納する欠損部が設けられた前記ケースを用意する工程と、前記ムーブメントを前記ケースの前記胴部に、蓋部が取りつけられる底部とは反対側から組み込む組み込み工程と、を有し、前記組み込み工程では、前記はみだし部が、前記欠損部に収納されるように組み込む。
【図面の簡単な説明】
【0007】
本実施形態に係る機械式時計の概略構造を示す正面図。
本実施形態に係る機械式時計の概略構造を示す断面図。
裏蓋側から見た、地板と香箱との構造を示す平面図。
地板の構造を示す平面図。
ケースと香箱との構造を示す平面図。
ケースと香箱との構造を示す平面図。
ケースと地板と香箱との構造を示す平面図。
ケースと地板の構造を示す平面図。
【発明を実施するための形態】
【0008】
先ず、本実施形態に係る機械式時計1として腕時計を一例として挙げ、図1及び図2を参照して説明する。
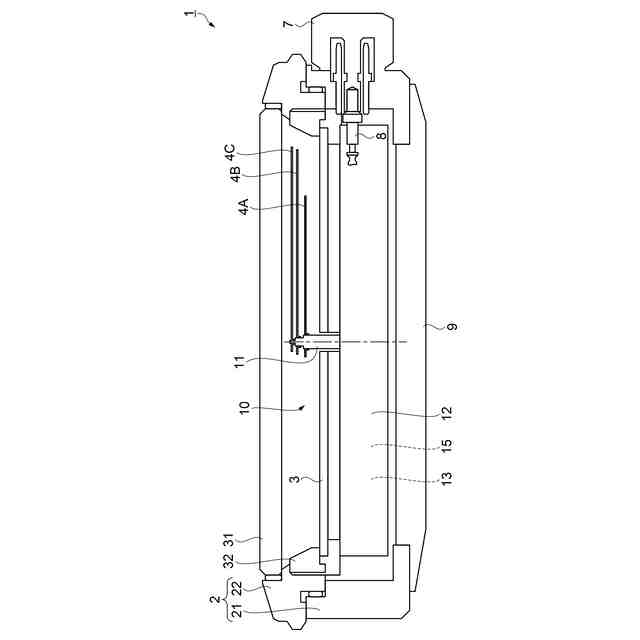
本実施形態の機械式時計1は、図3に示す香箱15に格納されたぜんまい30を動力源とする時計であり、図1及び図2に示すように、円筒状の外装ケース2と、カバーガラス31と、蓋部としての裏蓋9と、を備え、外装ケース2の内周側に、円盤状の文字板3と略円形状のムーブメント12とが配置されている。外装ケース2の二つの開口のうち、表面側の開口は、カバーガラス31で塞がれており、裏面側の開口は、裏蓋9で塞がれている。
【0009】
外装ケース2は、金属で形成された円筒状のケース21に、セラミック又は金属で形成されたベゼル22が嵌合されて構成されている。このベゼル22の内周側に、金属で形成された円環状のダイヤルリング32を介して、円盤状の文字板3が配置されている。外装ケース2の側面には、時計表示で3時の位置にリューズ7が設けられている。
【0010】
リューズ7は、機械式時計1の中心に向かって押し込まれた通常の位置である0段位置から2段引くことができる。
リューズ7を0段位置で回転すると、香箱15に格納されたぜんまい30を巻き上げることができる。ぜんまい30の巻上げに連動して、文字板3に設けられたパワーリザーブ針5が移動する。
リューズ7を1段位置に引いて回転すると、日車6を移動して日付を合わせることができる。リューズ7を2段位置に引くと秒針4Cが停止し、2段位置でリューズ7を回転すると、時針4A、分針4Bが移動して時刻を合わせることができる。
(【0011】以降は省略されています)
この特許をJ-PlatPat(特許庁公式サイト)で参照する
関連特許
個人
砂時計
14日前
個人
休憩報知タイマー
3か月前
個人
目覚し時計
2か月前
個人
時刻同期システム
16日前
セイコーエプソン株式会社
時計
3か月前
個人
自照式の針により認視性を高めたアナログ式時計
2か月前
セイコーエプソン株式会社
電子時計
1か月前
セイコーエプソン株式会社
機械式時計
3か月前
株式会社oneA
目覚まし装置
3か月前
株式会社村田製作所
光学的パターン表示物品
今日
セイコーエプソン株式会社
電子制御式機械時計
3か月前
セイコーエプソン株式会社
電子制御式機械時計
2日前
セイコーエプソン株式会社
電子制御式機械時計
4か月前
シチズン時計株式会社
電子時計
1か月前
シチズン時計株式会社
機械式時計
2か月前
シチズン時計株式会社
機械式時計
1か月前
シチズン時計株式会社
機械式時計
2か月前
セイコーエプソン株式会社
ムーブメント及び時計
3か月前
カシオ計算機株式会社
装飾板及び時計
1日前
個人
アナログ時計、時間表示方法、および、時間表示プログラム
3か月前
セイコーエプソン株式会社
電子時計
3か月前
セイコータイムクリエーション株式会社
からくり時計
今日
セイコーエプソン株式会社
機械式時計
15日前
カシオ計算機株式会社
制御装置、制御方法、及びプログラム
1日前
株式会社5コーポレーション
勉強時間測定装置及び勉強時間測定方法
3か月前
カシオ計算機株式会社
機器ケース及び時計
24日前
カシオ計算機株式会社
機器ケース及び時計
2か月前
カシオ計算機株式会社
電子機器及び電子時計
4か月前
カシオ計算機株式会社
電子機器及び電子時計
4か月前
カシオ計算機株式会社
電子機器及び電子時計
4か月前
セイコーエプソン株式会社
インデックス、文字板、及び時計
28日前
カシオ計算機株式会社
外装部品ユニット及び時計
今日
カシオ計算機株式会社
電子時計及び電子時計本体
15日前
住友ベークライト株式会社
計時装置、計時方法および検査装置
3か月前
モントレー ブレゲ・エス アー
表示機構のための調整システム
3か月前
モントレー ブレゲ・エス アー
プレート上のディスプレイモジュールの配置
3か月前
続きを見る
他の特許を見る