TOP
|
特許
|
意匠
|
商標
特許ウォッチ
Twitter
他の特許を見る
公開番号
2025112806
公報種別
公開特許公報(A)
公開日
2025-08-01
出願番号
2024007281
出願日
2024-01-22
発明の名称
作業用車両
出願人
株式会社竹内製作所
代理人
弁理士法人綿貫国際特許・商標事務所
主分類
E02F
9/00 20060101AFI20250725BHJP(水工;基礎;土砂の移送)
要約
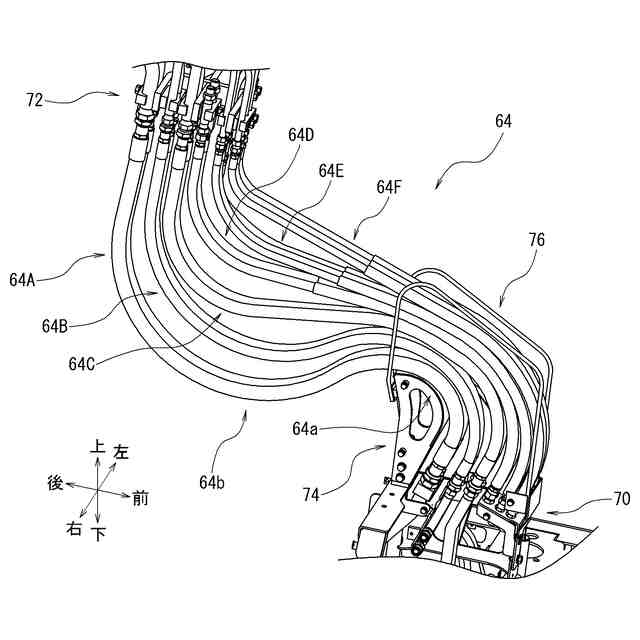
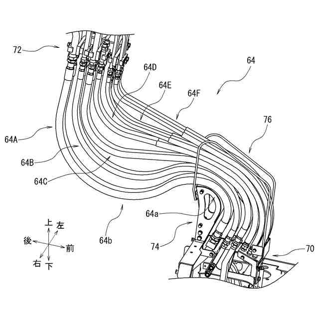
【課題】作業装置(ブーム)が起立した状態のときの油圧ホース部の弛みを抑制し、当該油圧ホース部が車体の上面に当接することを防止できる作業用車両を提供する。
【解決手段】車体3と、油圧により作動する作業装置14と、車体3に設けられた立上げ部70から延びて作業装置14を駆動するアクチュエータに接続される油圧配管60と、を備える作業用車両1であって、油圧配管60は、油圧ホースから構成される油圧ホース部64を有し、車体3は、油圧ホース部64を案内する第1ガイド74を有し、第1ガイド74は、作業装置14が起立した状態のときに、油圧ホース部64の一部分に接触して油圧ホース部64を上方に延びるように案内することで、油圧ホース部64と車体3の上面との間に隙間を設ける構成である。
【選択図】図3
特許請求の範囲
【請求項1】
車体と、油圧により作動する作業装置と、前記車体に設けられた立上げ部から延びて前記作業装置を駆動するアクチュエータに接続される油圧配管と、を備える作業用車両であって、
前記油圧配管は、油圧ホースから構成される油圧ホース部を有し、
前記車体は、前記油圧ホース部を案内する第1ガイドを有し、
前記第1ガイドは、前記作業装置が起立した状態のときに、前記油圧ホース部の一部分に接触して前記油圧ホース部を上方に延びるように案内することで、前記油圧ホース部と前記車体の上面との間に隙間を設ける構成であること
を特徴とする作業用車両。
続きを表示(約 400 文字)
【請求項2】
前記第1ガイドは、前記油圧ホース部に接触する接触面を有し、
前記接触面は、前記油圧ホース規定の最小曲げ半径以上の曲げ半径を有する曲面状に形成されていること
を特徴とする請求項1記載の作業用車両。
【請求項3】
前記車体は、前記油圧ホース部の両側方位置に立設される第2ガイドを有すること
を特徴とする請求項1または請求項2記載の作業用車両。
【請求項4】
前記第2ガイドは、一端が前記立上げ部に取付けられ、他端が前記第1ガイドに取付けられる棒状もしくは板状の部材から構成されていること
を特徴とする請求項3記載の作業用車両。
【請求項5】
前記立上げ部は、前記油圧ホース部を前記車体の正面に対して所定角度前傾させて前記車体から立上げる構成であること
を特徴とする請求項4記載の作業用車両。
発明の詳細な説明
【技術分野】
【0001】
本発明は、油圧により作動する作業装置を備える作業用車両に関する。
続きを表示(約 1,200 文字)
【背景技術】
【0002】
作業用車両の例として、走行用のクローラもしくはタイヤが取付けられた下部体と、下部体の上に配設された上部体と、下部体もしくは上部体に取付けられて油圧(すなわち、所定圧力の作動油)により作動する作業装置を備える油圧ショベル、トラックローダ等が従来より知られている。
【0003】
上部体には、油圧ポンプを駆動するエンジンが搭載され、当該油圧ポンプから吐出される圧油は、コントロールバルブから油圧配管を通じて作業装置の油圧シリンダに供給される。油圧配管の構成要素として、一定の曲率まで湾曲させて用いることができる油圧ホースが広く採用されている(特許文献1:特開2019-007254号公報参照)。
【0004】
通常、油圧ホースは、作業装置を構成するブームの動作を考慮して余裕をもった長さ寸法に設定されている。そのため、ブームが起立したとき、油圧ホースは、上部体の上方領域でS字状に湾曲した状態となる。
【先行技術文献】
【特許文献】
【0005】
特開2019-007254号公報
【発明の概要】
【発明が解決しようとする課題】
【0006】
しかしながら、上記の構成においては、ブームの起立に伴って油圧ホースの垂れ下がりが大きくなるため、油圧ホースが上部体の上面に当接してしまい、油圧ホースが摩耗したり、上部体の上面の塗装が剥げたりする不具合があった。
【課題を解決するための手段】
【0007】
本発明は、上記事情に鑑みてなされ、作業装置(ブーム)が起立した状態のときの油圧ホース部の垂れ下がりを抑制し、当該油圧ホース部が車体の上面に当接することを防止できる作業用車両を提供することを目的とする。
【0008】
本発明は、一実施形態として以下に記載するような解決手段により、前記課題を解決する。
【0009】
一実施形態に係る作業用車両は、車体と、油圧により作動する作業装置と、前記車体に設けられた立上げ部から延びて前記作業装置を駆動するアクチュエータに接続される油圧配管と、を備える作業用車両であって、前記油圧配管は、油圧ホースから構成される油圧ホース部を有し、前記車体は、前記油圧ホース部を案内する第1ガイドを有し、前記第1ガイドは、前記作業装置が起立した状態のときに、前記油圧ホース部の一部分に接触して前記油圧ホース部を上方に延びるように案内することで、前記油圧ホース部と前記車体の上面との間に隙間を設ける構成であることを要件とする。
【0010】
上記の構成によれば、車体に油圧ホース部を案内する第1ガイドを設けて、作業装置が起立した状態のときの油圧ホースの垂れ下がりを抑制し、油圧ホース部と車体の上面との間に隙間を設けることができる。したがって、油圧ホース部が車体の上面に当接することを防止できる。
(【0011】以降は省略されています)
この特許をJ-PlatPat(特許庁公式サイト)で参照する
関連特許
株式会社竹内製作所
作業用車両
7日前
株式会社竹内製作所
作業用車両および作業用車両の制御方法
今日
株式会社竹内製作所
作業用車両および作業用車両の制御方法
15日前
個人
鋼管
15日前
FKS株式会社
擁壁
4日前
鈴健興業株式会社
敷板部材
今日
株式会社クボタ
作業車
2日前
株式会社クボタ
作業車
2日前
株式会社奥村組
ケーソン工法
7日前
株式会社ネクステリア
平板基礎
今日
個人
擁壁用ブロックおよび擁壁
1日前
株式会社大林組
建物の構造
1日前
株式会社武井工業所
積みブロック
24日前
株式会社奥村組
ケーソン刃口金物
7日前
株式会社大林組
袋体付き排水パイプ
14日前
株式会社大林組
袋体付き排水パイプ
14日前
株式会社熊谷組
密度計測方法
2日前
日立建機株式会社
作業機械
4日前
日立建機株式会社
建設機械
今日
大和ハウス工業株式会社
杭抜き先端具
8日前
ヤマト発動機株式会社
浮遊型消波装置
4日前
日立建機株式会社
作業機械
22日前
ゼニヤ海洋サービス株式会社
通船ゲート
14日前
株式会社フジタ
掘削機
23日前
鹿島建設株式会社
接続方法および接続構造
14日前
JFEスチール株式会社
鋼管矢板の継手構造
16日前
JFEスチール株式会社
鋼管矢板の継手構造
16日前
株式会社フジタ
建築物とその施工方法
14日前
JFEスチール株式会社
鋼管矢板の継手構造
4日前
日立建機株式会社
電動式作業機械
今日
株式会社大林組
建物の構築方法及び建物
14日前
株式会社武井工業所
積みブロック用基礎ブロック
24日前
浙江工業大学
多機能土柱モデル装置及び使用方法
今日
株式会社熊谷組
杭頭処理構造、杭頭処理方法
4日前
株式会社小松製作所
作業機械
24日前
株式会社フジタ
情報取得システム
4日前
続きを見る
他の特許を見る