TOP
|
特許
|
意匠
|
商標
特許ウォッチ
Twitter
他の特許を見る
10個以上の画像は省略されています。
公開番号
2025116177
公報種別
公開特許公報(A)
公開日
2025-08-07
出願番号
2025092258,2020191612
出願日
2025-06-03,2020-11-18
発明の名称
プリンタ
出願人
株式会社サトー
代理人
弁理士法人グローバル・アイピー東京
主分類
B41J
2/32 20060101AFI20250731BHJP(印刷;線画機;タイプライター;スタンプ)
要約
【課題】剥離発行可能なプリンタにおいてサーマルヘッドの交換作業性を高める。
【解決手段】本発明のある態様は、台紙に剥離可能に貼付されたラベルを有する印字媒体の台紙からラベルを剥離して発行可能なプリンタであって、印字媒体を搬送する搬送ローラと、印字媒体を搬送ローラとともに挟持してラベル上に情報を印字する印字ヘッドと、ラベルを剥離して発行する場合に搬送ローラに対向する剥離ローラを保持し、印字ヘッドの少なくとも一部を覆う位置と、印字ヘッドを覆わない位置との間で移動可能な剥離ユニットと、を備える。印字ヘッドは、両側面から外側に延びる一対の軸を有し、所定方向に延びており、一対の軸を前記所定方向に移動可能な一対の溝が形成される。このプリンタでは、剥離ユニットが前記印字ヘッドを覆わない位置に位置する場合、印字ヘッドを所定方向に引き抜くための空間が形成される。
【選択図】図17
特許請求の範囲
【請求項1】
台紙に剥離可能に貼付されたラベルを有する印字媒体の前記台紙から前記ラベルを剥離して発行可能なプリンタであって、
前記印字媒体を搬送する搬送ローラと、
前記印字媒体を前記搬送ローラとともに挟持して前記ラベル上に情報を印字する印字ヘッドと、
前記ラベルを剥離して発行する場合に前記搬送ローラに対向する剥離ローラを保持し、前記印字ヘッドの少なくとも一部を覆う位置と、前記印字ヘッドを覆わない位置との間で移動可能な剥離ユニットと、
を備え、
前記印字ヘッドは、両側面から外側に延びる一対の軸を有し、
所定方向に延びており、前記一対の軸を前記所定方向に移動可能な一対の溝が形成され、
前記剥離ユニットが前記印字ヘッドを覆わない位置に位置する場合、前記印字ヘッドを前記所定方向に引き抜くための空間が形成される、
プリンタ。
続きを表示(約 660 文字)
【請求項2】
前記所定方向は、前記プリンタを水平面に置いたときの前記プリンタの上方向である、
請求項1に記載されたプリンタ。
【請求項3】
前記印字ヘッドを前記搬送ローラに向けて付勢する付勢部材を有し、
前記所定方向は、前記付勢部材が前記印字ヘッドを付勢する方向に対して直交する方向に延びている、
請求項1に記載されたプリンタ。
【請求項4】
前記剥離ユニットは、剥離ローラカバーと、剥離ローラを保持する剥離ローラ保持部とを有し、
前記剥離ユニットが前記印字ヘッドの少なくとも一部を覆う位置に位置する場合には、前記剥離ローラカバーが前記印字ヘッドの少なくとも一部を覆う、
請求項1に記載されたプリンタ。
【請求項5】
前記剥離ユニットが前記印字ヘッドを覆わない位置は、前記プリンタを水平面に置いたときに平面視で見て前記印字ヘッドが前記剥離ユニットと重複しない位置である、
請求項1から4のいずれか一項に記載されたプリンタ。
【請求項6】
前記剥離ユニットが前記印字ヘッドを覆わない位置は、前記印字ヘッドの上面が露出する位置である、
請求項1から4のいずれか一項に記載されたプリンタ。
【請求項7】
前記印字媒体を収容する収容室を有し、
前記印字ヘッドの少なくとも一部が前記収容室に対して露出している、
請求項1から4のいずれか一項に記載されたプリンタ。
発明の詳細な説明
【技術分野】
【0001】
本発明は、プリンタに関する。
続きを表示(約 3,000 文字)
【背景技術】
【0002】
一般に、ラベルプリンタは、帯状の台紙に複数枚のラベルが仮着された連続紙をサーマルヘッドとプラテンローラとの間に挟み込んだ状態でプラテンローラを回転させることにより連続紙を搬送しながらラベル上に所望の情報を印字するように構成されている。
従来、連続発行と剥離発行との2種類の発行方式を切り替え可能なラベルプリンタが知られている(例えば、特許文献1)。連続発行方式は、ラベルを台紙に仮着したまま発行する方式であり、剥離発行方式はラベルを台紙から剥がして発行する方式である。
特許文献1に記載されたプリンタでは、ピーラーユニット(剥離ユニット)の台紙押えローラ支持枠を第1旋回位置と第2旋回位置の間で移動させることで、連続発行と剥離発行を切り替えるように構成されている。
【先行技術文献】
【特許文献】
【0003】
特開2007-185774号公報
【発明の概要】
【発明が解決しようとする課題】
【0004】
ところで、連続発行と剥離発行を切り替え可能なプリンタにおいて、例えば印字ドットの不具合が生じた場合には、サーマルヘッドを交換する必要がある。しかし、従来、サーマルヘッドを交換する際に工具が必要になる場合等があり、交換作業性が十分に良好であるとは言い難かった。特に、連続発行と剥離発行を切り替え可能なプリンタでは、剥離ユニットが連続発行位置と剥離発行位置の間で可動となるように構成されているため、剥離ユニットがサーマルヘッドの交換作業の障害となる場合がある。
【0005】
そこで、本発明は、剥離発行可能なプリンタにおいてサーマルヘッドの交換作業性を高めることを目的とする。
【課題を解決するための手段】
【0006】
本発明のある態様は、台紙に剥離可能に貼付されたラベルを有する印字媒体の前記台紙から前記ラベルを剥離して発行可能なプリンタであって、前記印字媒体を搬送する搬送ローラと、前記印字媒体を前記搬送ローラとともに挟持して前記ラベル上に情報を印字する印字ヘッドと、前記ラベルを剥離して発行する場合に前記搬送ローラに対向する剥離ローラを保持し、前記印字ヘッドの少なくとも一部を覆う位置と、前記印字ヘッドを覆わない位置との間で移動可能な剥離ユニットと、を備え、前記印字ヘッドは、両側面から外側に延びる一対の軸を有し、所定方向に延びており、前記一対の軸を前記所定方向に移動可能な一対の溝が形成され、前記剥離ユニットが前記印字ヘッドを覆わない位置に位置する場合、前記印字ヘッドを前記所定方向に引き抜くための空間が形成される、プリンタである。
【発明の効果】
【0007】
本発明のある態様によれば、剥離発行可能なプリンタにおいてサーマルヘッドの交換作業性を高めることができる。
【図面の簡単な説明】
【0008】
図1Aは、実施形態に係るプリンタについてプリンタカバーが閉鎖状態である場合の斜視図であり、図1Bは、実施形態に係るプリンタについてプリンタカバーが開放状態である場合の斜視図である。
実施形態のプリンタについて、プリンタカバーが開放状態であり、剥離ユニットが開放状態であり、ロール紙が収容されていない状態の斜視図である。
実施形態のプリンタにおいて連続発行と剥離発行を説明するための部分的な断面図である。
カバー開放用ボタンによってプリンタカバーが開放状態となる機構を説明する図である。
プラテン保持ブラケットとレバー群の位置関係を示す図である。
開放時と閉鎖時における剥離ユニットの斜視図である。
開放時の剥離ユニットについて、図6とは別の視点から見た斜視図である。
連続発行時と剥離ユニット開放用ボタン操作時において、剥離ユニット開放用レバーと剥離ユニットの関係を説明する図である。
連続発行時と剥離ユニット開放用ボタン操作時において、剥離ユニット開放用レバーと剥離ユニットの関係を説明する図である。
図10Aは本実施形態のプリンタのプリンタカバーの平面図であり、図10Bは図10AのA-A断面図である。
剥離発行時において剥離ローラ近傍の部分拡大断面図である。
剥離ユニットを折り畳むときの動作を説明する図である。
剥離ユニットを折り畳むときの動作を説明する図である。
実施形態のプリンタを連続発行から剥離発行に切り替えるときの動作を順に示す図である。
実施形態のプリンタを連続発行から剥離発行に切り替えるときの動作を順に示す図である。
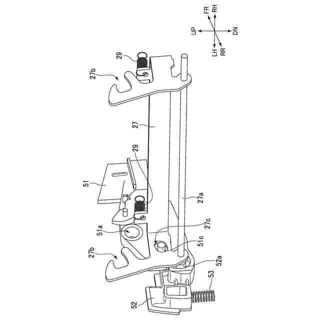
図16Aはサーマルヘッドの前側を示す図であり、図16Bはサーマルヘッドの後側を示す図である。
図16Aの断面A-A及び断面B-Bを拡大して示す断面図である。
サーマルヘッドに対する軸受入溝を含むプリンタの部分断面図である。
サーマルヘッドの交換方法を説明する図である。
内部フレームに設けられ、サーマルヘッドを支持する凸部を示す図である。
実施形態のプリンタにおいてサーマルヘッドに作用する力を説明する図であり、図20Aは上下方向に直交する平面での断面を示し、図20Bは左右方向に直交する平面での断面を示す。
図22Aは別の実施形態のサーマルヘッドを前方から見た斜視図であり、図22Bは別の実施形態のサーマルヘッドを後方から見た斜視図である。
別の実施形態のサーマルヘッドに含まれる板状部材の斜視図である。
別の実施形態のサーマルヘッドについて図22とは別の視点から見たときの斜視図である。
別の実施形態のサーマルヘッドとプラテン保持ブラケットの位置関係を示す側面図である。
【発明を実施するための形態】
【0009】
[プリンタ1の概略構成]
本発明の一実施形態に係るプリンタ1は、連続発行と剥離発行を切り替え可能に構成されたラベルプリンタである。以下、プリンタ1について、図面を参照しながら詳細に説明する。
なお、各図では、例えば図1A及び図1Bの斜視図に示すように、上(UP)、下(DN)、左(LH)、右(RH)、前(FR)、後(RR)の方向を定義しているが、この方向の定義は、専ら図面の説明の便宜のためであり、本発明のプリンタの使用時の姿勢を限定する意図はない。
この方向の定義では、「プリンタ前後方向」とは、プリンタ1の前後の方向を意味する。「プリンタ幅方向」とは、プリンタ1の左右の方向、あるいは横方向を意味する。
【0010】
図1A、図1B及び図2は、それぞれ実施形態のプリンタ1の斜視図である。図1Aは、プリンタカバー3が閉鎖状態の場合を示し、図1B及び図2は、プリンタカバー3が開放状態の場合を示している。図1Bは、ロール紙Rがセットされた状態を示し、図2は、ロール紙R、及び、ロール紙Rがセットされる前のプリンタ1の状態を示している。
(【0011】以降は省略されています)
この特許をJ-PlatPat(特許庁公式サイト)で参照する
関連特許
株式会社サトー
プリンタ
8日前
株式会社サトー
識別バンド
6日前
株式会社サトー
プリンタ、方法
11日前
株式会社サトー
プリンタ、プリンタの制御方法、プログラム
11日前
株式会社サトー
情報処理システム、情報処理方法、プログラム
18日前
株式会社サトー
情報処理システム、情報処理方法、プログラム
18日前
株式会社サトー
情報処理システム、プログラム、情報処理方法
11日前
株式会社サトー
プリンタ、プログラム、プリンタの情報処理方法
11日前
株式会社サトー
プリンタ、プリンタの情報処理方法、プログラム
11日前
株式会社サトー
情報処理装置、情報処理システム、情報処理方法及びプログラム
4日前
株式会社サトー
プリンタ、プリンタの情報処理方法、プログラム、情報処理システム
11日前
株式会社サトー
導電パターンを備えた基材、電子デバイス、電磁波シールドフィルムおよび面状発熱体
8日前
株式会社サトー
導電パターンを備えた基材、電子デバイス、電磁波シールドフィルムおよび面状発熱体
8日前
株式会社サトー
導電性膜、導電性基材、電子デバイス、RFタグ、電磁波シールドフィルムおよび面状発熱体
8日前
株式会社サトー
導電性基材の製造方法、電子デバイスの製造方法、および電磁波シールドフィルムの製造方法、面状発熱体の製造方法
8日前
株式会社サトー
導電性基材の製造方法、電子デバイスの製造方法、および電磁波シールドフィルムの製造方法、面状発熱体の製造方法
8日前
株式会社サトー
導電性基材の製造方法、電子デバイスの製造方法、電磁波シールドフィルムの製造方法、および面状発熱体の製造方法
8日前
株式会社サトー
導電性基材の製造方法、電子デバイスの製造方法、電磁波シールドフィルムの製造方法、および面状発熱体の製造方法
8日前
株式会社サトー
導電パターンを備えた基材の製造方法、電子デバイスの製造方法、電磁波シールドフィルムの製造方法、面状発熱体の製造方法および導電パターンを備えた基材
8日前
株式会社サトー
導電パターンを備えた基材の製造方法、電子デバイスの製造方法、電磁波シールドフィルムの製造方法、面状発熱体の製造方法および導電パターンを備えた基材
8日前
株式会社サトー
導電パターンを備えた基材の製造方法、電子デバイスの製造方法、電磁波シールドフィルムの製造方法、面状発熱体の製造方法および導電パターンを備えた基材の製造用の物品
8日前
株式会社サトー
導電パターンを備えた基材の製造方法、電子デバイスの製造方法、電磁波シールドフィルムの製造方法、面状発熱体の製造方法、導電パターンを備えた基材の製造のための中間構造体および導電パターンを備えた基材
8日前
個人
箔熱転写装置
27日前
シヤチハタ株式会社
印判
4か月前
東レ株式会社
凸版印刷版原版
9か月前
三菱製紙株式会社
感熱記録材料
10か月前
シヤチハタ株式会社
反転式印判
9か月前
三光株式会社
感熱記録材料
6か月前
キヤノン株式会社
記録装置
20日前
独立行政法人 国立印刷局
印刷物
6か月前
独立行政法人 国立印刷局
貼付機構
1か月前
株式会社リコー
画像形成装置
4日前
株式会社リコー
液体吐出装置
7か月前
日本製紙株式会社
感熱記録体
7か月前
株式会社リコー
印刷システム
8日前
株式会社リコー
画像形成装置
8日前
続きを見る
他の特許を見る