TOP
|
特許
|
意匠
|
商標
特許ウォッチ
Twitter
他の特許を見る
10個以上の画像は省略されています。
公開番号
2025141918
公報種別
公開特許公報(A)
公開日
2025-09-29
出願番号
2025039547
出願日
2025-03-12
発明の名称
導電パターンを備えた基材の製造方法、電子デバイスの製造方法、電磁波シールドフィルムの製造方法、面状発熱体の製造方法および導電パターンを備えた基材
出願人
株式会社サトー
代理人
個人
主分類
H05K
3/10 20060101AFI20250919BHJP(他に分類されない電気技術)
要約
【課題】導電性粒子を含有する導電性組成物を用いた導電パターンの形成において、細い回路パターンを形成すること、かつ/または、高精度の回路パターンを形成すること。
【解決手段】基材の表面に設けられた凹部を、導電性粒子を含む導電性組成物で埋めて、穴埋めパターンを得る、穴埋め工程と、その穴埋めパターンに少なくとも圧力を加えて導電パターンを得る押圧工程と、を含む、導電パターンを備えた基材の製造方法
【選択図】図11
特許請求の範囲
【請求項1】
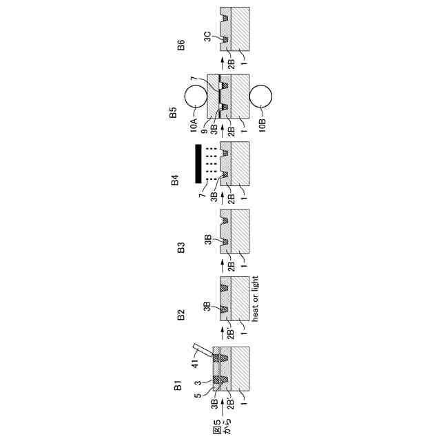
基材の表面に設けられた凹部を、導電性粒子を含む導電性組成物で埋めて、穴埋めパターンを得る、穴埋め工程と、
前記穴埋めパターンに少なくとも圧力を加えて導電パターンを得る押圧工程と、
を含む、導電パターンを備えた基材の製造方法。
続きを表示(約 1,100 文字)
【請求項2】
請求項1に記載の導電パターンを備えた基材の製造方法であって、
前記穴埋め工程の後かつ前記押圧工程の前に、前記穴埋め工程で前記凹部に埋められなかった余剰の導電性組成物の少なくとも一部を除去する除去工程を含む、導電パターンを備えた基材の製造方法。
【請求項3】
請求項2に記載の導電パターンを備えた基材の製造方法であって、
前記除去工程は、前記余剰の導電性組成物を掻き取ることにより行われる、導電パターンを備えた基材の製造方法。
【請求項4】
請求項1~3のいずれか1項に記載の導電パターンを備えた基材の製造方法であって、
前記穴埋め工程においては、印刷法により、前記凹部を前記導電性組成物で埋める、導電パターンを備えた基材の製造方法。
【請求項5】
請求項4に記載の導電パターンを備えた基材の製造方法であって、
前記印刷法は、スクリーン印刷法、インクジェット印刷法またはディスペンス印刷法である、導電パターンを備えた基材の製造方法。
【請求項6】
請求項1または2に記載の導電パターンを備えた基材の製造方法であって、
前記基材は、少なくとも、基材層と、前記基材層とは異なる材料によって前記基材層の少なくとも片面側に設けられたパターン層とを備え、前記パターン層に凹部が形成されている、導電パターンを備えた基材の製造方法。
【請求項7】
請求項6に記載の導電パターンを備えた基材の製造方法であって、
前記パターン層は硬化性樹脂材料で形成されている、導電パターンを備えた基材の製造方法。
【請求項8】
請求項7に記載の導電パターンを備えた基材の製造方法であって、
前記穴埋め工程において、前記パターン層を形成している硬化性樹脂材料は未硬化または半硬化状態にある、導電パターンを備えた基材の製造方法。
【請求項9】
請求項7に記載の導電パターンを備えた基材の製造方法であって、
前記押圧工程の前に、前記パターン層を形成している硬化性樹脂材料を硬化させる硬化工程を含む、導電パターンを備えた基材の製造方法。
【請求項10】
請求項7に記載の導電パターンを備えた基材の製造方法であって、
前記パターン層は、凸部を有する支持体の表面に硬化性樹脂材料による膜を形成し、その膜を前記基材層に貼り付けることにより形成されたものである、導電パターンを備えた基材の製造方法。
(【請求項11】以降は省略されています)
発明の詳細な説明
【技術分野】
【0001】
本発明は、導電パターンを備えた基材の製造方法、電子デバイスの製造方法、電磁波シールドフィルムの製造方法、面状発熱体の製造方法および導電パターンを備えた基材に関する。より具体的には、導電性粒子を含む導電性組成物を用いて導電パターンを備えた基材を製造する方法などに関する。
続きを表示(約 1,700 文字)
【背景技術】
【0002】
基材上に、導電性粒子を含有する導電性組成物によるパターンを設け、そのパターンを加熱するなどして導電パターンを得る技術が知られている。このような技術は、近年盛んに開発が行われているプリンテッドエレクトロニクスに適用可能と考えられる。プリンテッドエレクトロニクスとは、印刷技術を用いて、フィルムなどの基材の上に電子回路、センサー、素子などを形成する技術のことである。
【0003】
特許文献1は、絶縁膜にレーザー加工機を用いて回路パターン用の溝を形成する工程と、導電性物質の超微粒子を溶媒中に分散させてなる導電ペーストを該絶縁膜の上に塗布する工程と、熱処理により塗布された該導電ペーストの該溶媒を除去するとともに該導電性物質の超微粒子を焼成する工程と、該絶縁膜の表面を研磨する工程とを有する配線基板の製造方法、を開示している。
【0004】
特許文献2は、基板上に均一な厚みの未硬化の樹脂層を形成する工程と、前記基板と平行となるように凸版を未硬化の樹脂層の表面に押付けながら硬化する工程と、前記基板上の硬化した樹脂層から凸版を剥離して樹脂層の表面に溝部を形成する工程と、前記樹脂層の溝部に導体ペーストを充填して導体配線を形成する工程と、前記樹脂層の表面の導体配線と所定部分を覆う取り出し導体部を形成する工程と、前記導体配線全体と導体部の所定部分を覆う保護コートを形成する工程とからなるプリント配線基板の製造方法、を開示している。
【0005】
特許文献3は、軟化させた絶縁性シートに、所望の配線パターンに応じて形成された凸部を含む版面を有する金型を押し付ける工程と、硬化させた前記絶縁性シートから前記金型を離型して、前記配線パターンに応じた凹部を形成する工程と、前記凹部に導電性材料を充填して配線を形成する工程と、前記配線の上面に除去処理を施すことにより、前記配線の上面側の一部を除去し、前記配線の上面の高さを前記絶縁性シートの主面の高さよりも低くする工程と、前記配線の上面に前記絶縁性シートの高さと略同じ高さとなるように前記絶縁性保護層を形成する工程と、を有することを特徴とする配線板の製造方法、を開示している。
【0006】
特許文献4は、導体パターンに対応した凹凸を有する樹脂凹版を作製する工程と、前記樹脂凹版に導電性ペーストを充填し、前記樹脂凹版に充填された導電性ペーストのパターンをセラミック基板に転写する導体パターンの形成工程とからなる電子部品の導体パターン形成方法において、前記樹脂凹版を作製する工程は、マスター型を作製する第1工程と前記マスター型に樹脂を充填、硬化する第2工程とからなることを特徴とする電子部品の導体パターン形成方法、を開示している。
【先行技術文献】
【特許文献】
【0007】
特開平10-200236号公報
特開2004-253432号公報
特開2013-161951号公報
特開2003-068555号公報
【発明の概要】
【発明が解決しようとする課題】
【0008】
導電性粒子を含有する導電性組成物を用いた導電パターンの形成は、原理的に、フォトリソグラフィーやエッチングでのパターン形成に比べれば、細い回路パターンの形成や、高精度の回路パターン形成に不利である。しかし、回路パターン形成の低コスト化や、大量生産に適するプリンテッドエレクトロニクスへの期待の高まりから、導電性組成物を用いた導電パターンの形成においても、細い回路パターンを形成することや、高精度の回路パターンを形成することが求められてきている。
【0009】
本発明はこのような事情に鑑みてなされたものである。本発明の目的の1つは、導電性粒子を含有する導電性組成物を用いた導電パターンの形成において、細い回路パターンを形成すること、かつ/または、高精度の回路パターンを形成することである。
【課題を解決するための手段】
【0010】
本発明者らは、以下に提供される発明を完成させ、上記課題を解決した。
(【0011】以降は省略されています)
この特許をJ-PlatPat(特許庁公式サイト)で参照する
関連特許
株式会社サトー
プリンタ
7日前
株式会社サトー
識別バンド
5日前
株式会社サトー
衝撃センサ
26日前
株式会社サトー
衝撃センサ
26日前
株式会社サトー
衝撃センサ
26日前
株式会社サトー
プリンタ、方法
10日前
株式会社サトー
プリンタ、プリンタの制御方法、プログラム
10日前
株式会社サトー
情報処理システム、情報処理方法、プログラム
25日前
株式会社サトー
情報処理システム、情報処理方法、プログラム
17日前
株式会社サトー
情報処理システム、情報処理方法、プログラム
17日前
株式会社サトー
情報処理システム、プログラム、情報処理方法
10日前
株式会社サトー
プリンタ、プログラム、プリンタの情報処理方法
10日前
株式会社サトー
プリンタ、プリンタの情報処理方法、プログラム
10日前
株式会社サトー
プリンタ
1か月前
株式会社サトー
プリンタ
1か月前
株式会社サトー
情報処理装置、情報処理システム、情報処理方法及びプログラム
3日前
株式会社サトー
プリンタ、プリンタの情報処理方法、プログラム、情報処理システム
10日前
株式会社サトー
導電パターンを備えた基材、電子デバイス、電磁波シールドフィルムおよび面状発熱体
7日前
株式会社サトー
導電パターンを備えた基材、電子デバイス、電磁波シールドフィルムおよび面状発熱体
7日前
株式会社サトー
導電性膜、導電性基材、電子デバイス、RFタグ、電磁波シールドフィルムおよび面状発熱体
7日前
株式会社サトー
RFIDラベル及びRFIDラベルの使用方法
1か月前
株式会社サトー
スクリーンメッシュ、スクリーンマスク、導電パターンの製造方法、および導電性基材の製造方法
1か月前
株式会社サトー
スクリーンメッシュ、スクリーンマスク、導電パターンの製造方法、および導電性基材の製造方法
1か月前
株式会社サトー
導電性基材の製造方法、電子デバイスの製造方法、および電磁波シールドフィルムの製造方法、面状発熱体の製造方法
7日前
株式会社サトー
導電性基材の製造方法、電子デバイスの製造方法、および電磁波シールドフィルムの製造方法、面状発熱体の製造方法
7日前
株式会社サトー
導電性基材の製造方法、電子デバイスの製造方法、電磁波シールドフィルムの製造方法、および面状発熱体の製造方法
7日前
株式会社サトー
導電性基材の製造方法、電子デバイスの製造方法、電磁波シールドフィルムの製造方法、および面状発熱体の製造方法
7日前
株式会社サトー
導電パターンを備えた基材の製造方法、電子デバイスの製造方法、電磁波シールドフィルムの製造方法、面状発熱体の製造方法および導電パターンを備えた基材
7日前
株式会社サトー
導電パターンを備えた基材の製造方法、電子デバイスの製造方法、電磁波シールドフィルムの製造方法、面状発熱体の製造方法および導電パターンを備えた基材
7日前
株式会社サトー
導電パターンを備えた基材の製造方法、電子デバイスの製造方法、電磁波シールドフィルムの製造方法、面状発熱体の製造方法および導電パターンを備えた基材の製造用の物品
7日前
株式会社サトー
導電パターンを備えた基材の製造方法、電子デバイスの製造方法、電磁波シールドフィルムの製造方法、面状発熱体の製造方法、導電パターンを備えた基材の製造のための中間構造体および導電パターンを備えた基材
7日前
個人
電子部品の実装方法
5日前
株式会社コロナ
電気機器
3か月前
日本精機株式会社
回路基板
3か月前
日本精機株式会社
回路基板
27日前
個人
非衝突型ガウス加速器
1か月前
続きを見る
他の特許を見る