TOP
|
特許
|
意匠
|
商標
特許ウォッチ
Twitter
他の特許を見る
10個以上の画像は省略されています。
公開番号
2025136683
公報種別
公開特許公報(A)
公開日
2025-09-19
出願番号
2024035437
出願日
2024-03-08
発明の名称
情報処理システム、情報処理方法、プログラム
出願人
株式会社サトー
代理人
弁理士法人グローバル・アイピー東京
主分類
G06F
3/12 20060101AFI20250911BHJP(計算;計数)
要約
【課題】ユーザがプリンタにより印字媒体を発行する場合に、プリンタに対して誤った発行枚数が入力されることを防止する。
【解決手段】本発明のある態様は、情報処理装置と、前記情報処理装置と通信可能なプリンタと、を含む情報処理システムである。情報処理装置は、レイアウトデータに基づき前記プリンタにより発行される印字媒体の発行枚数と、プリンタにおいて当該発行枚数のユーザ操作による変更を許可するか否かと、を設定する設定部と、を備える。プリンタは、発行枚数に対するプリンタによる変更が不許可に設定されている場合、上記レイアウトデータに基づいて発行される印字媒体の発行枚数のユーザ操作による変更を禁止する。
【選択図】図13
特許請求の範囲
【請求項1】
情報処理装置と、前記情報処理装置からデータを取得可能なプリンタと、を含む情報処理システムであって、
前記情報処理装置は、
レイアウトデータに基づき前記プリンタにより発行される印字媒体の発行枚数と、前記プリンタにおいて前記発行枚数のユーザ操作による変更を許可するか否かと、を設定する設定部と、を備え、
前記プリンタは、
前記発行枚数に対する前記プリンタによる変更が不許可に設定されている場合、前記レイアウトデータに基づいて発行される印字媒体の発行枚数のユーザ操作による変更を禁止する、
情報処理システム。
続きを表示(約 1,400 文字)
【請求項2】
前記情報処理装置は、前記プリンタによって印字される情報の基礎となる印字レイアウトに1以上のオブジェクトを配置することで前記レイアウトデータを作成するデータ作成部を備える、
請求項1に記載された情報処理システム。
【請求項3】
前記情報処理装置は、前記1以上のオブジェクトの各々に対して値が関連付けられたデータテーブルを記憶する記憶部を備え、
前記設定部は、前記発行枚数が、前記1以上のオブジェクトのうちユーザに選択されたオブジェクトに関連付けられた値となるように設定する、
請求項2に記載された情報処理システム。
【請求項4】
前記設定部は、前記プリンタにおいて前記発行枚数のユーザ操作による変更を不許可に設定した場合、前記発行枚数が、前記プリンタによる発行時に前記1以上のオブジェクトのうちの第1オブジェクトを参照した値、又は前記プリンタによる発行時に前記第1オブジェクトを参照した値に基づいて算出された値となるように設定する、
請求項2に記載された情報処理システム。
【請求項5】
前記設定部は、ユーザによる入力に基づき、前記発行枚数に対して上限値及び下限値のうち少なくとも一方が指定された発行枚数条件を設定する、
請求項1から4のいずれか一項に記載された情報処理システム。
【請求項6】
前記プリンタは、前記発行枚数条件を満足しない枚数の印字媒体を発行する要求を受けた場合、警告出力を行う、
請求項5に記載された情報処理システム。
【請求項7】
前記プリンタは、複数のレイアウトデータの中からユーザによっていずれかのレイアウトデータが選択された場合に、選択されたレイアウトデータに対して設定された発行枚数の印字媒体を直ちに発行するか否かを設定する発行設定部を有する、
請求項1から3のいずれか一項に記載された情報処理システム。
【請求項8】
前記プリンタは、前記プリンタに外部入力装置が接続されている場合、前記プリンタによって発行される印字媒体の発行枚数を前記外部入力装置から入力することを禁止するか否かを設定する入力設定部を有する、
請求項1から4のいずれか一項に記載された情報処理システム。
【請求項9】
情報処理装置と、前記情報処理装置からデータを取得可能なプリンタと、の間の情報処理方法であって、
前記情報処理装置が、レイアウトデータに基づき前記プリンタにより発行される印字媒体の発行枚数と、前記プリンタにおいて前記発行枚数のユーザ操作による変更を許可するか否かと、を設定し、
前記プリンタが、前記発行枚数に対する前記プリンタによる変更が不許可に設定されている場合、前記レイアウトデータに基づいて発行される印字媒体のユーザ操作による発行枚数の変更を禁止する、
情報処理方法。
【請求項10】
プリンタと通信可能な情報処理装置にインストールされた場合に、
前記プリンタによって印字される情報の基礎となる印字レイアウトに1以上のオブジェクトを配置することでレイアウトデータを作成する手順と、
前記レイアウトデータに基づき前記プリンタにより発行される印字媒体の発行枚数と、前記プリンタにおいて前記発行枚数のユーザ操作による変更を許可するか否かと、を設定する手順と、
をコンピュータに実行させるプログラム。
発明の詳細な説明
【技術分野】
【0001】
本発明は、プリンタに関連する情報処理技術に関する。
続きを表示(約 2,100 文字)
【背景技術】
【0002】
従来から小売店等では、販売される商品に貼付されるラベルを発行するラベルプリンタが利用されている。小売店等では、商品に貼付するラベルの印字内容(価格や賞味期限等の情報)やラベルの発行が日々変化するため、ラベルの印字内容や発行枚数が現場で入力あるいは変更可能とするユーザインタフェースを提供するラベルプリンタが知られている。
例えば特許文献1には、ラベル印字形態作成モードでの作業において、ラベルに印字される価格やバーコード、ラベルの発行枚数を順次ユーザが画面上で設定し、ラベル印字形態を作成して登録すること、さらに、登録されたラベル印字形態を用いてラベルを発行することが記載されている。
【先行技術文献】
【特許文献】
【0003】
特開2004-255731号公報
【発明の概要】
【発明が解決しようとする課題】
【0004】
ところで、現場でラベル等の印字媒体を発行する場合に、ユーザが誤った発行枚数をプリンタに入力してしまう場合がある。特に、プリンタにスキャナ等の外部入力機器を用いて発行枚数を入力する場合、ユーザが誤ったコード情報をスキャンする場合がある。
【0005】
そこで、本発明は、ユーザがプリンタにより印字媒体を発行する場合に、プリンタに対して誤った発行枚数が入力されることを防止することを目的とする。
【課題を解決するための手段】
【0006】
本発明のある態様は、情報処理装置と、前記情報処理装置と通信可能なプリンタと、を含む情報処理システムであって、
前記情報処理装置は、
レイアウトデータに基づき前記プリンタにより発行される印字媒体の発行枚数と、前記プリンタにおいて前記発行枚数のユーザ操作による変更を許可するか否かと、を設定する設定部と、を備え、
前記プリンタは、
前記発行枚数に対する前記プリンタによる変更が不許可に設定されている場合、前記レイアウトデータに基づいて発行される印字媒体の発行枚数のユーザ操作による変更を禁止する、
情報処理システムである。
【発明の効果】
【0007】
本発明のある態様によれば、ユーザがプリンタにより印字媒体を発行する場合に、プリンタに対して誤った発行枚数が入力されることを防止できる。
【図面の簡単な説明】
【0008】
一実施形態の情報処理システムのシステム構成図である。
ラベル作成アプリケーションを実行したときに表示されるプロジェクトファイル作成画面の一例を示す図である。
印字レイアウトの構成例を説明する図である。
ラベル作成アプリケーションにおいてデータウィンドウを説明するための図である。
呼出しテーブルを表示する手順を示す図である。
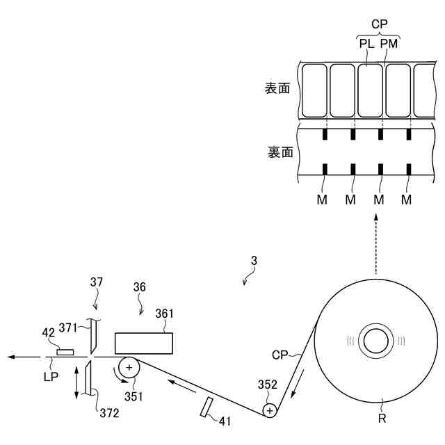
一実施形態のプリンタの構成を示す図である。
一実施形態の情報処理システムの機能ブロック図である。
ラベル作成アプリケーションにおいてデータセットにより発行枚数を指定する手順を示す図である。
ラベル作成アプリケーションにおいて印字レイアウトのいずれかのオブジェクトを参照した値に基づいて算出された値となるようにして発行枚数が設定される手順を示す図である。
テーブルにおいて変換前の値と変換後の値の関係の一例を示す図である。
ラベル作成アプリケーションにおいて発行枚数条件の設定手順を示す図である。
ラベル発行アプリケーションによってラベルを発行するときの手順を示す図である。
一実施形態のラベル発行システムにおいてラベル発行のシーケンスチャートである。
ラベル発行アプリケーションにおいて発行枚数に対するデータチェックによりエラーと判断された場合の警告表示例を示す図である。
ハンディスキャナを利用してプリンタによってラベルを発行するときの状態を示す図である。
【発明を実施するための形態】
【0009】
以下に記載する態様は、図面の簡単な説明により説明される図面に限定されるものではない。
【0010】
本発明のある態様の第1の態様は、情報処理装置と、前記情報処理装置からデータを取得可能なプリンタと、を含む情報処理システムであって、
前記情報処理装置は、
レイアウトデータに基づき前記プリンタにより発行される印字媒体の発行枚数と、前記プリンタにおいて前記発行枚数のユーザ操作による変更を許可するか否かと、を設定する設定部と、を備え、
前記プリンタは、
前記発行枚数に対する前記プリンタによる変更が不許可に設定されている場合、前記レイアウトデータに基づいて発行される印字媒体の発行枚数のユーザ操作による変更を禁止する、
情報処理システムである。
(【0011】以降は省略されています)
この特許をJ-PlatPat(特許庁公式サイト)で参照する
関連特許
株式会社サトー
プリンタ
6日前
株式会社サトー
識別バンド
4日前
株式会社サトー
衝撃センサ
25日前
株式会社サトー
衝撃センサ
25日前
株式会社サトー
衝撃センサ
25日前
株式会社サトー
プリンタ、方法
9日前
株式会社サトー
プリンタ、プリンタの制御方法、プログラム
9日前
株式会社サトー
情報処理システム、情報処理方法、プログラム
24日前
株式会社サトー
情報処理システム、情報処理方法、プログラム
16日前
株式会社サトー
情報処理システム、情報処理方法、プログラム
16日前
株式会社サトー
情報処理システム、プログラム、情報処理方法
9日前
株式会社サトー
プリンタ、プログラム、プリンタの情報処理方法
9日前
株式会社サトー
プリンタ、プリンタの情報処理方法、プログラム
9日前
株式会社サトー
情報処理装置、情報処理システム、情報処理方法及びプログラム
2日前
株式会社サトー
プリンタ、プリンタの情報処理方法、プログラム、情報処理システム
9日前
株式会社サトー
導電パターンを備えた基材、電子デバイス、電磁波シールドフィルムおよび面状発熱体
6日前
株式会社サトー
導電パターンを備えた基材、電子デバイス、電磁波シールドフィルムおよび面状発熱体
6日前
株式会社サトー
導電性膜、導電性基材、電子デバイス、RFタグ、電磁波シールドフィルムおよび面状発熱体
6日前
株式会社サトー
スクリーンメッシュ、スクリーンマスク、導電パターンの製造方法、および導電性基材の製造方法
1か月前
株式会社サトー
スクリーンメッシュ、スクリーンマスク、導電パターンの製造方法、および導電性基材の製造方法
1か月前
株式会社サトー
導電性基材の製造方法、電子デバイスの製造方法、および電磁波シールドフィルムの製造方法、面状発熱体の製造方法
6日前
株式会社サトー
導電性基材の製造方法、電子デバイスの製造方法、および電磁波シールドフィルムの製造方法、面状発熱体の製造方法
6日前
株式会社サトー
導電性基材の製造方法、電子デバイスの製造方法、電磁波シールドフィルムの製造方法、および面状発熱体の製造方法
6日前
株式会社サトー
導電性基材の製造方法、電子デバイスの製造方法、電磁波シールドフィルムの製造方法、および面状発熱体の製造方法
6日前
株式会社サトー
導電パターンを備えた基材の製造方法、電子デバイスの製造方法、電磁波シールドフィルムの製造方法、面状発熱体の製造方法および導電パターンを備えた基材
6日前
株式会社サトー
導電パターンを備えた基材の製造方法、電子デバイスの製造方法、電磁波シールドフィルムの製造方法、面状発熱体の製造方法および導電パターンを備えた基材
6日前
株式会社サトー
導電パターンを備えた基材の製造方法、電子デバイスの製造方法、電磁波シールドフィルムの製造方法、面状発熱体の製造方法および導電パターンを備えた基材の製造用の物品
6日前
株式会社サトー
導電パターンを備えた基材の製造方法、電子デバイスの製造方法、電磁波シールドフィルムの製造方法、面状発熱体の製造方法、導電パターンを備えた基材の製造のための中間構造体および導電パターンを備えた基材
6日前
個人
工程設計支援装置
1か月前
個人
地球保全システム
4日前
個人
フラワーコートA
1か月前
個人
冷凍食品輸出支援構造
1か月前
個人
為替ポイント伊達夢貯
1か月前
個人
介護情報提供システム
2か月前
個人
携帯情報端末装置
1か月前
個人
表変換編集支援システム
24日前
続きを見る
他の特許を見る