TOP
|
特許
|
意匠
|
商標
特許ウォッチ
Twitter
他の特許を見る
10個以上の画像は省略されています。
公開番号
2025139111
公報種別
公開特許公報(A)
公開日
2025-09-26
出願番号
2024037875
出願日
2024-03-12
発明の名称
情報処理システム、プログラム、情報処理方法
出願人
株式会社サトー
代理人
弁理士法人グローバル・アイピー東京
主分類
G06F
3/0481 20220101AFI20250918BHJP(計算;計数)
要約
【課題】プリンタを直接的に操作する場合と同じ感覚で遠隔操作することのできる情報処理システムを提供すること。
【解決手段】プリンタと、情報処理装置と、を有する情報処理システムであって、前記プリンタは、第1の表示パネルと、前記第1の表示パネルに対して 離間した位置に設けられ、前記プリンタを動作させるために操作される1以上の物理キーと、前記情報処理装置と通信する通信部と、を有し、前記情報処理装置は、第2の表示パネルと、前記第1の表示パネルに対応するパネルオブジェクトと、前記1以上の物理キーのそれぞれに対応し、対応する物理キーが操作された場合と同一の機能を前記プリンタにおいて実行するための1以上のオブジェクトと、を、前記第1の表示パネルと、前記1以上の物理キーと、の位置関係と同一となるように前記第2の表示パネルに表示させる表示部と、を有する、情報処理システム。
【選択図】図12
特許請求の範囲
【請求項1】
プリンタと、情報処理装置と、を有する情報処理システムであって、
前記プリンタは、
第1の表示パネルと、
前記第1の表示パネルに対して離間した位置に設けられ、前記プリンタを動作させるために操作される1以上の物理キーと、
前記情報処理装置と通信する通信部と、
を有し、
前記情報処理装置は、
第2の表示パネルと、
前記第1の表示パネルに対応するパネルオブジェクトと、前記1以上の物理キーのそれぞれに対応し、対応する物理キーが操作された場合と同一の機能を前記プリンタにおいて実行するための1以上のオブジェクトと、を、前記第1の表示パネルと、前記1以上の物理キーと、の位置関係と同一となるように前記第2の表示パネルに表示させる表示部と、
を有する、情報処理システム。
続きを表示(約 1,600 文字)
【請求項2】
前記1以上の物理キーは、前記プリンタが印字を実行できる状態と印字を停止している状態とを切り替えるために操作される状態切替キーと、前記プリンタに収容される印字媒体を搬送するために操作される搬送キーと、のいずれかを含む、請求項1に記載の情報処理システム。
【請求項3】
前記第1の表示パネルは、操作可能な1以上のタッチキーを含むタッチパネルであり、
前記1以上のタッチキーのうち第1のタッチキーは、前記1以上の物理キーに含まれる第1の物理キーが操作された場合と同一の機能を前記プリンタにおいて実行するためのタッチキーである、請求項1に記載の情報処理システム。
【請求項4】
前記第1の物理キーが操作された場合と同一の機能は、前記プリンタが印字を実行できる状態と印字を停止している状態とを切り替える機能、又は前記プリンタに収容される印字媒体を搬送する機能のいずれかである、請求項3に記載の情報処理システム。
【請求項5】
前記第1の表示パネルは、ホーム画面を含む複数の画面を切り替えて表示可能であり、
前記1以上の物理キーは、前記第1の表示パネルに表示される画面を前記ホーム画面に切り替えるために操作されるホームキーを含む、請求項1に記載の情報処理システム。
【請求項6】
前記第1の表示パネルは、操作可能な1以上のタッチキーを含むタッチパネルであり、
前記プリンタは、前記情報処理装置により遠隔操作されているとき、前記第1の表示パネルを操作不可能とする、請求項1に記載の情報処理システム。
【請求項7】
前記プリンタは、記憶部と、キャプチャ部と、をさらに有し、
前記キャプチャ部は、前記第1の表示パネルに表示される画面を所定の期間毎に画像データとしてキャプチャして前記記憶部に保存し、
前記通信部は、前記記憶部に保存された前記画像データを映像ストリームとして前記情報処理装置に送信し、
前記表示部は、前記プリンタから受信した前記映像ストリームを前記第2の表示パネルに表示させる、
請求項1に記載の情報処理システム。
【請求項8】
第1の表示パネルと、
前記第1の表示パネルに対して離間した位置に設けられ、前記プリンタを動作させるために操作される物理キーと、
情報処理装置との通信を可能にする通信部と、
を有するプリンタを、前記プリンタとの通信によって遠隔操作可能な情報処理装置であって第2の表示パネルを有する情報処理装置に適用されるプログラムであって、
前記第1の表示パネルに対応するパネルオブジェクトと、前記1以上の物理キーのそれぞれに対応し、対応する物理キーが操作された場合と同一の機能を前記プリンタにおいて実行するための1以上のオブジェクトと、を、前記第1の表示パネルと、前記1以上の前記物理キーと、の位置関係と同一となるように前記第2の表示パネルに表示させる、プログラム。
【請求項9】
第1の表示パネルと、
前記第1の表示パネルに対して離間した位置に設けられ、前記プリンタを動作させるために操作される物理キーと、
情報処理装置との通信を可能にする通信部と、
を有するプリンタを、前記プリンタとの通信によって第2の表示パネルを有する情報処理装置で遠隔操作するための情報処理方法であって、
前記第1の表示パネルに対応するパネルオブジェクトと、前記1以上の物理キーのそれぞれに対応し、対応する物理キーが操作された場合と同一の機能を前記プリンタにおいて実行するための1以上のオブジェクトと、を、前記第1の表示パネルと、前記1以上の物理キーと、の位置関係と同一となるように前記第2の表示パネルに表示させる、情報処理方法。
発明の詳細な説明
【技術分野】
【0001】
本発明は、情報処理システム、プログラム及び情報処理方法に関する。
続きを表示(約 2,000 文字)
【背景技術】
【0002】
従来、ネットワークに接続されたプリンタを、プリンタと通信可能な情報処理端末によって遠隔操作したいという要請がある。プリンタを遠隔操作可能な情報処理端末として、例えば、特許文献1に記載されるような情報処理端末が知られている。
【先行技術文献】
【特許文献】
【0003】
特開2020-42564号公報
【発明の概要】
【発明が解決しようとする課題】
【0004】
特許文献1に記載される情報処理端末を用いてプリンタを遠隔操作する場合、該情報処理端末の表示部には、プリンタの表示画面に表示された画面データの情報のみが表示される。プリンタが所定の動作のために直接的に操作される物理キーを有する場合、該情報処理端末の表示部には、物理キーに相当する情報は表示されない。そのため、該情報処理端末のユーザは、プリンタの物理キーを操作したときの動作を遠隔操作でプリンタにさせる場合、プリンタを直接操作するときとは異なる手順で該動作をさせることになる。このとき、ユーザは、プリンタを直接操作するときとは異なる感覚でプリンタを遠隔操作するため、遠隔操作における違和感を強く感じる場合がある。
【0005】
そこで、本発明は、プリンタを直接的に操作する場合と同じ感覚で遠隔操作することのできる情報処理システムを提供することを目的とする。
【課題を解決するための手段】
【0006】
本発明のある態様は、プリンタと、情報処理装置と、を有する情報処理システムであって、
前記プリンタは、
第1の表示パネルと、
前記第1の表示パネルに対して離間した位置に設けられ、前記プリンタを動作させるために操作される1以上の物理キーと、
前記情報処理装置と通信する通信部と、
を有し、
前記情報処理装置は、
第2の表示パネルと、
前記第1の表示パネルに対応するパネルオブジェクトと、前記1以上の物理キーのそれぞれに対応し、対応する物理キーが操作された場合と同一の機能を前記プリンタにおいて実行するための1以上のオブジェクトと、を、前記第1の表示パネルと、前記1以上の物理キーと、の位置関係と同一となるように前記第2の表示パネルに表示させる表示部と、
を有する、情報処理システムである。
【発明の効果】
【0007】
本発明のある態様によれば、プリンタを直接的に操作する場合と同じ感覚で遠隔操作することができる。
【図面の簡単な説明】
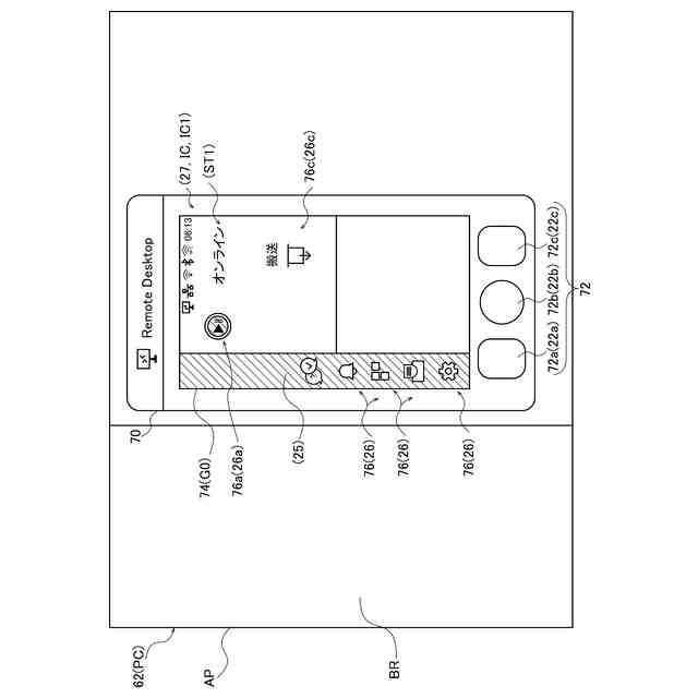
【0008】
実施形態に係る情報処理システムの概略図である。
実施形態に係る情報処理システムのブロック図である。
実施形態に係るプリンタの正面図である。
実施形態に係るプリンタの表示パネルに表示される画面の一例である。
実施形態に係るプリンタの表示パネルに表示される画面の一例である。
実施形態に係るプリンタの表示パネルに表示される画面の一例である。
実施形態に係るプリンタの表示パネルに表示される画面の一例である。
実施形態に係る情報処理装置の表示パネルに表示される画面の一例である。
実施形態に係る情報処理装置の表示パネルに表示される画面の一例である。
実施形態に係る情報処理装置の表示パネルに表示される画面の一例である。
実施形態に係る情報処理装置の表示パネルに表示される画面の一例である。
実施形態に係る情報処理装置の表示パネルに表示される画面の一例である。
【発明を実施するための形態】
【0009】
以下に記載する形態は、図面の簡単な説明により説明される図面に限定されるものではない。
【0010】
本発明のある態様の第1の態様は、プリンタと、情報処理装置と、を有する情報処理システムであって、
前記プリンタは、
第1の表示パネル と、
前記第1の表示パネルに対して 離間した位置に設けられ、前記プリンタを動作させるために操作される1以上の物理キーと、
前記情報処理装置と通信する通信部と、
を有し、
前記情報処理装置は、
第2の表示パネルと、
前記第1の表示パネルに対応するパネルオブジェクトと、前記1以上の物理キーのそれぞれに対応し、対応する物理キーが操作された場合と同一の機能を前記プリンタにおいて実行するための1以上のオブジェクトと、を、前記第1の表示パネルと、前記1以上の物理キーと、の位置関係と同一となるように前記第2の表示パネルに表示させる表示部と、
を有する、情報処理システムである。
(【0011】以降は省略されています)
この特許をJ-PlatPat(特許庁公式サイト)で参照する
関連特許
株式会社サトー
プリンタ
6日前
株式会社サトー
衝撃センサ
25日前
株式会社サトー
識別バンド
4日前
株式会社サトー
衝撃センサ
25日前
株式会社サトー
衝撃センサ
25日前
株式会社サトー
プリンタ、方法
9日前
株式会社サトー
プリンタ、プリンタの制御方法、プログラム
9日前
株式会社サトー
情報処理システム、情報処理方法、プログラム
24日前
株式会社サトー
情報処理システム、情報処理方法、プログラム
16日前
株式会社サトー
情報処理システム、情報処理方法、プログラム
16日前
株式会社サトー
情報処理システム、プログラム、情報処理方法
9日前
株式会社サトー
プリンタ、プログラム、プリンタの情報処理方法
9日前
株式会社サトー
プリンタ、プリンタの情報処理方法、プログラム
9日前
株式会社サトー
情報処理装置、情報処理システム、情報処理方法及びプログラム
2日前
株式会社サトー
プリンタ、プリンタの情報処理方法、プログラム、情報処理システム
9日前
株式会社サトー
導電パターンを備えた基材、電子デバイス、電磁波シールドフィルムおよび面状発熱体
6日前
株式会社サトー
導電パターンを備えた基材、電子デバイス、電磁波シールドフィルムおよび面状発熱体
6日前
株式会社サトー
導電性膜、導電性基材、電子デバイス、RFタグ、電磁波シールドフィルムおよび面状発熱体
6日前
株式会社サトー
導電性基材の製造方法、電子デバイスの製造方法、および電磁波シールドフィルムの製造方法、面状発熱体の製造方法
6日前
株式会社サトー
導電性基材の製造方法、電子デバイスの製造方法、電磁波シールドフィルムの製造方法、および面状発熱体の製造方法
6日前
株式会社サトー
導電性基材の製造方法、電子デバイスの製造方法、電磁波シールドフィルムの製造方法、および面状発熱体の製造方法
6日前
株式会社サトー
導電性基材の製造方法、電子デバイスの製造方法、および電磁波シールドフィルムの製造方法、面状発熱体の製造方法
6日前
株式会社サトー
導電パターンを備えた基材の製造方法、電子デバイスの製造方法、電磁波シールドフィルムの製造方法、面状発熱体の製造方法および導電パターンを備えた基材
6日前
株式会社サトー
導電パターンを備えた基材の製造方法、電子デバイスの製造方法、電磁波シールドフィルムの製造方法、面状発熱体の製造方法および導電パターンを備えた基材
6日前
株式会社サトー
導電パターンを備えた基材の製造方法、電子デバイスの製造方法、電磁波シールドフィルムの製造方法、面状発熱体の製造方法および導電パターンを備えた基材の製造用の物品
6日前
株式会社サトー
導電パターンを備えた基材の製造方法、電子デバイスの製造方法、電磁波シールドフィルムの製造方法、面状発熱体の製造方法、導電パターンを備えた基材の製造のための中間構造体および導電パターンを備えた基材
6日前
個人
地球保全システム
4日前
個人
フラワーコートA
1か月前
個人
工程設計支援装置
1か月前
個人
為替ポイント伊達夢貯
1か月前
個人
冷凍食品輸出支援構造
1か月前
個人
携帯情報端末装置
1か月前
個人
表変換編集支援システム
24日前
個人
知財出願支援AIシステム
1か月前
個人
結婚相手紹介支援システム
1か月前
個人
行動時間管理システム
26日前
続きを見る
他の特許を見る