TOP
|
特許
|
意匠
|
商標
特許ウォッチ
Twitter
他の特許を見る
公開番号
2025116255
公報種別
公開特許公報(A)
公開日
2025-08-07
出願番号
2025094166,2021159242
出願日
2025-06-05,2021-09-29
発明の名称
ラベル貼付装置、ラベル貼付方法及びプログラム
出願人
株式会社サトー
代理人
弁理士法人後藤特許事務所
主分類
B65C
9/40 20060101AFI20250731BHJP(運搬;包装;貯蔵;薄板状または線条材料の取扱い)
要約
【課題】任意の形状及びサイズの被着体に対して、適切な位置にラベルを貼り付けられるようにすること。
【解決手段】被着体にラベルを貼り付けるラベル貼付装置は、被着体の形状を計測する計測部と、形状に基づいて、被着体におけるラベルの貼付可能領域を決定する貼付可能領域決定部と、を有する。
【選択図】図1
特許請求の範囲
【請求項1】
被着体にラベルを貼り付けるラベル貼付装置であって、
前記被着体の形状を計測する計測部と、
前記形状に基づいて、前記被着体における前記ラベルの貼付可能領域を決定する貼付可能領域決定部と、を有し、
前記計測部は、前記被着体が載置された載置面からの前記被着体の高さに基づくパラメータを用いて前記形状を計測し、
前記貼付可能領域決定部は、前記被着体の前記載置面からの高さが最も高い値から所定値を減じた値を閾値として設定し、前記パラメータが前記閾値以上になる領域を前記貼付可能領域として決定する、
ラベル貼付装置。
続きを表示(約 1,500 文字)
【請求項2】
請求項1に記載のラベル貼付装置であって、
前記貼付可能領域決定部は、前記貼付可能領域の中心を基準として前記ラベルを貼り付ける位置を決定する、
ラベル貼付装置。
【請求項3】
請求項2に記載のラベル貼付装置であって、
前記貼付可能領域決定部は、前記貼付可能領域の中心と前記ラベルの中心とが対応するように前記ラベルを貼り付ける位置を決定する、
ラベル貼付装置。
【請求項4】
請求項1から3のいずれか1項に記載のラベル貼付装置であって、
複数の前記被着体を個別に連続して搬送する被着体搬送部と、
複数の前記ラベルを個別に連続して搬送するラベル搬送部と、
前記ラベル搬送部によって搬送される前記ラベルを、粘着面を前記被着体側に向けて取り上げるラベル保持部と、さらに備え、
前記計測部は、前記被着体のそれぞれの形状を計測し、
前記貼付可能領域決定部は、前記それぞれの形状に基づいて、前記被着体における前記ラベルの前記貼付可能領域を決定し、
前記ラベル保持部によって取り上げられた前記ラベルを前記貼付可能領域に貼り付ける、
ラベル貼付装置。
【請求項5】
請求項4に記載のラベル貼付装置であって、
前記被着体に貼り付けられた前記ラベルを検出するための下流側検出部を備え、
前記下流側検出部によって、前記被着体における前記ラベルが検出されなかった場合には、貼り付けることができなかった前記ラベルを、当該ラベルが貼り付けられなかった被着体の次に搬送される被着体に貼り付ける、
ラベル貼付装置。
【請求項6】
請求項4に記載のラベル貼付装置であって、
前記被着体に貼り付けられた前記ラベルを検出するための下流側検出部を備え、
前記下流側検出部によって、前記被着体における前記ラベルが検出されなかった場合には、貼り付けることができなかった前記ラベルを、前記被着体搬送部とは異なる位置に設けられた廃棄領域に廃棄する、
ラベル貼付装置。
【請求項7】
請求項4から6のいずれか1項に記載のラベル貼付装置であって、
前記貼付可能領域決定部が前記被着体の前記貼付可能領域を決定することができなかった場合には、前記貼付可能領域が決定できなかった前記被着体に前記ラベルを貼り付けることなく、当該被着体を前記ラベル貼付装置の外へ退避させる、
ラベル貼付装置。
【請求項8】
請求項4から7のいずれか1項に記載のラベル貼付装置であって、
前記ラベルに印字する印字部を、更に備え、
前記印字部によって印字された印字済みの前記ラベルを前記被着体に貼付する、
ラベル貼付装置。
【請求項9】
請求項4から8のいずれか1項に記載のラベル貼付装置であって、
前記ラベル保持部は、前記被着体に前記ラベルを貼り付ける貼付方向に伸縮可能に形成された、
ラベル貼付装置。
【請求項10】
被着体にラベルを貼り付けるラベル貼付方法であって、
搬送される前記被着体が載置された載置面からの前記被着体の高さに基づくパラメータを用いて前記被着体の形状を測定し、
前記被着体の前記載置面からの高さが最も高い値から所定値を減じた値を閾値として設定し、前記形状に基づいて前記パラメータが前記閾値以上になる領域を前記被着体における前記ラベルの貼付可能領域として決定する、
ラベル貼付方法。
(【請求項11】以降は省略されています)
発明の詳細な説明
【技術分野】
【0001】
本発明は、ラベル貼付装置、ラベル貼付方法及びプログラムに関する。
続きを表示(約 1,500 文字)
【背景技術】
【0002】
特許文献1には、商品をフィルムで覆い包装するフィルム包装装置が開示されている。特許文献1に記載されたフィルム包装装置は、トレイサイズを検出し、検出されたトレイサイズに対応するトレイ情報を読み出し、トレイ情報に基づいて、トレイにフィルム包装を行う。そして、フィルム包装装置は、フィルム包装された商品におけるトレイ情報に基づいて規定された貼付位置に、所定の向きでラベルを貼り付けるように構成されている。
【先行技術文献】
【特許文献】
【0003】
特開2014-105019号公報
【発明の概要】
【発明が解決しようとする課題】
【0004】
特許文献1に開示されたフィルム包装装置では、フィルムを包装する対象となる商品のサイズや形状は、トレイ情報として予め決められている。また、商品に対するラベルの貼り付け位置もトレイ情報に基づいて予め規定されている。
【0005】
このため、特許文献1に開示されたフィルム包装装置は、サイズや形状等の情報が予め用意されていない商品にラベルを貼ることはできなかった。
【0006】
そこで、本発明は、任意の形状及びサイズの被着体に対して、適切な位置にラベルを貼り付けられるようにすることを目的とする。
【課題を解決するための手段】
【0007】
本発明のある態様によれば、被着体にラベルを貼り付けるラベル貼付装置であって、前記被着体の形状を計測する計測部と、前記形状に基づいて、前記被着体における前記ラベルの貼付可能領域を決定する貼付可能領域決定部と、を有し、前記計測部は、前記被着体が載置された載置面からの前記被着体の高さに基づくパラメータを用いて前記形状を計測し、前記貼付可能領域決定部は、前記被着体の前記載置面からの高さが最も高い値から所定値を減じた値を閾値として設定し、前記パラメータが前記閾値以上になる領域を前記貼付可能領域として決定する、ラベル貼付装置が提供される。
【発明の効果】
【0008】
上記態様によれば、被着体の形状を特定し、特定された形状に基づいてラベルの貼付可能領域が決定されるため、任意の形状及び任意のサイズの被着体に対して、適切な位置にラベルを貼り付けることができる。
【図面の簡単な説明】
【0009】
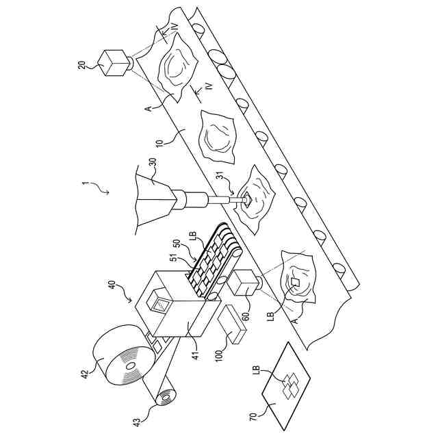
図1は、本発明の実施形態に係るラベル貼付装置の構成例を説明する図である。
図2は、本発明の実施形態に係るラベル貼付装置を説明するブロック図である。
図3は、ラベル貼付装置において実行されるラベル貼付処理を説明するフローチャートである。
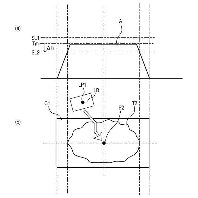
図4は、計測された被着体の形状と決定された貼付可能領域とを説明する模式図である。
図5は、新たなスライスラインが設定され、新たなスライスラインに基づいて貼付可能領域を決定する処理を説明する模式図である。
図6は、スライスラインに基づいて貼付可能領域が決定され、貼付可能領域にラベルが貼り付けられることを説明する模式図である。
図7は、スライスラインに基づいて貼付可能領域が決定され、貼付可能領域にラベルが貼り付けられることを説明する模式図である。
図8は、スライスラインに基づいて貼付可能領域が決定され、貼付可能領域にラベルが貼り付けられることを説明する模式図である。
【発明を実施するための形態】
【0010】
以下、図面を参照しながら本発明の実施形態に係るラベル貼付装置について説明する。
(【0011】以降は省略されています)
この特許をJ-PlatPat(特許庁公式サイト)で参照する
関連特許
株式会社サトー
弾性体ローラ
2日前
株式会社サトー
弾性体ローラ
2日前
株式会社サトー
情報処理システム、情報処理方法
2日前
株式会社サトー
情報処理装置、情報処理方法、および、プログラム
1日前
株式会社サトー
情報処理装置、情報処理方法、および、プログラム
1日前
株式会社サトー
情報処理装置、情報処理システム、情報処理方法及びプログラム
8日前
株式会社サトー
情報処理装置、情報処理システム、情報処理方法、及び、プログラム
2日前
個人
箱
12か月前
個人
収容箱
2か月前
個人
ゴミ箱
11か月前
個人
コンベア
4か月前
個人
容器
8か月前
個人
段ボール箱
6か月前
個人
段ボール箱
6か月前
個人
ゴミ収集器
6か月前
個人
宅配システム
6か月前
個人
角筒状構造体
5か月前
個人
パウチ補助具
11か月前
個人
土嚢運搬器具
8か月前
個人
バンド
1か月前
個人
楽ちんハンド
4か月前
個人
コード類収納具
7か月前
個人
包装容器
22日前
個人
お薬の締結装置
5か月前
個人
廃棄物収容容器
2か月前
個人
閉塞装置
9か月前
個人
貯蔵サイロ
6か月前
個人
蓋閉止構造
3か月前
株式会社バンダイ
物品
3日前
株式会社コロナ
梱包材
5か月前
個人
把手付米袋
4か月前
個人
蓋閉止構造
3か月前
個人
積み重ね用補助具
2か月前
個人
ゴミ処理機
8か月前
株式会社和気
包装用箱
8か月前
三甲株式会社
容器
5か月前
続きを見る
他の特許を見る