TOP
|
特許
|
意匠
|
商標
特許ウォッチ
Twitter
他の特許を見る
10個以上の画像は省略されています。
公開番号
2025154468
公報種別
公開特許公報(A)
公開日
2025-10-10
出願番号
2024057489
出願日
2024-03-29
発明の名称
情報処理装置、情報処理方法、および、プログラム
出願人
株式会社サトー
代理人
弁理士法人グローバル・アイピー東京
主分類
G06F
8/65 20180101AFI20251002BHJP(計算;計数)
要約
【課題】電子機器が情報処理装置に接続できない場合に、接続できない原因を特定しやすくする。
【解決手段】本発明のある一態様は、情報処理装置であり、電子機器に提供されたソフトウェアである第1ソフトウェア及びソフトウェア提供装置との通信に関する情報とを含む第1情報を電子機器から取得する第1取得部と、電子機器への提供対象のソフトウェアである第2ソフトウェアに関する第2情報をソフトウェア提供装置から取得する第2取得部と、電子機器とソフトウェア提供装置とのソフトウェアの提供に関する通信が成功した場合に、第1情報に含まれる第1ソフトウェアと第2ソフトウェアとの同一性を判定する判定部と、電子機器とソフトウェア提供装置とのソフトウェアの提供に関する通信が失敗した場合に、第1情報に含まれる通信に関する情報に基づいて、失敗理由を記憶する記憶部と、を備える。
【選択図】図2
特許請求の範囲
【請求項1】
電子機器と、前記電子機器にソフトウェアを提供するソフトウェア提供装置とを管理する情報処理装置であって、
前記電子機器に提供されたソフトウェアである第1ソフトウェア及び前記ソフトウェア提供装置との通信に関する情報とを含む第1情報を前記電子機器から取得する第1取得部と、
前記電子機器への提供対象のソフトウェアである第2ソフトウェアに関する第2情報を前記ソフトウェア提供装置から取得する第2取得部と、
前記電子機器と前記ソフトウェア提供装置とのソフトウェアの提供に関する通信が成功した場合に、前記第1情報に含まれる第1ソフトウェアと前記第2ソフトウェアとの同一性を判定する判定部と、
前記電子機器と前記ソフトウェア提供装置とのソフトウェアの提供に関する通信が失敗した場合に、前記第1情報に含まれる前記通信に関する情報に基づいて、失敗理由を記憶する記憶部と、
を備える、情報処理装置。
続きを表示(約 1,600 文字)
【請求項2】
前記第1情報および前記第2情報の各々は、前記ソフトウェアの変更履歴を特定するためのハッシュ値を含み、
前記判定部は、前記第1情報と前記第2情報とのそれぞれに基づくハッシュ値の照合を行うことで前記同一性を判定する、
請求項1に記載の情報処理装置。
【請求項3】
前記第1情報は、前記電子機器と前記ソフトウェア提供装置との通信履歴に関する通信履歴情報を含み、
前記判定部は、前記通信履歴情報に応じて、前記電子機器と前記ソフトウェア提供装置とのソフトウェアの提供に関する通信状況を判定する、
請求項1又2に記載の情報処理装置。
【請求項4】
前記判定部は、
前記電子機器による前記ソフトウェアの更新が失敗した場合に、前記通信履歴情報に基づいて、更新失敗が通信障害によるものか否かを判定する、
請求項3に記載の情報処理装置。
【請求項5】
前記電子機器に対する認証処理を行い、認証結果に基づいて、前記電子機器との接続を許可又は不許可とする認証部を有し、
前記認証部は、
前記判定部により前記第1ソフトウェアが前記第2ソフトウェアと同一ではないと判定された場合、前記電子機器との接続を不許可とする、
請求項1に記載の情報処理装置。
【請求項6】
前記第1情報に含まれる前記通信に関する情報は、
前記電子機器が、起動時に前記ソフトウェア提供装置と通信を行い、最新のソフトウェアに関する情報を取得し、取得した最新のソフトウェアと、前記電子機器にインストール済みのソフトウェアとを比較し、差分がある場合に前記ソフトウェア提供装置に差分のソフトウェアを要求する情報を送信した後の前記ソフトウェア提供装置との通信に関する情報である、
請求項1に記載の情報処理装置。
【請求項7】
電子機器と、前記電子機器にソフトウェアを提供するソフトウェア提供装置とを管理するために、情報処理装置によって実行される情報処理方法であって、
前記電子機器に提供されたソフトウェアである第1ソフトウェア及び前記ソフトウェア提供装置との通信に関する情報とを含む第1情報を前記電子機器から取得し、
前記電子機器への提供対象のソフトウェアである第2ソフトウェアに関する第2情報を前記ソフトウェア提供装置から取得し、
前記電子機器と前記ソフトウェア提供装置とのソフトウェアの提供に関する通信が成功した場合に、前記第1情報に含まれる第1ソフトウェアと前記第2ソフトウェアとの同一性を判定し、
前記電子機器と前記ソフトウェア提供装置とのソフトウェアの提供に関する通信が失敗した場合に、前記第1情報に含まれる前記通信に関する情報に基づいて、失敗理由を記憶部に記憶させる、
情報処理方法。
【請求項8】
電子機器と、前記電子機器にソフトウェアを提供するソフトウェア提供装置とを管理するプログラムであって、
前記電子機器に提供されたソフトウェアである第1ソフトウェア及び前記ソフトウェア提供装置との通信に関する情報とを含む第1情報を前記電子機器から取得する手順と、
前記電子機器への提供対象のソフトウェアである第2ソフトウェアに関する第2情報を前記ソフトウェア提供装置から取得する手順と、
前記電子機器と前記ソフトウェア提供装置とのソフトウェアの提供に関する通信が成功した場合に、前記第1情報に含まれる第1ソフトウェアと前記第2ソフトウェアとの同一性を判定する手順と、
前記電子機器と前記ソフトウェア提供装置とのソフトウェアの提供に関する通信が失敗した場合に、前記第1情報に含まれる前記通信に関する情報に基づいて、失敗理由を記憶部に記憶させる手順と、
をコンピュータに実行させるプログラム。
発明の詳細な説明
【技術分野】
【0001】
本発明は、情報処理装置、情報処理方法、および、プログラムに関する。
続きを表示(約 2,000 文字)
【背景技術】
【0002】
プリンタ等の電子機器は、ネットワークを介してサーバ等の外部の情報処理装置に接続され、情報処理装置によって電子機器の状態が管理される場合がある。その場合、電子機器には、情報処理装置と通信を行うためのソフトウェアがインストールされている。電子機器は、例えば最新版のソフトウェアをソフトウェア提供装置から取得して更新する。
電子機器に対するソフトウェアのインストール方法については、様々な提案がなされている。例えば特許文献1には、入力手段によって指定された機種に対応するドライバプログラムをサーバから取得し、取得したドライバプログラムを用いて、指定された機種に対応するドライバプログラムのドライバをインストールする印刷制御装置が記載されている。
【先行技術文献】
【特許文献】
【0003】
特開2020-157521号公報
【発明の概要】
【発明が解決しようとする課題】
【0004】
しかしながら、電子機器がサーバに接続できない原因として、電子機器のソフトウェアが最新版に更新されていないことが原因である場合や、ネットワークの負荷やファイアウォール等のネットワーク環境が原因である場合等の様々な原因が考えられるため、原因の特定が困難であった。
【0005】
そこで、本発明は、電子機器が情報処理装置に接続できない場合に、接続できない原因を特定しやすくすることを目的とする。
【課題を解決するための手段】
【0006】
本発明のある態様は、電子機器と、前記電子機器にソフトウェアを提供するソフトウェア提供装置とを管理する情報処理装置であって、前記電子機器に提供されたソフトウェアである第1ソフトウェア及び前記ソフトウェア提供装置との通信に関する情報とを含む第1情報を前記電子機器から取得する第1取得部と、前記電子機器への提供対象のソフトウェアである第2ソフトウェアに関する第2情報を前記ソフトウェア提供装置から取得する第2取得部と、前記電子機器と前記ソフトウェア提供装置とのソフトウェアの提供に関する通信が成功した場合に、前記第1情報に含まれる第1ソフトウェアと前記第2ソフトウェアとの同一性を判定する判定部と、前記電子機器と前記ソフトウェア提供装置とのソフトウェアの提供に関する通信が失敗した場合に、前記第1情報に含まれる前記通信に関する情報に基づいて、失敗理由を記憶する記憶部と、を備える、情報処理装置である。
【発明の効果】
【0007】
本発明のある態様によれば、電子機器が情報処理装置に接続できない場合に、接続できない原因を特定しやすくできる。
【図面の簡単な説明】
【0008】
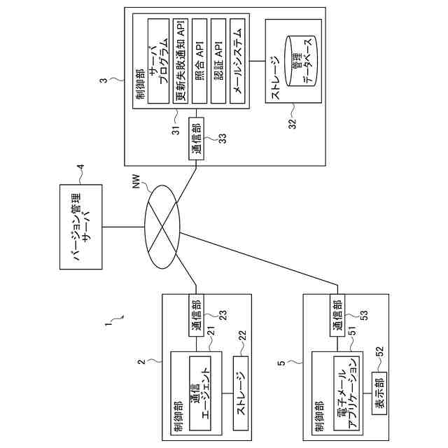
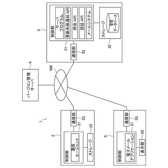
一実施形態のプリンタ管理システムの概略的なシステム構成を示す図である。
一実施形態のプリンタ管理システムのブロック図である。
管理データベースのデータ構成例を示す図である。
一実施形態のプリンタ管理システムの処理を示すシーケンスチャートである。
一実施形態のプリンタ管理システムの処理を示すシーケンスチャートである。
一実施形態のプリンタ管理システムの処理を示すシーケンスチャートである。
一実施形態のプリンタ管理システムの処理を示すシーケンスチャートである。
一実施形態のプリンタ管理システムの処理を示すシーケンスチャートである。
一実施形態のプリンタ管理システムの処理を示すシーケンスチャートである。
【発明を実施するための形態】
【0009】
以下に記載する形態は、図面の簡単な説明により説明される図面に限定されるものではない。
【0010】
本発明のある態様の第1の態様は、電子機器と、前記電子機器にソフトウェアを提供するソフトウェア提供装置とを管理する情報処理装置であって、前記電子機器に提供されたソフトウェアである第1ソフトウェア及び前記ソフトウェア提供装置との通信に関する情報とを含む第1情報を前記電子機器から取得する第1取得部と、前記電子機器への提供対象のソフトウェアである第2ソフトウェアに関する第2情報を前記ソフトウェア提供装置から取得する第2取得部と、前記電子機器と前記ソフトウェア提供装置とのソフトウェアの提供に関する通信が成功した場合に、前記第1情報に含まれる第1ソフトウェアと前記第2ソフトウェアとの同一性を判定する判定部と、前記電子機器と前記ソフトウェア提供装置とのソフトウェアの提供に関する通信が失敗した場合に、前記第1情報に含まれる前記通信に関する情報に基づいて、失敗理由を記憶する記憶部と、を備える、情報処理装置である。
(【0011】以降は省略されています)
この特許をJ-PlatPat(特許庁公式サイト)で参照する
関連特許
株式会社サトー
プリンタ
20日前
株式会社サトー
識別バンド
18日前
株式会社サトー
弾性体ローラ
10日前
株式会社サトー
弾性体ローラ
10日前
株式会社サトー
プリンタ、方法
23日前
株式会社サトー
情報処理システム、情報処理方法
10日前
株式会社サトー
プリンタ、プリンタの制御方法、プログラム
23日前
株式会社サトー
情報処理システム、プログラム、情報処理方法
23日前
株式会社サトー
情報処理システム、情報処理方法、プログラム
1か月前
株式会社サトー
情報処理システム、情報処理方法、プログラム
1か月前
株式会社サトー
プリンタ、プリンタの情報処理方法、プログラム
23日前
株式会社サトー
プリンタ、プログラム、プリンタの情報処理方法
23日前
株式会社サトー
情報処理装置、情報処理方法、および、プログラム
9日前
株式会社サトー
情報処理装置、情報処理方法、および、プログラム
9日前
株式会社サトー
情報処理装置、情報処理システム、情報処理方法及びプログラム
16日前
株式会社サトー
情報処理装置、情報処理システム、情報処理方法、及び、プログラム
10日前
株式会社サトー
プリンタ、プリンタの情報処理方法、プログラム、情報処理システム
23日前
株式会社サトー
導電パターンを備えた基材、電子デバイス、電磁波シールドフィルムおよび面状発熱体
20日前
株式会社サトー
導電パターンを備えた基材、電子デバイス、電磁波シールドフィルムおよび面状発熱体
20日前
株式会社サトー
導電性膜、導電性基材、電子デバイス、RFタグ、電磁波シールドフィルムおよび面状発熱体
20日前
株式会社サトー
プログラム、情報処理システム、情報処理方法
5日前
株式会社サトー
導電性基材の製造方法、電子デバイスの製造方法、および電磁波シールドフィルムの製造方法、面状発熱体の製造方法
20日前
株式会社サトー
導電性基材の製造方法、電子デバイスの製造方法、および電磁波シールドフィルムの製造方法、面状発熱体の製造方法
20日前
株式会社サトー
導電性基材の製造方法、電子デバイスの製造方法、電磁波シールドフィルムの製造方法、および面状発熱体の製造方法
20日前
株式会社サトー
導電性基材の製造方法、電子デバイスの製造方法、電磁波シールドフィルムの製造方法、および面状発熱体の製造方法
20日前
株式会社サトー
導電パターンを備えた基材の製造方法、電子デバイスの製造方法、電磁波シールドフィルムの製造方法、面状発熱体の製造方法および導電パターンを備えた基材
20日前
株式会社サトー
導電パターンを備えた基材の製造方法、電子デバイスの製造方法、電磁波シールドフィルムの製造方法、面状発熱体の製造方法および導電パターンを備えた基材
20日前
株式会社サトー
導電パターンを備えた基材の製造方法、電子デバイスの製造方法、電磁波シールドフィルムの製造方法、面状発熱体の製造方法および導電パターンを備えた基材の製造用の物品
20日前
株式会社サトー
導電パターンを備えた基材の製造方法、電子デバイスの製造方法、電磁波シールドフィルムの製造方法、面状発熱体の製造方法、導電パターンを備えた基材の製造のための中間構造体および導電パターンを備えた基材
20日前
個人
詐欺保険
5日前
個人
縁伊達ポイン
5日前
個人
QRコードの彩色
9日前
個人
地球保全システム
18日前
個人
為替ポイント伊達夢貯
1か月前
個人
冷凍食品輸出支援構造
1か月前
個人
残土処理システム
11日前
続きを見る
他の特許を見る