TOP
|
特許
|
意匠
|
商標
特許ウォッチ
Twitter
他の特許を見る
10個以上の画像は省略されています。
公開番号
2025154473
公報種別
公開特許公報(A)
公開日
2025-10-10
出願番号
2024057498
出願日
2024-03-29
発明の名称
情報処理装置、情報処理方法、および、プログラム
出願人
株式会社サトー
代理人
弁理士法人グローバル・アイピー東京
主分類
G06F
8/65 20180101AFI20251002BHJP(計算;計数)
要約
【課題】電子機器が取得したソフトウェアが提供対象のソフトウェアであるか判定できるようにする。
【解決手段】本発明のある一態様に係る情報処理装置は、電子機器と、電子機器にソフトウェアを提供するソフトウェア提供装置とを管理する。この情報処理装置は、ソフトウェア提供装置から電子機器に提供されたソフトウェアである第1ソフトウェアに関する第1情報を電子機器から取得する第1取得部と、電子機器への提供対象のソフトウェアである第2ソフトウェアに関する第2情報をソフトウェア提供装置から取得する第2取得部と、第1情報と第2情報とを比較することで、第1ソフトウェアが電子機器への提供対象のソフトウェアであるか否かを判定する判定部と、を備える。
【選択図】図2
特許請求の範囲
【請求項1】
電子機器と、前記電子機器にソフトウェアを提供するソフトウェア提供装置とを管理する情報処理装置であって、
前記ソフトウェア提供装置から前記電子機器に提供されたソフトウェアである第1ソフトウェアに関する第1情報を前記電子機器から取得する第1取得部と、
前記電子機器への提供対象のソフトウェアである第2ソフトウェアに関する第2情報を前記ソフトウェア提供装置から取得する第2取得部と、
前記第1情報と前記第2情報とを比較することで、前記第1ソフトウェアが前記電子機器への提供対象のソフトウェアであるか否かを判定する判定部と、
を備える、情報処理装置。
続きを表示(約 1,000 文字)
【請求項2】
前記判定部は、
前記第1情報と前記第2情報とを比較することで、前記ソフトウェア提供装置が前記電子機器に提供対象のソフトウェアを提供する正規のソフトウェア提供装置か否かを判定する、
請求項1に記載の情報処理装置。
【請求項3】
前記電子機器に対する認証処理を行い、認証結果に基づいて、前記電子機器との接続を許可又は不許可とする認証部を有し、
前記認証部は、
前記判定部により前記第1ソフトウェアが前記電子機器への提供対象のソフトウェアではないと判定された場合、前記電子機器との接続を不許可とする、
請求項1に記載の情報処理装置。
【請求項4】
前記判定部は、前記電子機器が前記情報処理装置に所定期間以上接続していない場合、前記電子機器が前記正規のソフトウェア提供装置と異なる装置からソフトウェアを取得したと判断する、
請求項2に記載の情報処理装置。
【請求項5】
電子機器と、前記電子機器にソフトウェアを提供するソフトウェア提供装置とを管理するために、情報処理装置によって実行される情報処理方法であって、
前記ソフトウェア提供装置から前記電子機器に提供されたソフトウェアである第1ソフトウェアに関する第1情報を前記電子機器から取得し、
前記電子機器への提供対象のソフトウェアである第2ソフトウェアに関する第2情報を前記ソフトウェア提供装置から取得し、
前記第1情報と前記第2情報とを比較することで、前記第1ソフトウェアが前記電子機器への提供対象のソフトウェアであるか否かを判定する、
情報処理方法。
【請求項6】
電子機器と、前記電子機器にソフトウェアを提供するソフトウェア提供装置とを管理するプログラムであって、
前記ソフトウェア提供装置から前記電子機器に提供されたソフトウェアである第1ソフトウェアに関する第1情報を前記電子機器から取得する手順と、
前記電子機器への提供対象のソフトウェアである第2ソフトウェアに関する第2情報を前記ソフトウェア提供装置から取得する手順と、
前記第1情報と前記第2情報とを比較することで、前記第1ソフトウェアが前記電子機器への提供対象のソフトウェアであるか否かを判定する手順と、
をコンピュータに実行させるプログラム。
発明の詳細な説明
【技術分野】
【0001】
本発明は、情報処理装置、情報処理方法、および、プログラムに関する。
続きを表示(約 1,800 文字)
【背景技術】
【0002】
プリンタ等の電子機器は、ネットワークを介してサーバ等の外部の情報処理装置に接続され、情報処理装置によって電子機器の状態が管理される場合がある。その場合、電子機器には、情報処理装置と通信を行うためのソフトウェアがインストールされている。電子機器は、例えば最新版のソフトウェアをソフトウェア提供装置から取得して更新する。
電子機器に対するソフトウェアのインストール方法については、様々な提案がなされている。例えば特許文献1には、入力手段によって指定された機種に対応するドライバプログラムをサーバから取得し、取得したドライバプログラムを用いて、指定された機種に対応するドライバプログラムのドライバをインストールする印刷制御装置が記載されている。
【先行技術文献】
【特許文献】
【0003】
特開2020-157521号公報
【発明の概要】
【発明が解決しようとする課題】
【0004】
ところで、電子機器がソフトウェア提供装置からネットワークを介してソフトウェアを取得する際に、電子機器が偽のソフトウェア提供装置に誘導され、偽のソフトウェア提供装置からソフトウェアがダウンロードされて更新されてしまう場合がある。
【0005】
そこで、本発明は、電子機器が取得したソフトウェアが提供対象のソフトウェアであるか判定できるようにすることを目的とする。
【課題を解決するための手段】
【0006】
本発明のある態様は、電子機器と、前記電子機器にソフトウェアを提供するソフトウェア提供装置とを管理する情報処理装置であって、前記電子機器の起動時に、前記ソフトウェア提供装置から前記電子機器に提供されたソフトウェアである第1ソフトウェアに関する第1情報を前記電子機器から取得する第1取得部と、前記電子機器への提供対象のソフトウェアである第2ソフトウェアに関する第2情報を前記ソフトウェア提供装置から取得する第2取得部と、前記第1情報と前記第2情報とを比較することで、前記第1ソフトウェアが前記電子機器への提供対象のソフトウェアであるか否かを判定する判定部と、を備える、情報処理装置である。
【発明の効果】
【0007】
本発明のある態様によれば、電子機器が取得したソフトウェアが提供対象のソフトウェアであるか判定できる。
【図面の簡単な説明】
【0008】
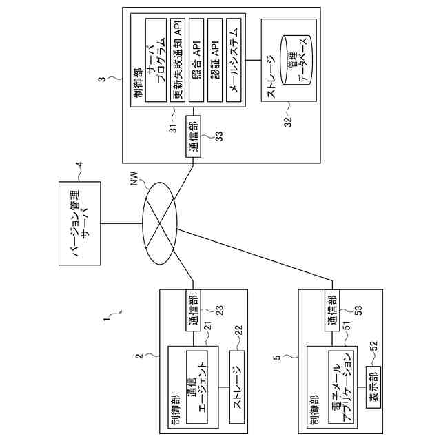
一実施形態のプリンタ管理システムの概略的なシステム構成を示す図である。
一実施形態のプリンタ管理システムのブロック図である。
管理データベースのデータ構成例を示す図である。
一実施形態のプリンタ管理システムの処理を示すシーケンスチャートである。
一実施形態のプリンタ管理システムの処理を示すシーケンスチャートである。
一実施形態のプリンタ管理システムの処理を示すシーケンスチャートである。
一実施形態のプリンタ管理システムの処理を示すシーケンスチャートである。
一実施形態のプリンタ管理システムの処理を示すシーケンスチャートである。
一実施形態のプリンタ管理システムの処理を示すシーケンスチャートである。
【発明を実施するための形態】
【0009】
以下に記載する形態は、図面の簡単な説明により説明される図面に限定されるものではない。
【0010】
本発明のある態様の第1の態様は、電子機器と、前記電子機器にソフトウェアを提供するソフトウェア提供装置とを管理する情報処理装置であって、前記ソフトウェア提供装置から前記電子機器に提供されたソフトウェアである第1ソフトウェアに関する第1情報を前記電子機器から取得する第1取得部と、前記電子機器への提供対象のソフトウェアである第2ソフトウェアに関する第2情報を前記ソフトウェア提供装置から取得する第2取得部と、前記第1情報と前記第2情報とを比較することで、前記第1ソフトウェアが前記電子機器への提供対象のソフトウェアであるか否かを判定する判定部と、を備える、情報処理装置である。
(【0011】以降は省略されています)
この特許をJ-PlatPat(特許庁公式サイト)で参照する
関連特許
株式会社サトー
プリンタ
12日前
株式会社サトー
識別バンド
10日前
株式会社サトー
弾性体ローラ
2日前
株式会社サトー
弾性体ローラ
2日前
株式会社サトー
プリンタ、方法
15日前
株式会社サトー
情報処理システム、情報処理方法
2日前
株式会社サトー
プリンタ、プリンタの制御方法、プログラム
15日前
株式会社サトー
情報処理システム、情報処理方法、プログラム
22日前
株式会社サトー
情報処理システム、情報処理方法、プログラム
22日前
株式会社サトー
情報処理システム、プログラム、情報処理方法
15日前
株式会社サトー
プリンタ、プログラム、プリンタの情報処理方法
15日前
株式会社サトー
プリンタ、プリンタの情報処理方法、プログラム
15日前
株式会社サトー
情報処理装置、情報処理方法、および、プログラム
1日前
株式会社サトー
情報処理装置、情報処理方法、および、プログラム
1日前
株式会社サトー
情報処理装置、情報処理システム、情報処理方法及びプログラム
8日前
株式会社サトー
プリンタ、プリンタの情報処理方法、プログラム、情報処理システム
15日前
株式会社サトー
情報処理装置、情報処理システム、情報処理方法、及び、プログラム
2日前
株式会社サトー
導電パターンを備えた基材、電子デバイス、電磁波シールドフィルムおよび面状発熱体
12日前
株式会社サトー
導電パターンを備えた基材、電子デバイス、電磁波シールドフィルムおよび面状発熱体
12日前
株式会社サトー
導電性膜、導電性基材、電子デバイス、RFタグ、電磁波シールドフィルムおよび面状発熱体
12日前
株式会社サトー
導電性基材の製造方法、電子デバイスの製造方法、電磁波シールドフィルムの製造方法、および面状発熱体の製造方法
12日前
株式会社サトー
導電性基材の製造方法、電子デバイスの製造方法、および電磁波シールドフィルムの製造方法、面状発熱体の製造方法
12日前
株式会社サトー
導電性基材の製造方法、電子デバイスの製造方法、および電磁波シールドフィルムの製造方法、面状発熱体の製造方法
12日前
株式会社サトー
導電性基材の製造方法、電子デバイスの製造方法、電磁波シールドフィルムの製造方法、および面状発熱体の製造方法
12日前
株式会社サトー
導電パターンを備えた基材の製造方法、電子デバイスの製造方法、電磁波シールドフィルムの製造方法、面状発熱体の製造方法および導電パターンを備えた基材
12日前
株式会社サトー
導電パターンを備えた基材の製造方法、電子デバイスの製造方法、電磁波シールドフィルムの製造方法、面状発熱体の製造方法および導電パターンを備えた基材
12日前
株式会社サトー
導電パターンを備えた基材の製造方法、電子デバイスの製造方法、電磁波シールドフィルムの製造方法、面状発熱体の製造方法および導電パターンを備えた基材の製造用の物品
12日前
株式会社サトー
導電パターンを備えた基材の製造方法、電子デバイスの製造方法、電磁波シールドフィルムの製造方法、面状発熱体の製造方法、導電パターンを備えた基材の製造のための中間構造体および導電パターンを備えた基材
12日前
個人
裁判のAI化
2か月前
個人
地球保全システム
10日前
個人
フラワーコートA
2か月前
個人
工程設計支援装置
1か月前
個人
QRコードの彩色
1日前
個人
介護情報提供システム
2か月前
個人
為替ポイント伊達夢貯
1か月前
個人
冷凍食品輸出支援構造
1か月前
続きを見る
他の特許を見る