TOP
|
特許
|
意匠
|
商標
特許ウォッチ
Twitter
他の特許を見る
10個以上の画像は省略されています。
公開番号
2025117331
公報種別
公開特許公報(A)
公開日
2025-08-12
出願番号
2024012111
出願日
2024-01-30
発明の名称
光電変換素子
出願人
国立研究開発法人産業技術総合研究所
,
国立大学法人 東京大学
代理人
個人
,
個人
,
個人
主分類
H10F
30/20 20250101AFI20250804BHJP()
要約
【課題】高出力な光電変換素子を提供することを目的とする。
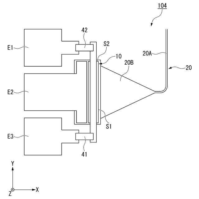
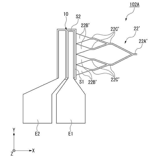
【解決手段】本実施形態にかかる光電変換素子は、第1積層体と、第1光導波路と、を備える。前記第1積層体は、積層方向において上部に配置された第1不純物半導体と、前記第1不純物半導体と導電型が異なり、積層方向において下部に配置された第2不純物半導体と、積層方向において前記第1不純物半導体と前記第2不純物半導体とに挟まれた第1真性半導体と、を有する。前記第1積層体の前記第1真性半導体は、前記積層方向から見て、第1辺の長さが、前記第1辺と交差する第2辺の長さより長い。前記第1光導波路は、前記第1積層体の前記第1辺が属する第1側面に接続されている。
【選択図】図1
特許請求の範囲
【請求項1】
第1積層体と、第1光導波路と、を備え、
前記第1積層体は、積層方向において上部に配置された第1不純物半導体と、前記第1不純物半導体と導電型が異なり、積層方向において下部に配置された第2不純物半導体と、積層方向において前記第1不純物半導体と前記第2不純物半導体とに挟まれた第1真性半導体と、を有し、
前記第1積層体の前記第1真性半導体は、前記積層方向から見て、第1辺の長さが、前記第1辺と交差する第2辺の長さより長く、
前記第1光導波路は、前記第1積層体の前記第1辺が属する第1側面に接続されている、光電変換素子。
続きを表示(約 810 文字)
【請求項2】
前記第2辺の長さに対する前記第1辺の長さであるアスペクト比が5以上である、請求項1に記載の光電変換素子。
【請求項3】
前記第1辺の長さが25μm以上である、請求項1に記載の光電変換素子。
【請求項4】
前記第1光導波路は、光照射部を有し、
前記光照射部は、前記第1積層体に近づくに従って幅が広くなっている、請求項1に記載の光電変換素子。
【請求項5】
前記第1光導波路は、前記第1積層体の前記第1側面に対して斜め方向に接続されている、請求項1に記載の光電変換素子。
【請求項6】
前記第1光導波路は、複数の光照射部を有し、
前記第1光導波路を伝搬する光は、分岐されて、前記複数の光照射部のそれぞれから前記第1側面に入射する、請求項1に記載の光電変換素子。
【請求項7】
前記第1光導波路は、光照射部を有し、
前記第1光導波路を伝搬する光は、前記光照射部に至るまでに分岐されている、請求項1に記載の光電変換素子。
【請求項8】
前記第1積層体の第1不純物半導体に接続された第1電極と、
前記第1積層体の第2不純物半導体に接続された第2電極と、をさらに備える、請求項1に記載の光電変換素子。
【請求項9】
前記第1積層体に対して前記第1電極と電気的に並列な関係にある第3電極をさらに有する、請求項8に記載の光電変換素子。
【請求項10】
第1抵抗素子と、第2抵抗素子と、をさらに備え、
前記第1抵抗素子は、前記第1積層体と、前記第3電極と、の間にあり、
前記第2抵抗素子は、前記第1積層体と、前記第3電極と並列な関係にある前記第1電極との間にある、請求項9に記載の光電変換素子。
(【請求項11】以降は省略されています)
発明の詳細な説明
【技術分野】
【0001】
本発明は、光電変換素子に関する。
続きを表示(約 1,500 文字)
【背景技術】
【0002】
通信技術の発達に伴い、データの高速かつ高効率な送受信が求められており、シリコンフォトニクスへの注目が高まっている。シリコンフォトニクスは、微細加工技術を用いてシリコン基板上に、発光素子、受光器、光変調器といった素子を集積する技術である。
【0003】
シリコンフォトニクス回路に用いられる光電変換素子として、ゲルマニウムを用いたフォトダイオードが知られている。一方で、ゲルマニウムを用いたフォトダイオードは、飽和現象によって高出力を得ることが難しいという問題がある。
【0004】
例えば、非特許文献1~3には、高出力なフォトダイオードを実現するための様々な方法が開示されている。非特許文献1には、複数のフォトダイオードを使用する例が開示されている。非特許文献2には、高濃度のP型ドーピング層をゲルマニウム層の下地層に用いる例が開示されている。非特許文献3には、特殊な導波路の形状を採用し、エバネッセント光をゲルマニウムに入射させる例が開示されている。
【先行技術文献】
【非特許文献】
【0005】
Ta-Ching Tzu et al., “Foundry-Enabled High-Power Photodetectors for Microwave Photonics,”IEEE Journal of Selected Topics in Quantum Electronics 25, 3800111 (2019).
Zhibin Jiang et al.,“High-power Si-Ge photodiode assisted by doping regulation,”Optics Express 29, 7389 (2021).
Xiao Hu et al.,“High-speed and high-power germanium photodetector with a lateral silicon nitride waveguide,”Photonics Research 9, 749 (2021).
【発明の概要】
【発明が解決しようとする課題】
【0006】
非特許文献1に記載の方法は、フォトダイオードの数が増え、集積性が低い。非特許文献2及び3に記載の方法は、特殊な手法が必要であり、汎用性に欠ける。
【0007】
本発明は上記問題に鑑みてなされたものであり、高出力な光電変換素子を提供することを目的とする。
【課題を解決するための手段】
【0008】
本発明は、上記課題を解決するため、以下の手段を提供する。
【0009】
第1の態様にかかる光電変換素子は、第1積層体と、第1光導波路と、を備える。前記第1積層体は、積層方向において上部に配置された第1不純物半導体と、前記第1不純物半導体と導電型が異なり、積層方向において上部に配置された第2不純物半導体と、積層方向において前記第1不純物半導体と前記第2不純物半導体とに挟まれた第1真性半導体と、を有する。前記第1積層体の前記第1真性半導体は、前記積層方向から見て、第1辺の長さが、前記第1辺と交差する第2辺の長さより長い。前記第1光導波路は、前記第1積層体の前記第1辺が属する第1側面に接続されている。
【発明の効果】
【0010】
本実施形態に係る光電変換素子は、飽和現象が生じにくく、高出力である。
【図面の簡単な説明】
(【0011】以降は省略されています)
この特許をJ-PlatPat(特許庁公式サイト)で参照する
関連特許
個人
半導体装置
1日前
東レ株式会社
太陽電池モジュール
1日前
エイブリック株式会社
半導体装置
7日前
富士電機株式会社
半導体装置
10日前
富士電機株式会社
半導体装置
28日前
富士通株式会社
半導体装置
今日
ローム株式会社
半導体装置
2日前
三菱電機株式会社
半導体装置
今日
AGC株式会社
太陽電池モジュール
13日前
日亜化学工業株式会社
発光素子
8日前
キヤノン株式会社
有機発光素子
20日前
株式会社半導体エネルギー研究所
半導体装置
29日前
日亜化学工業株式会社
発光装置
28日前
日亜化学工業株式会社
発光素子
今日
TDK株式会社
圧電素子
今日
ミツミ電機株式会社
半導体装置
7日前
ローム株式会社
半導体装置
8日前
ローム株式会社
TVSダイオード
8日前
ローム株式会社
TVSダイオード
8日前
ローム株式会社
窒化物半導体装置
28日前
TDK株式会社
光検知装置
7日前
住友電気工業株式会社
半導体装置
20日前
サンケン電気株式会社
半導体装置
6日前
デクセリアルズ株式会社
受光装置
6日前
住友電気工業株式会社
半導体装置
20日前
株式会社東芝
熱電変換装置
8日前
沖電気工業株式会社
発光装置及び表示装置
1日前
株式会社カネカ
太陽電池モジュール
8日前
三菱電機株式会社
半導体装置
14日前
キオクシア株式会社
記憶装置
6日前
個人
半導体装置
1か月前
内山工業株式会社
太陽電池
6日前
株式会社カネカ
太陽光発電システム
29日前
日本電気株式会社
超伝導量子回路装置
今日
国立大学法人東京科学大学
半導体装置
29日前
キオクシア株式会社
半導体装置
14日前
続きを見る
他の特許を見る