TOP
|
特許
|
意匠
|
商標
特許ウォッチ
Twitter
他の特許を見る
公開番号
2025117782
公報種別
公開特許公報(A)
公開日
2025-08-13
出願番号
2024012688
出願日
2024-01-31
発明の名称
光増幅器及び光増幅器監視方法
出願人
NTT株式会社
,
パナソニックコネクト株式会社
代理人
弁理士法人志賀国際特許事務所
主分類
H01S
3/10 20060101AFI20250805BHJP(基本的電気素子)
要約
【課題】光増幅器における異常検出精度を向上させる。
【解決手段】光増幅器は、増幅部と、制御部と、検出部とを有する。増幅部は、光信号を増幅する。制御部は、増幅部により増幅された光信号の光パワーに基づいて増幅部による光信号の増幅を制御する。検出部は、増幅部により増幅された光信号に含まれる雑音量に基づいて異常を検出する。
【選択図】図1
特許請求の範囲
【請求項1】
光信号を増幅する増幅部と、
前記増幅部により増幅された前記光信号の光パワーに基づいて前記増幅部による光信号の増幅を制御する制御部と、
前記増幅部により増幅された前記光信号に含まれる雑音量に基づいて異常を検出する検出部と、
を備える光増幅器。
続きを表示(約 480 文字)
【請求項2】
前記光増幅器は、エルビウム添加光ファイバ増幅器である、
請求項1に記載の光増幅器。
【請求項3】
前記増幅部により増幅された前記光信号を、主信号帯域の主信号成分光信号と前記主信号帯域を除いた雑音成分光信号とに分離する濾波部をさらに備え、
前記検出部は、前記主信号成分光信号と前記雑音成分光信号とのそれぞれを監視して異常を検出する、
請求項2に記載の光増幅器。
【請求項4】
前記検出部は、前記主信号成分光信号の光パワーと、前記雑音成分光信号の光パワーとの比に基づいて前記光信号の波長ずれを検出する、
請求項3に記載の光増幅器。
【請求項5】
光信号を増幅する増幅ステップと、
前記増幅ステップにおいて増幅された前記光信号の光パワーに基づいて前記増幅ステップにおける光信号の増幅を制御する制御ステップと、
前記増幅ステップにおいて増幅された前記光信号に含まれる雑音量に基づいて異常を検出する検出ステップと、
を有する光増幅器監視方法。
発明の詳細な説明
【技術分野】
【0001】
本発明は、光増幅器及び光増幅器監視方法に関する。
続きを表示(約 2,700 文字)
【背景技術】
【0002】
光通信技術に欠かせない技術の一つに光増幅技術がある。光増幅器には、光ファイバ増幅器(OFA:Optical Fiber Amplifier)と半導体光増幅器(SOA:Semiconductor Optical Amplifier)の2種類がある。さらに、光ファイバ増幅器には、希土類添加ファイバ増幅器とファイバラマン増幅器の2種類がある。
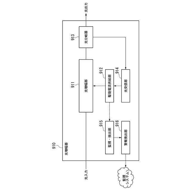
【0003】
図6は、上記のような光増幅技術を内蔵した光増幅器910の構成例を示す図である。光増幅器910の光増幅部911は、光増幅器910への光入力信号を、駆動電流供給部912から供給される駆動電流を利用して光増幅技術により増幅し、出力する。光増幅部911の出力側には光分岐器913が配置される。光分岐器913により2つに分岐された一方は、光増幅器910からの光出力信号となり、他方は、光分岐器913の後に配置された光受信部914に出力される。光受信部914は、光分岐器913から入力した光出力信号を検出し、得られた光出力信号強度情報を駆動電流供給部912にフィードバックする。これにより、出力光信号のパワーを一定に保つ(APC:Auto Power Control)等の制御を行うのが一般的である。一方、監視・検出部915は、駆動電流供給部912における駆動電流量を監視し、異常値を検出した場合には、警報発出部916を経由して異常情報を監視システムに送信する。ここで、異常情報をもとに、光増幅器910の動作を停止する等の制御を行うこともある。
【0004】
上述のように、光増幅器では、駆動電流供給部から供給される駆動電流値を監視し、その変動に基づいて光増幅器の異常を監視することが一般である。しかしながら、これらの光増幅器における駆動電流値は、温度によっても変動することがある。従って、駆動電流値を監視する従来技術では、駆動電流値の正常/異常の判定に用いる閾値を精度高く設定することが困難であり、異常検出の精度が低下するという課題があった。
【0005】
また、希土類添加ファイバ増幅器の代表的なものとして、EDFA(エルビウム添加光ファイバ増幅器:erbium doped fiber amplifier)がある。EDFAは、OFAの一つである。EDFAは、コアにエルビウムを添加した光ファイバ(EDFAコイル)に信号光と励起光とを入力した際の励起光の誘導放出を利用して、信号光を増幅する光増幅器である。本技術は、高利得、低雑音、偏波無依存といった特徴を持つため、現在までに光伝送分野で広く普及している技術である。励起光源の入力方向が信号光の方向と同じものを前方励起型、逆のものを後方励起型と呼ぶ。また、両者を組み合わせたものを双方向励起型と呼ぶ。
【0006】
近年、温度管理・制御機能を持たないクーラーレス型励起レーザーを有するEDFAが開発、導入されている(例えば、非特許文献1参照)。本励起レーザーは、温度監視・制御機能を持たないため、従来品と比較して低コスト化、小型化が容易であり、導入が進んでいる。また、このようなEDFAにおいては、EDFAに入力する光信号のパワーが変動した場合でも出力光信号パワーを一定に保つ機能(APC)と、そのような変動が発生した場合でもEDFAの増幅利得を一定に保つ機能(AGC:Auto Gain Control)と、EDFA内の励起レーザーの駆動電流値を一定に保つ機能(ACC:Auto Current Control)とのいずれか、または全てを具備し、適用されるシステムに応じた動作を行うのが一般である。
【0007】
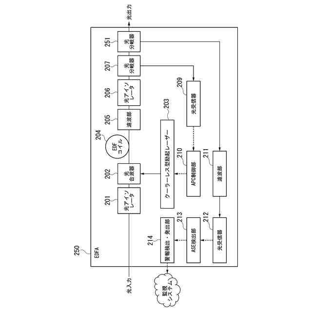
図7は、クーラーレス型励起レーザーを内蔵し、APC動作をするEDFA920の構成を示す図である。EDFA920に入力された伝送光信号は、光アイソレータ921を透過した後、光合波器922においてクーラーレス型励起レーザー923からの励起光信号と合波され、EDFコイル924に入力される。EDFコイル924内において、光の誘導放出を利用して伝送光信号が増幅される。EDFコイル924から出力された伝送光信号は、励起光抑圧用の濾波部925、戻り光遮断用の光アイソレータ926を透過した後、光分岐器927において光パワーが2つに分配される。光分岐器927により分岐された片方はEDFA920から出力される。分岐された他方の伝送光信号は、その後に配置される光受信器928において光/電気変換され、その電流情報がAPC制御部929に送られる。APC制御部929は、受信した電流情報に基づき、クーラーレス型励起レーザー923に必要な駆動電流値を決定し、クーラーレス型励起レーザー923は決定された電流値により発光する。電流監視・検出部930は、クーラーレス型励起レーザー923への駆動電流値を監視して正常か異常かの判断を行い、異常がある場合には、警報発出部931に警報情報を送信する。警報発出部931は、受信した警報情報を外部の監視システムに発出する。
【先行技術文献】
【非特許文献】
【0008】
「光アンプ励起用小型クーラレスポンプレーザモジュール(ミニポンプ・FOL0903mシリーズ)」、古河電気工業株式会社、古河電工時報、第109号、73-74頁、平成14年1月
【発明の概要】
【発明が解決しようとする課題】
【0009】
上記のような光増幅器においては、光増幅器出力光パワーは正常だが、雑音特性が劣化するような故障モードが存在する。このような雑音特性の劣化は、光増幅器(EDFA920)への入力光パワーが想定よりも低下した場合に生じる。もしくは、雑音特性の劣化は、光増幅器内の光増幅部(EDFコイル924)の入力部に一般的に挿入される光コネクタ、戻り光抑圧用の光アイソレータ921、励起光信号と合波するための光合波器922等の光デバイスの故障により光増幅部(EDFコイル924)への入力光パワーが想定以上に低下した結果、信号光に対する雑音光の量が相対的に増加することによって生ずる。
【0010】
上記のうち、前者の「光増幅器(EDFA920)への入力光パワーが想定よりも低下した場合」については、EDFA920へ光信号を入力する入力部において入力光信号の光パワーを一部分岐し、監視部がその分岐光のパワーを監視することにより、本低下を異常として検出することが可能である。
(【0011】以降は省略されています)
この特許をJ-PlatPat(特許庁公式サイト)で参照する
関連特許
NTT株式会社
圧力センサ
13日前
NTT株式会社
光デバイス
20日前
NTT株式会社
信号送信装置
21日前
NTT株式会社
光信号処理装置
22日前
NTT株式会社
推定装置及び推定方法
6日前
NTT株式会社
試験装置および試験方法
2か月前
NTT株式会社
解析装置および解析方法
12日前
NTT株式会社
量子計算装置、及び制御装置
1か月前
NTT株式会社
通信システム、及び通信方法
29日前
NTT株式会社
光増幅器及び光増幅器監視方法
1か月前
NTT株式会社
音声抽出装置及び音声抽出方法
1か月前
NTT株式会社
交通量推定装置及び交通量推定方法
6日前
NTT株式会社
映像処理装置、方法及びプログラム
2日前
NTT株式会社
秘匿計算システム及び秘匿計算方法
20日前
NTT株式会社
秘匿計算システム及び秘匿計算方法
20日前
NTT株式会社
検索装置、検索方法及びプログラム
20日前
NTT株式会社
無線通信方法及び無線通信システム
1か月前
NTT株式会社
イオン伝送装置、及びイオン伝送方法
22日前
NTT株式会社
情報処理装置、方法およびプログラム
20日前
NTT株式会社
光ファイバの群遅延時間測定システム
12日前
NTT株式会社
推論装置、推論方法、及びプログラム
1か月前
NTT株式会社
データ解析装置、方法およびプログラム
20日前
NTT株式会社
単一光子生成装置、及び単一光子生成方法
1か月前
NTT株式会社
生成システム、生成装置、および生成方法
1か月前
NTT株式会社
情報処理装置、情報処理方法及びプログラム
1か月前
NTT株式会社
置局設計装置、置局設計方法及びプログラム
1か月前
NTT株式会社
情報処理装置、情報処理方法及びプログラム
1か月前
NTT株式会社
周期検出装置、周期検出方法及びプログラム
1か月前
NTT株式会社
配送計画装置、配送計画方法、及びプログラム
1か月前
NTT株式会社
通信制御システム、通信制御方法及びプログラム
1か月前
NTT株式会社
推論装置、学習装置、推論方法、及びプログラム
12日前
NTT株式会社
移動ロボット、移動量推定方法、及びプログラム
1か月前
NTT株式会社
画像処理装置、画像処理方法及び画像処理プログラム
1か月前
NTT株式会社
修辞構造解析装置、修辞構造解析方法及びプログラム
1か月前
NTT株式会社
情報処理装置、情報処理方法および情報処理プログラム
1か月前
NTT株式会社
組合せ最適化方法、組合せ最適化装置、及びプログラム
2日前
続きを見る
他の特許を見る