TOP
|
特許
|
意匠
|
商標
特許ウォッチ
Twitter
他の特許を見る
公開番号
2025118153
公報種別
公開特許公報(A)
公開日
2025-08-13
出願番号
2024013296
出願日
2024-01-31
発明の名称
吐出器
出願人
株式会社吉野工業所
代理人
個人
,
個人
,
個人
,
個人
主分類
B05B
11/00 20230101AFI20250805BHJP(霧化または噴霧一般;液体または他の流動性材料の表面への適用一般)
要約
【課題】トリガーレバーの1回の操作による吐出器からの内容物の吐出回数を増やすこと。
【解決手段】この吐出器は、吐出ヘッドに連係するトリガーレバーを備え、前記吐出ヘッドは、最前方位置において第1連通孔を閉塞する栓部、及び、前記第1連通孔の内壁面に対して、周方向に間欠的に当接すると共に前後方向に脱着可能に嵌合するアンダーカット部を有するピストンガイドと、前記ピストンガイドに対し前後方向の所定範囲内で相対移動可能に係合し、前記前方貯留部への内容物の供給に伴って前記ピストンガイドと共に後方に向けて移動するピストンと、前記ピストンを前方に向けて付勢する第1付勢部材と、最前方位置において第2連通孔を閉塞し、前記後方貯留部への内容物の供給に伴って後方に向けて移動する貯留プランジャと、前記貯留プランジャを前方に向けて付勢する第2付勢部材と、を備える。
【選択図】図2
特許請求の範囲
【請求項1】
内容物が収容される容器本体の口部に、上方付勢状態で下方移動可能に配設されたステムと、
前記ステムの上端部に設けられ、吐出孔が形成された吐出ヘッドと、
前記吐出ヘッドに連係するトリガーレバーと、を備え、
前記吐出ヘッドは、
前方に前記吐出孔と連通する第1連通孔が形成された前方貯留部と、
前記前方貯留部の後方に配置され、前方に前記前方貯留部と連通する第2連通孔が形成され、前記ステム内を通過した内容物が貯留される後方貯留部と、を備え、
前記前方貯留部は、
前記前方貯留部内に移動自在に配設され、最前方位置において前記第1連通孔を閉塞する栓部、及び、前記第1連通孔の内壁面に対して、周方向に間欠的に当接すると共に前後方向に脱着可能に嵌合するアンダーカット部を有するピストンガイドと、
前記ピストンガイドに対し前後方向の所定範囲内で相対移動可能に係合し、前記前方貯留部への内容物の供給に伴って前記ピストンガイドと共に後方に向けて移動するピストンと、
前記ピストンを前方に向けて付勢する第1付勢部材と、を備え、
前記後方貯留部は、
前記後方貯留部内に移動自在に配設され、最前方位置において前記第2連通孔を閉塞し、前記後方貯留部への内容物の供給に伴って後方に向けて移動する貯留プランジャと、
前記貯留プランジャを前方に向けて付勢する第2付勢部材と、を備え、
前記ピストンは、内容物の圧力に応じて、前記前方貯留部における前記ピストンより前方の空間と後方の空間との連通を許容する弾性変形と、前記前方貯留部における前記ピストンの前方の空間と後方の空間との連通を遮断する復元変形と、が可能であり、
前記ピストンが前記弾性変形するときの内容物の圧力をP1とし、
前記ピストンが前記第1付勢部材の付勢に抗して後方に移動するときの内容物の圧力をP2とし、
前記貯留プランジャが前記第2付勢部材の付勢に抗して後方に移動するときの内容物の圧力をP3としたときに、
P1<P2<P3の関係を有する、
吐出器。
続きを表示(約 450 文字)
【請求項2】
前記ピストンは、前方を向く第1受圧部と、後方を向き、前記第1受圧部よりも受圧面積が小さい第2受圧部と、を備える、
請求項1に記載の吐出器。
【請求項3】
前記ステムの下部に設けられた下部ピストンと、
前記ステムにおける、前記下部ピストンより上方に設けられた上部ピストンと、
前記下部ピストンを上下摺動自在に収容する下部シリンダと、
前記下部シリンダの上方に連設され、かつ内部が前記下部シリンダの内部と上下に連通すると共に前記下部シリンダより内径が小さく、前記上部ピストンを上下摺動自在に収容する上部シリンダと、
前記ステムが下方に移動する際に、前記下部シリンダの内部における前記下部ピストンより下方の空間と上方の空間との連通を許容し、かつ、前記ステムが上方に移動する際に、前記下部シリンダの内部における前記下部ピストンより下方の空間と上方の空間との連通を遮断する弁部と、を備える、
請求項1または2記載の吐出器。
発明の詳細な説明
【技術分野】
【0001】
本発明は、吐出器に関する。
続きを表示(約 3,500 文字)
【背景技術】
【0002】
従来から、下記特許文献1記載の吐出器が知られている。この吐出器は、上方付勢状態で下方移動自在に配設されたステムと、ステムの上端に装着され、内容物の吐出孔が形成された吐出ヘッドと、吐出ヘッドを押し下げるためのトリガーレバーと、ステムに連動する筒状のピストンと、ピストンが上下摺動自在に収容されたシリンダと、を備える。トリガーレバーを引くと、ステムと共にピストンが下方移動し、ピストンによって加圧されたシリンダ内の内容物が、ステム内を通して吐出孔から吐出される。
【先行技術文献】
【特許文献】
【0003】
特開2017-13824号公報
【発明の概要】
【発明が解決しようとする課題】
【0004】
ところで、ドライシャンプー等の頭皮や皮膚に向けて内容物を吐出する吐出器は、吐出時の内容物の勢いで、汚れを落とす洗浄効果を得たり、マッサージ効果を得ることを特徴としている。このため、トリガーレバーの1回の操作による1回の内容物の吐出では、何度もトリガーレバーの操作を繰り返さないといけないため、操作が大変なうえ、内容物の吐出間隔が広くなり、洗浄効果やマッサージ効果が薄れてしまう、という課題があった。
【0005】
本発明は、このような事情に鑑みてなされたものであって、その目的は、トリガーレバーの1回の操作による吐出器からの内容物の吐出回数を増やすことである。
【課題を解決するための手段】
【0006】
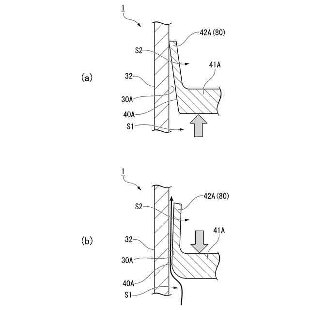
本発明に係る吐出器は、内容物が収容される容器本体の口部に、上方付勢状態で下方移動可能に配設されたステムと、前記ステムの上端部に設けられ、吐出孔が形成された吐出ヘッドと、前記吐出ヘッドに連係するトリガーレバーと、を備え、前記吐出ヘッドは、前方に前記吐出孔と連通する第1連通孔が形成された前方貯留部と、前記前方貯留部の後方に配置され、前方に前記前方貯留部と連通する第2連通孔が形成され、前記ステム内を通過した内容物が貯留される後方貯留部と、を備え、前記前方貯留部は、前記前方貯留部内に移動自在に配設され、最前方位置において前記第1連通孔を閉塞する栓部、及び、前記第1連通孔の内壁面に対して、周方向に間欠的に当接すると共に前後方向に脱着可能に嵌合するアンダーカット部を有するピストンガイドと、前記ピストンガイドに対し前後方向の所定範囲内で相対移動可能に係合し、前記前方貯留部への内容物の供給に伴って前記ピストンガイドと共に後方に向けて移動するピストンと、前記ピストンを前方に向けて付勢する第1付勢部材と、を備え、前記後方貯留部は、前記後方貯留部内に移動自在に配設され、最前方位置において前記第2連通孔を閉塞し、前記後方貯留部への内容物の供給に伴って後方に向けて移動する貯留プランジャと、前記貯留プランジャを前方に向けて付勢する第2付勢部材と、を備え、前記ピストンは、内容物の圧力に応じて、前記前方貯留部における前記ピストンより前方の空間と後方の空間との連通を許容する弾性変形と、前記前方貯留部における前記ピストンの前方の空間と後方の空間との連通を遮断する復元変形と、が可能であり、前記ピストンが前記弾性変形するときの内容物の圧力をP1とし、前記ピストンが前記第1付勢部材の付勢に抗して後方に移動するときの内容物の圧力をP2とし、前記貯留プランジャが前記第2付勢部材の付勢に抗して後方に移動するときの内容物の圧力をP3としたときに、P1<P2<P3の関係を有する。
【0007】
本発明に係る吐出器によれば、トリガーレバーが操作され、ステムが付勢に抗して下方移動すると、ステムから後方貯留部に内容物が供給される。後方貯留部に内容物が供給されると、後方貯留部において内容物の圧力が高まり(圧力P3)、貯留プランジャが第2付勢部材の付勢力に抗して後方に移動する。貯留プランジャが後方に移動すると、後方貯留部の前方に形成された第2連通孔が開放され、後方貯留部内の内容物が第2連通孔を介して前方貯留部に供給される。
前方貯留部に内容物が供給されると、前方貯留部において内容物の圧力が高まり(圧力P1)、ピストンが弾性変形し、前方貯留部においてピストンより後方の空間から前方の空間に内容物が供給される。後方貯留部から前方貯留部への内容物の供給により、さらに、前方貯留部において内容物の圧力が高まると(圧力P2)、ピストンが第1付勢部材の付勢に抗して後方に移動する。ピストンが後方に移動すると、第1連通孔の内壁面にアンダーカット嵌合しているピストンガイドが、ピストンに引っ張られて第1連通孔の内壁面から脱着し、後方に移動する。ピストンガイドは、前方貯留部の前方に形成された第1連通孔を閉塞する栓部を有しており、後方移動により第1連通孔を開放する。
第1連通孔が開放されると、前方貯留部におけるピストンより前方の空間と吐出孔が連通し、前方貯留部におけるピストンより前方の空間の圧力が低下する。前方貯留部におけるピストンより前方の空間の圧力が低下すると、ピストンが第1付勢部材の付勢によって前方に移動する。ピストンが前方に移動すると、前方貯留部におけるピストンよりも後方の空間の容量が増加し、後方の空間の圧力が低下するため、ピストンは復元変形する。ピストンが復元変形すると、前方貯留部におけるピストンの前方の空間と後方の空間との連通が遮断され、ピストンの前方移動によって前方貯留部のピストンより前方の空間が加圧される。
前方貯留部におけるピストンより前方の空間が加圧されると、前方貯留部内の内容物が第1連通孔を介して吐出孔に供給され、内容物が外部に吐出される。ここで、ピストンガイドは、第1連通孔の内壁面に対し周方向に間欠的に当接するアンダーカット部を有しているため、内容物はアンダーカット部の隙間を通り、前方貯留部から吐出孔側に流出することができる。また、非嵌合状態のピストンガイドは、アンダーカット部によって、第1連通孔の内壁面またはその近傍に当接しているため、ピストンが前方移動し始めた際に、ピストンと共に前方移動することなく、第1連通孔の開放状態を保つ。
ピストンがさらに前方移動し、ピストンガイドとの相対移動可能なストロークを超えると、ピストンガイドはピストンと共に前方移動し、第1連通孔の内壁面に対して嵌合状態となり、栓部によって第1連通孔を閉塞する。第1連通孔が閉塞されると、後方貯留部から前方貯留部への内容物の供給により、前方貯留部において、再び内容物の圧力が高まり(圧力P1)、ピストンが弾性変形し、前方貯留部においてピストンより後方の空間から前方の空間に内容物が供給される。
その後は、上述したサイクルを繰り返し、後方貯留部の内容物の圧力が低下し、貯留プランジャによって第2連通孔が閉塞されるまで、吐出孔から断続的に内容物が吐出される。
このように、本発明に係る吐出器によれば、トリガーレバーの1回の操作による吐出器からの内容物の吐出回数を増やすことができ、洗浄効果やマッサージ効果を高めることができる。
【0008】
(2)前記ピストンは、前方を向く第1受圧部と、後方を向き、前記第1受圧部よりも受圧面積が小さい第2受圧部と、を備えてもよい。
【0009】
この場合には、ピストンの前方側に加わる圧力の受圧面積と、ピストンの後方側に加わる圧力の受圧面積との差によって、ピストンを後方移動させることができる。
【0010】
(3)前記ステムの下部に設けられた下部ピストンと、前記ステムにおける、前記下部ピストンより上方に設けられた上部ピストンと、前記下部ピストンを上下摺動自在に収容する下部シリンダと、前記下部シリンダの上方に連設され、かつ内部が前記下部シリンダの内部と上下に連通すると共に前記下部シリンダより内径が小さく、前記上部ピストンを上下摺動自在に収容する上部シリンダと、前記ステムが下方に移動する際に、前記下部シリンダの内部における前記下部ピストンより下方の空間と上方の空間との連通を許容し、かつ、前記ステムが上方に移動する際に、前記下部シリンダの内部における前記下部ピストンより下方の空間と上方の空間との連通を遮断する弁部と、を備えてもよい。
(【0011】以降は省略されています)
この特許をJ-PlatPat(特許庁公式サイト)で参照する
関連特許
株式会社吉野工業所
吐出器
4日前
株式会社吉野工業所
中蓋付きキャップ
2日前
株式会社吉野工業所
ヒンジキャップ
16日前
ベック株式会社
被膜形成方法
3か月前
ベック株式会社
被膜形成方法
3か月前
スズカファイン株式会社
多色性塗膜
6日前
アイカ工業株式会社
塗料仕上げ工法
17日前
ベック株式会社
装飾被膜の形成方法
2か月前
株式会社吉野工業所
キャップ
2か月前
トヨタ自動車株式会社
塗布装置
4日前
株式会社カネカ
塗布装置
6日前
日本ライナー株式会社
塗装装置
18日前
プルガティオ株式会社
噴霧装置
3か月前
個人
スプレー缶高所対応携帯ホルダー
17日前
プルガティオ株式会社
噴霧装置
3か月前
プルガティオ株式会社
噴霧装置
3か月前
能美防災株式会社
水噴霧ヘッド
2日前
ヒット工業株式会社
マスキング具
1か月前
株式会社吉野工業所
ポンプ式吐出器
3か月前
中外炉工業株式会社
塗工装置
2か月前
株式会社吉野工業所
吐出器
3か月前
旭サナック株式会社
粉体塗装装置
27日前
株式会社吉野工業所
吐出器
2か月前
株式会社トーモク
印刷装置および印刷方法
17日前
個人
散水形態を変更可能な吐水装置
3日前
トリニティ工業株式会社
回転霧化式塗装機
2日前
積水ハウス株式会社
接着剤塗布装置
2か月前
三菱鉛筆株式会社
多液混合型塗布具
2か月前
株式会社大関
塗装用ローラとその製造方法
3か月前
AWJ株式会社
ステンシルプレートセット
1か月前
Mipox株式会社
塗装物の製造方法
1か月前
株式会社吉野工業所
ノズル部材
2か月前
ヤマホ工業株式会社
液体散布杆
4か月前
リンテック株式会社
機能性層の製造方法
4か月前
株式会社吉野工業所
吐出器
1か月前
株式会社吉野工業所
吐出器
1か月前
続きを見る
他の特許を見る