TOP
|
特許
|
意匠
|
商標
特許ウォッチ
Twitter
他の特許を見る
公開番号
2025103646
公報種別
公開特許公報(A)
公開日
2025-07-09
出願番号
2023221183
出願日
2023-12-27
発明の名称
吐出器
出願人
株式会社吉野工業所
代理人
個人
,
個人
,
個人
主分類
B05B
11/10 20230101AFI20250702BHJP(霧化または噴霧一般;液体または他の流動性材料の表面への適用一般)
要約
【課題】衝撃がノズルに作用した場合でも、ノズルチップの嵌合が外れにくい吐出器を提供する。
【解決手段】吐出器2はシリンダ5a1とピストン11とノズル9を有し昇降動作する保持部材7と液体4を吐出口10bへ送る内部流路10とを有し、ノズル9はノズルチップ9aとチップ保持部材9bとノズル基筒部9cとを有し、ノズルチップ9aはチップ筒9a1とチップ先端壁9a2とを有し、チップ保持部材9bは保持筒9b1と連結部9b2を介して保持筒9b1に一体に形成される柱状体9b3とを有し、保持筒9b1は保持筒先端部9b4と外筒部9b5とを有し、柱状体9b3はチップ筒9a1の内周面に接触する外周面を有し、内部流路10は基筒流路10cと連通流路10dとチップ筒流路10eとチップ先端壁流路10fと吐出口10bとを上流側から下流側へこの順に有し、ノズル9は環状凸部9d1及び環状凹部9d2からなるシール嵌合部9dを有する。
【選択図】図2
特許請求の範囲
【請求項1】
シリンダと、
前記シリンダ上を摺動するピストンと、
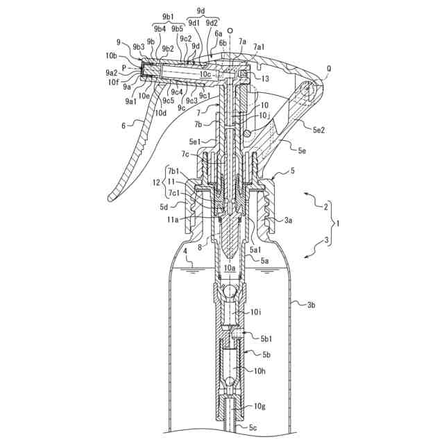
ノズルを有し外部からの吐出操作によって前記ピストンを伴って前記シリンダに対する昇降動作をする保持部材と、
前記シリンダ及び前記ピストンによって区画されるポンプ室を介して液体を前記保持部材の前記昇降動作に応じて前記ノズルの吐出口へ送り吐出させる内部流路とを有し、
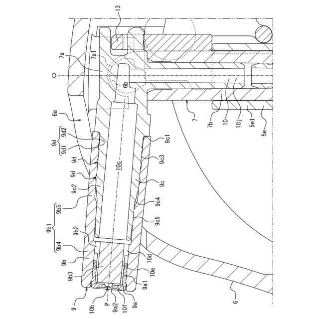
前記ノズルは、ノズルチップと、前記ノズルチップが装着されるチップ保持部材と、前記チップ保持部材が装着されるノズル基筒部とを有し、
前記ノズルチップは、チップ筒と、前記チップ筒の先端から径方向内側へ延び前記吐出口を有するチップ先端壁とを有し、
前記チップ保持部材は、ノズル軸方向に延びる保持筒と、前記保持筒の前記径方向内側に設けられ連結部を介して前記保持筒に一体に形成される柱状体とを有し、
前記保持筒は、前記チップ筒の外周面に嵌合する内周面を有し前記連結部からノズル先端側に延びる保持筒先端部と、前記連結部からノズル基端側に延び、前記ノズル基筒部の外周面と嵌合する外筒部とを有し、
前記柱状体は、前記チップ筒の内周面に接触する外周面を有し、
前記内部流路は、前記ノズル基筒部の内周面が区画する基筒流路と、前記ノズル基筒部の先端から前記連結部を前記ノズル軸方向に通過して前記チップ筒の基端まで伸びる連通流路と、前記チップ筒の前記内周面と前記柱状体の前記外周面とが区画するチップ筒流路と、前記チップ先端壁の内面と前記柱状体の先端面とが区画するチップ先端壁流路と、前記吐出口とを上流側から下流側へ向けてこの順に有し、
前記ノズルは、互いに嵌合することで前記外筒部と前記ノズル基筒部とを全周に亘って密接させる環状凸部及び環状凹部からなるシール嵌合部を有する、吐出器。
続きを表示(約 610 文字)
【請求項2】
前記ノズル基筒部は、前記外筒部の基端面と対向する環状段差面と、前記環状段差面から前記ノズル先端側へ延びる内筒部とを有し、
前記内筒部は、前記環状段差面から前記ノズル先端側へ延び前記外筒部の内周面に前記シール嵌合部を介して嵌合する基端側嵌合面と、前記基端側嵌合面の先端から前記ノズル先端側へ縮径しながら延びる縮径面と、前記縮径面の先端から前記ノズル先端側へ延び前記外筒部の前記内周面に嵌合する先端側嵌合面とを有する、請求項1に記載の吐出器。
【請求項3】
前記ノズルは、前記内筒部の前記基端側嵌合面に設けられ前記ノズル軸方向に並ぶ複数の前記シール嵌合部を有する、請求項1に記載の吐出器。
【請求項4】
前記柱状体の基端面及び前記連結部の基端面は、前記ノズル基筒部の前記先端よりも前記ノズル先端側に位置する、請求項1に記載の吐出器。
【請求項5】
請求項1に記載の吐出器と、
口部を有し液体を収容する容器本体とを有し、
前記吐出器は、前記シリンダを有し前記口部に装着されるベース部材と、
前記ベース部材に揺動可能に支持されるトリガーとを有し、
前記保持部材は、前記トリガーへの前記吐出操作によって前記ベース部材に対して前記昇降動作をすることで前記容器本体内の前記液体を前記吐出口へ送り吐出する、吐出容器。
発明の詳細な説明
【技術分野】
【0001】
本発明は吐出器に関する。
続きを表示(約 1,900 文字)
【背景技術】
【0002】
シリンダと、シリンダ上を摺動するピストンと、ノズルを有し外部からの吐出操作によってピストンを伴ってシリンダに対する昇降動作をする保持部材と、シリンダ及びピストンによって区画されるポンプ室を介して液体を保持部材の昇降動作に応じてノズルの吐出口へ送り吐出させる内部流路とを有し、ノズルは、ノズルチップと、ノズルチップが装着されるノズル基筒部と、ノズル基筒部内に挿入される芯棒体とを有し、ノズルチップは、チップ筒と、チップ筒の先端から径方向内側へ延び吐出口を有するチップ先端壁とを有し、内部流路は、ノズル基筒部の内周面と芯棒体の外周面とが区画する流路と、チップ筒の内周面と芯棒体の外周面とが区画するチップ筒流路と、チップ先端壁の内面と芯棒体の先端面とが区画するチップ先端壁流路と、吐出口とを上流側から下流側へ向けてこの順に有する、吐出器が知られている(例えば特許文献1参照)。
【先行技術文献】
【特許文献】
【0003】
特開2019-98241号公報
【発明の概要】
【発明が解決しようとする課題】
【0004】
上記のような吐出器は、落下などによって衝撃がノズルに作用した場合でも、嵌合が外れてノズルチップがノズル基筒部から突き出したり脱落したりしにくいことが好ましい。
【0005】
そこで本発明の目的は、衝撃がノズルに作用した場合でも、ノズルチップの嵌合が外れにくい吐出器を提供することにある。
【課題を解決するための手段】
【0006】
本発明の一態様は以下のとおりである。
【0007】
[1]
シリンダと、
前記シリンダ上を摺動するピストンと、
ノズルを有し外部からの吐出操作によって前記ピストンを伴って前記シリンダに対する昇降動作をする保持部材と、
前記シリンダ及び前記ピストンによって区画されるポンプ室を介して液体を前記保持部材の前記昇降動作に応じて前記ノズルの吐出口へ送り吐出させる内部流路とを有し、
前記ノズルは、ノズルチップと、前記ノズルチップが装着されるチップ保持部材と、前記チップ保持部材が装着されるノズル基筒部とを有し、
前記ノズルチップは、チップ筒と、前記チップ筒の先端から径方向内側へ延び前記吐出口を有するチップ先端壁とを有し、
前記チップ保持部材は、ノズル軸方向に延びる保持筒と、前記保持筒の前記径方向内側に設けられ連結部を介して前記保持筒に一体に形成される柱状体とを有し、
前記保持筒は、前記チップ筒の外周面に嵌合する内周面を有し前記連結部からノズル先端側に延びる保持筒先端部と、前記連結部からノズル基端側に延び、前記ノズル基筒部の外周面と嵌合する外筒部とを有し、
前記柱状体は、前記チップ筒の内周面に接触する外周面を有し、
前記内部流路は、前記ノズル基筒部の内周面が区画する基筒流路と、前記ノズル基筒部の先端から前記連結部を前記ノズル軸方向に通過して前記チップ筒の基端まで伸びる連通流路と、前記チップ筒の前記内周面と前記柱状体の前記外周面とが区画するチップ筒流路と、前記チップ先端壁の内面と前記柱状体の先端面とが区画するチップ先端壁流路と、前記吐出口とを上流側から下流側へ向けてこの順に有し、
前記ノズルは、互いに嵌合することで前記外筒部と前記ノズル基筒部とを全周に亘って密接させる環状凸部及び環状凹部からなるシール嵌合部を有する、吐出器。
【0008】
[2]
前記ノズル基筒部は、前記外筒部の基端面と対向する環状段差面と、前記環状段差面から前記ノズル先端側へ延びる内筒部とを有し、
前記内筒部は、前記環状段差面から前記ノズル先端側へ延び前記外筒部の内周面に前記シール嵌合部を介して嵌合する基端側嵌合面と、前記基端側嵌合面の先端から前記ノズル先端側へ縮径しながら延びる縮径面と、前記縮径面の先端から前記ノズル先端側へ延び前記外筒部の前記内周面に嵌合する先端側嵌合面とを有する、[1]に記載の吐出器。
【0009】
[3]
前記ノズルは、前記内筒部の前記基端側嵌合面に設けられ前記ノズル軸方向に並ぶ複数の前記シール嵌合部を有する、[1]又は[2]に記載の吐出器。
【0010】
[4]
前記柱状体の基端面及び前記連結部の基端面は、前記ノズル基筒部の前記先端よりも前記ノズル先端側に位置する、[1]~[3]の何れか1項に記載の吐出器。
(【0011】以降は省略されています)
この特許をJ-PlatPat(特許庁公式サイト)で参照する
関連特許
ベック株式会社
被膜形成方法
4か月前
ベック株式会社
被膜形成方法
4か月前
ベック株式会社
被膜形成方法
7日前
アイカ工業株式会社
塗料仕上げ工法
26日前
株式会社吉野工業所
キャップ
3か月前
スズカファイン株式会社
多色性塗膜
15日前
ベック株式会社
装飾被膜の形成方法
2か月前
トヨタ自動車株式会社
塗布装置
13日前
個人
スプレー缶高所対応携帯ホルダー
26日前
株式会社カネカ
塗布装置
15日前
プルガティオ株式会社
噴霧装置
3か月前
プルガティオ株式会社
噴霧装置
3か月前
プルガティオ株式会社
噴霧装置
3か月前
能美防災株式会社
水噴霧ヘッド
11日前
日本ライナー株式会社
塗装装置
27日前
ヒット工業株式会社
マスキング具
2か月前
中外炉工業株式会社
塗工装置
2か月前
株式会社吉野工業所
ポンプ式吐出器
3か月前
東レエンジニアリング株式会社
粉体吐出装置
5日前
東レエンジニアリング株式会社
スリットダイ
7日前
ブラザー工業株式会社
塗工装置
4日前
ブラザー工業株式会社
塗工装置
4日前
ブラザー工業株式会社
塗工装置
4日前
株式会社吉野工業所
吐出器
3か月前
旭サナック株式会社
粉体塗装装置
1か月前
株式会社吉野工業所
吐出器
3か月前
個人
散水形態を変更可能な吐水装置
12日前
ブラザー工業株式会社
静電塗工装置
4日前
トリニティ工業株式会社
回転霧化式塗装機
11日前
三菱鉛筆株式会社
多液混合型塗布具
2か月前
株式会社大関
塗装用ローラとその製造方法
3か月前
積水ハウス株式会社
接着剤塗布装置
2か月前
株式会社トーモク
印刷装置および印刷方法
26日前
AWJ株式会社
ステンシルプレートセット
2か月前
株式会社吉野工業所
ノズル部材
3か月前
Mipox株式会社
塗装物の製造方法
1か月前
続きを見る
他の特許を見る