TOP
|
特許
|
意匠
|
商標
特許ウォッチ
Twitter
他の特許を見る
公開番号
2025146055
公報種別
公開特許公報(A)
公開日
2025-10-03
出願番号
2024046639
出願日
2024-03-22
発明の名称
回転霧化式塗装機
出願人
トリニティ工業株式会社
代理人
個人
主分類
B05B
5/04 20060101AFI20250926BHJP(霧化または噴霧一般;液体または他の流動性材料の表面への適用一般)
要約
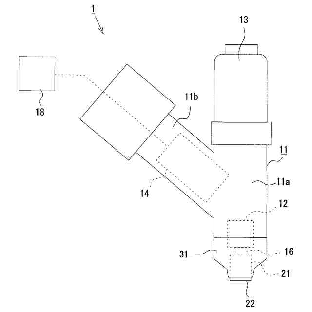
【課題】回転霧化頭の回転数やエア流量を増やすことなく、高い塗着性能を維持しかつ塗装品質を確保できる回転霧化式塗装機の提供。
【解決手段】この回転霧化式塗装機1のカバー体31において、エア供給路51の終端位置には、回転霧化頭22の回転方向D1と反対方向D2にシェーピングエアを案内する多数の傾斜状エア案内部44が形成される。傾斜状エア案内部44よりも前方側でカバー体31と円柱状部材21との間の位置には、傾斜状エア案内部44を介してエア供給路51に連通する整流空間52が形成される。カバー体31の先端開口31aと円柱状部材21の外周面21aとの間には、整流空間52に連通する円環状のエア噴出スリット53が形成される。エア噴出スリット53は、カーテン状のシェーピングエアSA1をカバー体31の外部に吐出する。
【選択図】図2
特許請求の範囲
【請求項1】
塗装機本体と、
塗料を噴出する回転霧化頭を先端に有し、前記塗装機本体内に設けられた駆動部により回転駆動される円柱状部材と、
前記円柱状部材が挿入可能であって前記円柱状部材の外周面に対して近接配置される先端開口を有し、前記円柱状部材を外周側から取り囲むカバー体と
を備える回転霧化式塗装機であって、
前記カバー体の基端側から前記先端開口の近傍へシェーピングエアを供給するエア供給路が前記カバー体に形成され、
前記エア供給路の終端位置において前記円柱状部材の周方向全体にわたるように、前記回転霧化頭の回転方向と反対方向に前記シェーピングエアを案内する多数の傾斜状エア案内部が前記カバー体に形成され、
前記傾斜状エア案内部よりも前方側であって前記カバー体と前記円柱状部材との間の位置に、前記傾斜状エア案内部を介して前記エア供給路に連通する整流空間が形成され、
前記カバー体の前記先端開口と前記円柱状部材の外周面との間に位置して前記整流空間に連通し、カーテン状のシェーピングエアを前記カバー体の外部に吐出する円環状のエア噴出スリットが形成されている
ことを特徴とする回転霧化塗装機。
続きを表示(約 450 文字)
【請求項2】
前記カバー体は、外側カバーと内側カバーとを含んで構成されるとともに、前記エア供給路及び前記傾斜状エア案内部は、前記外側カバーと前記内側カバーとの界面に形成されていることを特徴とする請求項1に記載の回転霧化塗装機。
【請求項3】
前記内側カバーは、円筒状の本体と、前記本体の先端部に形成されたテーパ部とを備えるとともに、前記傾斜状エア案内部は、前記テーパ部の外周面の全周にわたって形成された傾斜溝であることを特徴とする請求項2に記載の回転霧化塗装機。
【請求項4】
前記内側カバーは、前記本体の基端部にフランジ部を備えるとともに、前記フランジ部は、前記外側カバーの内周側に設けられた支持段部に対して支持された状態で接合されていることを特徴とする請求項3に記載の回転霧化塗装機。
【請求項5】
前記フランジ部における複数の箇所には、前記エア供給路の一部を構成する溝部が放射状に形成されていることを特徴とする請求項4に記載の回転霧化塗装機。
発明の詳細な説明
【技術分野】
【0001】
本発明は、回転霧化式塗装機に関するものである。
続きを表示(約 2,100 文字)
【背景技術】
【0002】
自動車ボディや自動車部品の塗装においては、厳しい塗装品質が要求されるため、均一で高品質の塗装を行うことができる回転霧化式塗装機が用いられている。この種の塗装機は、回転霧化頭を備えており、その回転霧化頭を回転させることで生じる遠心力によって塗料を霧化して噴霧するように構成されている。
【0003】
回転霧化式塗装機の従来技術として、例えば、回転霧化頭の外縁部内面に多数の溝部を形成することでそこから塗料を糸状に放出し、塗料粒子の微粒化を図るようにしたものが提案されている(例えば、特許文献1を参照)。ところで、塗料粒子の粒径は塗膜の品質に直結しており、小径の塗料粒子を使用することで塗膜が滑らかに仕上がることが知られている。特許文献1の従来技術は、高い塗着性能を有するが、回転霧化頭の回転数とエア流量とを抑えているため微粒化性能が不足する場合があり、塗膜の品質向上に依然として課題があった。
【0004】
回転霧化式塗装機に関する別の従来技術として、回転霧化頭の回転方向と反対方向から高圧エア(シェーピングエア)を塗料にぶつけて衝突力を増すことで、塗料粒子の微粒化促進を図ったものが提案されている(例えば、特許文献2を参照)。特許文献2の塗装機では、回転霧化頭を包囲するカバー部材に多数の傾斜溝を形成し、それらの傾斜溝を介してシェーピングエアを噴射し、塗料に作用させるように構成されている。
【先行技術文献】
【特許文献】
【0005】
特許第7028593号公報
特許第5973078号公報
【発明の概要】
【発明が解決しようとする課題】
【0006】
しかしながら、特許文献2の従来技術では、塗料は回転霧化頭の外縁部内面に設けた多数の溝を通過して糸状に噴射され、また、シェーピングエアも多数の傾斜溝を通過していわば多数の点から噴射されることになる。このように、多数の点からシェーピングエアの噴出を行うと、隣り合う点と点との隙間(即ち隣り合う線状のシェーピングエア間の隙間)から塗料粒子が抜け漏れてしまう。その結果、抜け漏れた塗料粒子が大径粒子になりやすく、このことが塗膜の品質悪化に繋がるという問題がある。
【0007】
ここで、シェーピングエア間の隙間からの塗料粒子の抜け漏れを解消するためには、スリット状の開口部から隙間のないカーテン状のシェーピングエアを吐出させればよいと考えられる。ところが、この場合にはエアの圧力が不足し、パターンの制御性や微粒化性能に悪影響を与えることが予測される。また、エア流量を増やすとなると、塗着効率が悪くなる等の理由で経済性が低下する。
【0008】
本発明は上記の課題に鑑みてなされたものであり、その目的は、回転霧化頭の回転数やエア流量を増やすことなく、高い塗着性能を維持しかつ塗装品質を確保することができる回転霧化式塗装機を提供することにある。
【課題を解決するための手段】
【0009】
上記課題を解決するために、手段1に記載の発明は、塗装機本体と、塗料を噴出する回転霧化頭を先端に有し、前記塗装機本体内に設けられた駆動部により回転駆動される円柱状部材と、前記円柱状部材が挿入可能であって前記円柱状部材の外周面に対して近接配置される先端開口を有し、前記円柱状部材を外周側から取り囲むカバー体とを備える回転霧化式塗装機であって、前記カバー体の基端側から前記先端開口の近傍へシェーピングエアを供給するエア供給路が前記カバー体に形成され、前記エア供給路の終端位置において前記円柱状部材の周方向全体にわたるように、前記回転霧化頭の回転方向と反対方向に前記シェーピングエアを案内する多数の傾斜状エア案内部が前記カバー体に形成され、前記傾斜状エア案内部よりも前方側であって前記カバー体と前記円柱状部材との間の位置に、前記傾斜状エア案内部を介して前記エア供給路に連通する整流空間が形成され、前記カバー体の前記先端開口と前記円柱状部材の外周面との間に位置して前記整流空間に連通し、カーテン状のシェーピングエアを前記カバー体の外部に吐出する円環状のエア噴出スリットが形成されていることを特徴とする回転霧化塗装機をその要旨とする。
【0010】
従って、手段1に記載の発明によれば、シェーピングエアは、カバー体に形成された多数の傾斜状エア案内部によって、回転霧化頭の回転方向と反対方向に案内されることで、指向性を持った状態で整流空間内に流入する。さらシェーピングエアは、整流空間を通過する際にカーテン状の流れとなるように整流されるとともに、その直後にあるエア噴出スリットから指向性を保った状態で外部に噴出される。このような均一で隙間のないカーテン状のシェーピングエアは、回転霧化頭から放出される塗料粒子に対して、抜け漏れなく互いに対向する方向から衝突する。よって、塗料粒子が満遍なく微細に分断され、回転霧化頭の回転数やエア流量を増やさなくても、塗料粒子が効率よく確実に微粒化される。
(【0011】以降は省略されています)
この特許をJ-PlatPat(特許庁公式サイト)で参照する
関連特許
ベック株式会社
被膜形成方法
3か月前
ベック株式会社
被膜形成方法
3か月前
株式会社吉野工業所
キャップ
2か月前
アイカ工業株式会社
塗料仕上げ工法
18日前
ベック株式会社
装飾被膜の形成方法
2か月前
スズカファイン株式会社
多色性塗膜
7日前
プルガティオ株式会社
噴霧装置
3か月前
株式会社カネカ
塗布装置
7日前
能美防災株式会社
水噴霧ヘッド
3日前
プルガティオ株式会社
噴霧装置
3か月前
個人
スプレー缶高所対応携帯ホルダー
18日前
日本ライナー株式会社
塗装装置
19日前
プルガティオ株式会社
噴霧装置
3か月前
トヨタ自動車株式会社
塗布装置
5日前
ヒット工業株式会社
マスキング具
1か月前
中外炉工業株式会社
塗工装置
2か月前
株式会社吉野工業所
ポンプ式吐出器
3か月前
旭サナック株式会社
粉体塗装装置
28日前
株式会社吉野工業所
吐出器
3か月前
株式会社吉野工業所
吐出器
2か月前
株式会社大関
塗装用ローラとその製造方法
3か月前
AWJ株式会社
ステンシルプレートセット
1か月前
積水ハウス株式会社
接着剤塗布装置
2か月前
個人
散水形態を変更可能な吐水装置
4日前
株式会社トーモク
印刷装置および印刷方法
18日前
トリニティ工業株式会社
回転霧化式塗装機
3日前
三菱鉛筆株式会社
多液混合型塗布具
2か月前
Mipox株式会社
塗装物の製造方法
1か月前
株式会社吉野工業所
ノズル部材
2か月前
有限会社橋本漆芸
ガラス瓶の漆調塗装及び加飾
1か月前
株式会社吉野工業所
吐出器
1か月前
株式会社吉野工業所
吐出器
1か月前
株式会社吉野工業所
吐出器
1か月前
株式会社吉野工業所
吐出器
2か月前
株式会社吉野工業所
吐出器
2か月前
リンテック株式会社
機能性層の製造方法
4か月前
続きを見る
他の特許を見る