TOP
|
特許
|
意匠
|
商標
特許ウォッチ
Twitter
他の特許を見る
公開番号
2025119270
公報種別
公開特許公報(A)
公開日
2025-08-14
出願番号
2024014062
出願日
2024-02-01
発明の名称
下水道バイパス装置
出願人
三興建設株式会社
代理人
個人
主分類
E03F
3/02 20060101AFI20250806BHJP(上水;下水)
要約
【課題】下水道工事を行う際の、コンパクトで、運転コストや導入コストを低減することの可能な下水道バイパス装置を提供する。
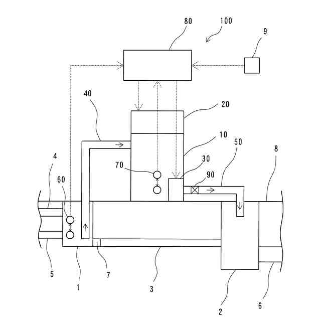
【解決手段】下水道バイパス装置100は、真空タンク10と、真空タンク10内に汚水を吸引する真空ポンプ20と、真空タンク20内の汚水を排出する排出ポンプ30と、第1の汚水桝1と真空タンク10とを接続する吸引管40と、真空タンク10と第2の汚水桝2とを接続する排出管50と、第1の汚水桝1の水位を検出する第1の水位検知手段60と、真空タンク10の水位を検出する第2の水位検知手段70と、制御手段80とを有する。制御手段80は、第1の水位検知手段60が所定の水位を検知すると真空ポンプ20を稼働させて第1の汚水桝1から真空タンク10に汚水を吸引し、第2の水位検知手段70が所定の水位を検知すると排出ポンプ30を稼働させて真空タンク10から第2の汚水桝2に汚水を排出する。
【選択図】図1
特許請求の範囲
【請求項1】
第1の汚水桝と第2の汚水桝との間の下水道管を迂回して、前記第1の汚水桝から前記第2の汚水桝への排水を行う下水道バイパス装置であって、
真空タンクと、前記真空タンク内に汚水を吸引する真空ポンプと、前記真空タンク内の汚水を排出する排出ポンプと、前記第1の汚水桝と前記真空タンクとを接続する吸引管と、前記真空タンクと前記第2の汚水桝とを接続する排出管と、前記第1の汚水桝の水位を検出する第1の水位検知手段と、前記真空タンクの水位を検出する第2の水位検知手段と、制御手段とを有し、
前記制御手段は、前記第1の水位検知手段が所定の水位を検知すると前記真空ポンプを稼働させて前記第1の汚水桝から前記吸引管を経由して前記真空タンクに汚水を吸引し、前記第2の水位検知手段が所定の水位を検知すると前記排出ポンプを稼働させて前記真空タンクから前記排出管を経由して前記第2の汚水桝に汚水を排出することを特徴とする下水道バイパス装置。
続きを表示(約 160 文字)
【請求項2】
前記第1の水位検知手段及び前記第2の水位検知手段の少なくとも1つが、フロート式センサであることを特徴とする請求項1に記載の下水道バイパス装置。
【請求項3】
前記第1の汚水桝が宅内桝であり、前記第2の汚水桝が公共桝であることを特徴とする請求項1又は請求項2に記載の下水道バイパス装置。
発明の詳細な説明
【技術分野】
【0001】
本発明は、下水道バイパス装置に関するものである。
続きを表示(約 1,600 文字)
【背景技術】
【0002】
従来、下水道管の補修や取り替えの工事を行うためには、工事期間中に各家庭から排出される汚水が工事対象区間の下水道管に流れ込まないように停止しなければならない。そのため、家庭のトイレ、風呂、台所等からの排水を貯める宅内桝から下水道本管へと仮排水を行う必要がある。
【0003】
例えば、特許文献1には、宅内桝3の汚水を真空ポンプで吸引して下水道管Xへと流すことにより、工事対象区間の下水道管を迂回するようにした下水の仮排水工法に関する発明が記載されている。そして、真空装置ユニット1と真空タンクユニット2とを別個に設けることにより、数多くの家庭の宅内桝からの仮排水を行い、下水道管の大規模な工事に対応できるようになっている。
【0004】
また、宅内桝3からの真空ポンプによる吸引を汚水の排出量に応じて行うために、宅内桝3には自動真空開閉弁装置4が設置されており、宅内桝3の汚水量によって真空弁が自動的に開閉するようになっている。同様に、特許文献2~4には、宅内桝に設置される様々な真空自動開閉装置に関する発明が記載されている。
【先行技術文献】
【特許文献】
【0005】
特開2014-009570号公報
特開2013-234423号公報
特開2013-234492号公報
特開2014-114589号公報
【発明の概要】
【発明が解決しようとする課題】
【0006】
しかしながら、特許文献1に記載された下水の仮排水工法は、数多くの家庭を対象にした下水道管の大規模な工事に対応することができるが、真空装置ユニットと真空タンクユニットとを別個に設けるため装置が大型化し、導入コストが増加してしまう。
【0007】
また、真空装置ユニットは常時稼働した状態にあり、宅内桝に設置された自動真空開閉弁装置の開閉によって汚水の吸引を制御するようになっているので、真空装置ユニットの運転コストや騒音の問題がある。また、宅内桝には自動真空開閉弁装置(特許文献2~4の真空自動開閉装置も同様)を設置しなければならず、導入コストが増加してしまう。
【0008】
本発明は、上記従来の課題を解決するものであり、下水道工事を行う際の、コンパクトで、運転コストや導入コストを低減することの可能な下水道バイパス装置を提供するものである。
【課題を解決するための手段】
【0009】
上記課題を解決するため、本発明の下水道バイパス装置は、第1の汚水桝と第2の汚水桝との間の下水道管を迂回して、前記第1の汚水桝から前記第2の汚水桝への排水を行う下水道バイパス装置であって、真空タンクと、前記真空タンク内に汚水を吸引する真空ポンプと、前記真空タンク内の汚水を排出する排出ポンプと、前記第1の汚水桝と前記真空タンクとを接続する吸引管と、前記真空タンクと前記第2の汚水桝とを接続する排出管と、前記第1の汚水桝の水位を検出する第1の水位検知手段と、前記真空タンクの水位を検出する第2の水位検知手段と、制御手段とを有し、前記制御手段は、前記第1の水位検知手段が所定の水位を検知すると前記真空ポンプを稼働させて前記第1の汚水桝から前記吸引管を経由して前記真空タンクに汚水を吸引し、前記第2の水位検知手段が所定の水位を検知すると前記排出ポンプを稼働させて前記真空タンクから前記排出管を経由して前記第2の汚水桝に汚水を排出することを特徴とする。
【0010】
また好ましくは、前記第1の水位検知手段及び前記第2の水位検知手段の少なくとも1つが、フロート式センサであることを特徴とする。
(【0011】以降は省略されています)
この特許をJ-PlatPat(特許庁公式サイト)で参照する
関連特許
三興建設株式会社
排泄物処理装置
4か月前
三興建設株式会社
下水道バイパス装置
1か月前
個人
蛇口
3か月前
個人
ドクター中まミズつクル
15日前
ヒロテツ工業株式会社
溝カバー
3か月前
株式会社タカギ
水栓装置
3か月前
株式会社KVK
水栓
1か月前
個人
夜露から水を創る用具と装置
4か月前
株式会社KVK
水栓
1か月前
株式会社KVK
水栓
1か月前
タイガースポリマー株式会社
側溝
24日前
TOTO株式会社
便座装置
24日前
TOTO株式会社
トイレ装置
24日前
株式会社LIXIL
吐水装置
4か月前
TOTO株式会社
トイレ装置
24日前
TOTO株式会社
トイレ装置
24日前
株式会社大林組
雨水桝蓋
3か月前
株式会社タカギ
水栓装置
2か月前
三興建設株式会社
排泄物処理装置
4か月前
センクシア株式会社
雨水貯留部材
4か月前
日興株式会社
凍結防止装置
4か月前
ホーコス株式会社
床置型グリース阻集器
24日前
株式会社 林物産発明研究所
土木構造体
3か月前
TOTO株式会社
洗面器及び洗面台
1か月前
TOTO株式会社
洗面器及び洗面台
1か月前
TOTO株式会社
浴室床
1か月前
有限会社彩孔技研
接続継手および工法
4か月前
三興建設株式会社
下水道バイパス装置
1か月前
TOTO株式会社
洗い場床
2か月前
丸一株式会社
排水装置及び封水形成部材
3か月前
TOTO株式会社
排水管継手
1か月前
TOTO株式会社
排水管継手
1か月前
TOTO株式会社
トイレ装置
2か月前
TOTO株式会社
トイレ装置
2か月前
株式会社LIXIL
便器装置
25日前
株式会社LIXIL
便器装置
3日前
続きを見る
他の特許を見る