TOP
|
特許
|
意匠
|
商標
特許ウォッチ
Twitter
他の特許を見る
公開番号
2025119388
公報種別
公開特許公報(A)
公開日
2025-08-14
出願番号
2024014263
出願日
2024-02-01
発明の名称
アタッチメント
出願人
タイガー産業株式会社
代理人
個人
,
個人
,
個人
主分類
B25B
21/00 20060101AFI20250806BHJP(手工具;可搬型動力工具;手工具用の柄;作業場設備;マニプレータ)
要約
【課題】回転工具を用いてナットを締め込む際に、回転工具側からみてナットよりも奥側にある座金の供回り防止を図ることができるアタッチメントを提供すること。
【解決手段】ナット63に嵌合するソケット64を回転させて、ボルト部材61の雄ねじ部61aにナット63を締め込む回転工具65に装着されるアタッチメント1であって、回転工具65を用いてナット63を締め込む際に、回転工具65側からみてナット63よりも奥側にあり、雄ねじ部61aに貫かれた状態で雄ねじ部61aに沿って移動可能な座金62に接触するように構成した。
【選択図】図1
特許請求の範囲
【請求項1】
ナットに嵌合するソケットを回転させて、ボルト部材の雄ねじ部にナットを締め込む回転工具に装着されるアタッチメントであって、
回転工具を用いてナットを締め込む際に、回転工具側からみてナットよりも奥側にあり、雄ねじ部に貫かれた状態で雄ねじ部に沿って移動可能な座金に接触するように構成したアタッチメント。
続きを表示(約 180 文字)
【請求項2】
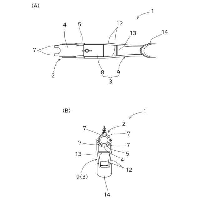
前記座金に接触する部位を爪部によって構成してある請求項1に記載のアタッチメント。
【請求項3】
前記爪部に一体化された部位に長さ調整機構を備える請求項2に記載のアタッチメント。
【請求項4】
前記回転工具における前記ソケット以外の箇所に係止する係止部を有する請求項1~3の何れか一項に記載のアタッチメント。
発明の詳細な説明
【技術分野】
【0001】
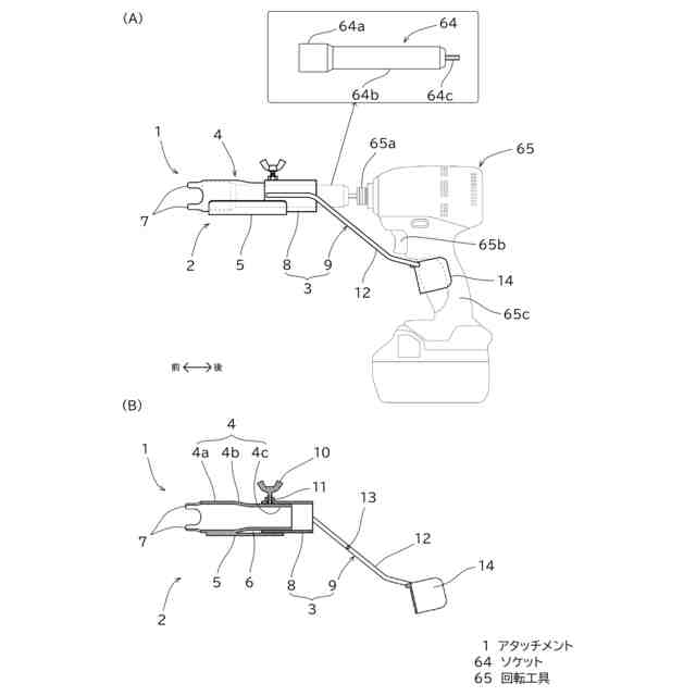
本発明は、例えば、ナットに嵌合するソケットを回転させて、ボルト部材の雄ねじ部にナットを締め込む回転工具に装着されるアタッチメントに関する。
続きを表示(約 2,000 文字)
【背景技術】
【0002】
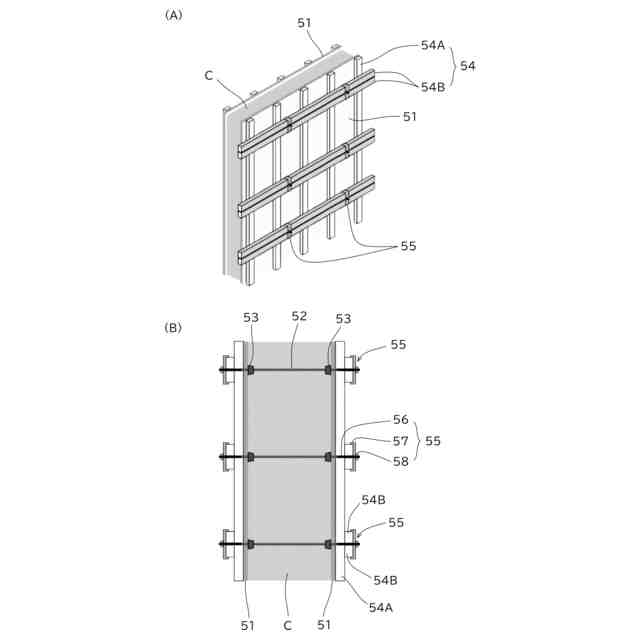
コンクリート打設に用いられる木製型枠は、図6(A)及び(B)に示すように、打設するコンクリートの形をつくるためのせき板(コンクリートパネル)51、せき板51どうしの間隔を保持するためのセパレータ52、セパレータ52の両端にねじ結合され、せき板51を内側から支えるコーン(Pコーン)53、せき板51の内側に流し込んだコンクリートCの側圧によって歪まないようにせき板51を外側から押さえるためのバタ材54(縦バタ54A及び横バタ54B)、コーン53に対してせき板51の外側からねじ結合され、横バタ54B(せき板51から遠い方のバタ材54)を締め付けるためのねじ式締付具55等で構成される。なお、縦バタ54A(せき板51に近い方のバタ材54)はせき板51に予め接着等の手段により固定してある。
【0003】
ところで、従来のねじ式締付具55として、コーン53にねじ結合されるボルト(ボルト部材の一例)56と、このボルト56に貫かれた状態でボルト56に沿って移動可能であり、横バタ54Bを保持(圧接)可能な形状を有する全体として縦長の座金(バタ材保持部材)57と、ボルト56に螺合するナット58とを備えたねじ式のフォームタイ(登録商標)を用いる場合、これで横バタ54Bを締め付けるには、片手で横バタ54Bと座金57を支持しながら、もう片方の手でナット58の締め込み作業を行わなければならず、締付け作業の簡便化を図りにくいという問題がある。
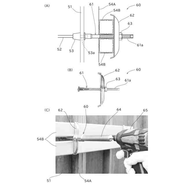
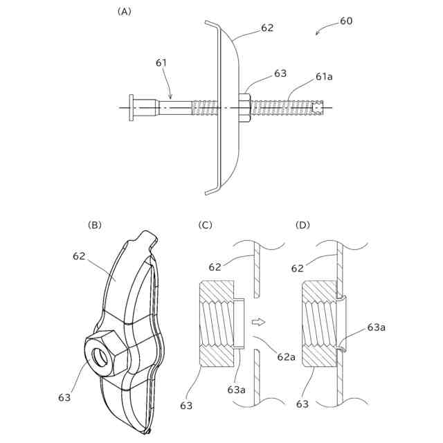
【0004】
そこで、本出願人は、図7(A)及び(B)、図8(B)に示すような改良型のねじ式締付具60を提案している(特許文献1参照)。すなわち、このねじ式締付具60は、ボルト(ボルト部材の一例)61と、このボルト61の雄ねじ部61aに貫かれた状態で雄ねじ部61aに沿って移動可能であり、横バタ54Bを保持(圧接)可能な形状を有する全体として縦長の座金(バタ材保持部材)62と、ボルト61の雄ねじ部61aに螺合するナット63とを備える。このねじ式締付具60では、図7(C)及び(D)に示すように、ナット63の底面から円筒形に延びる薄肉の筒形部63aを設け、座金62の中央に設けた通し穴62aに筒形部63aを通してかしめることにより、座金62に対してナット63を自由回転可能に連結している。
【0005】
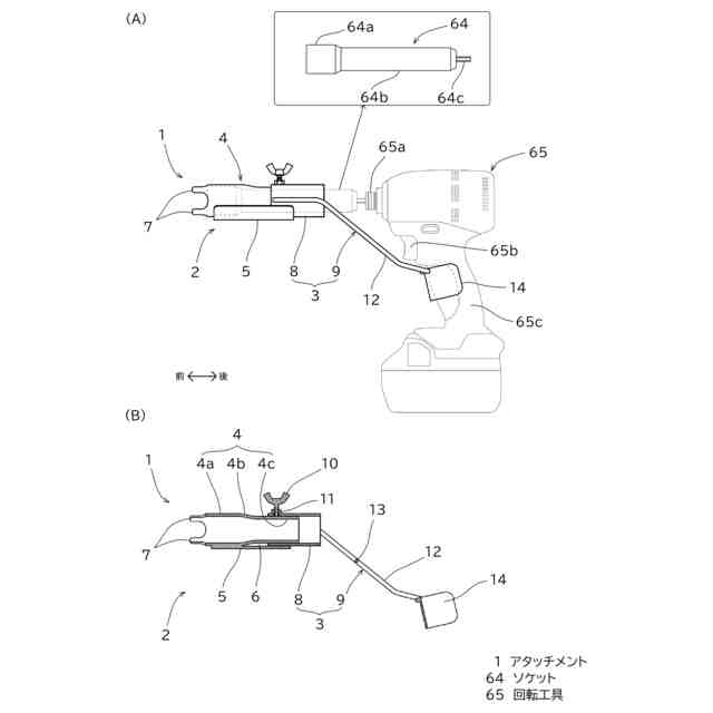
上記ねじ式締付具60を用いた横バタ54Bの締付けは、以下のようにして行える。まず、図8(A)に示すように、ボルト61先端に設けてある雌ねじ(図示していない)を、せき板51を貫いて延びるコーン53の雄ねじ53aに螺合させる。座金62及びナット63は、この螺合時にボルト61の雄ねじ部61aに装着してあってもよいし、螺合後に装着するようにしてもよい。次に、横バタ54Bを片手で支持しながら、もう片方の手でナット63をボルト61の雄ねじ部61aに締め込む方向に回転させてこのナット63を連結した座金62で横バタ54Bを締め付けていくのであり、この締付けは、図8(C)に示すように、ナット63に嵌合するソケット(ソケットビット)64が装着され、ソケット64を回転させてナット63を締め込むことのできる回転工具(インパクトドライバー等)65を用いることにより、簡便に行うことができる。
【先行技術文献】
【特許文献】
【0006】
特許第7335604号公報
【発明の概要】
【発明が解決しようとする課題】
【0007】
しかし、上記回転工具65を用いてナット63を締め込む際、ナット63は座金62に対して自由回転可能としてあるものの、座金62も供回りしてしまうことがあり、こうした供回りが生じると、ねじ式締付具60を用いた横バタ54Bの締付け作業の効率低下を招来する懸念がある。
【0008】
本発明は上述の事柄に留意してなされたもので、その目的は、回転工具を用いてナットを締め込む際に、回転工具側からみてナットよりも奥側にある座金の供回り防止を図ることができるアタッチメントを提供することにある。
【課題を解決するための手段】
【0009】
上記目的を達成するために、本発明に係るアタッチメントは、ナットに嵌合するソケットを回転させて、ボルト部材の雄ねじ部にナットを締め込む回転工具に装着されるアタッチメントであって、回転工具を用いてナットを締め込む際に、回転工具側からみてナットよりも奥側にあり、雄ねじ部に貫かれた状態で雄ねじ部に沿って移動可能な座金に接触するように構成した(請求項1)。
【0010】
上記アタッチメントにおいて、前記座金に接触する部位を爪部によって構成してあってもよい(請求項2)。
(【0011】以降は省略されています)
この特許をJ-PlatPat(特許庁公式サイト)で参照する
関連特許
個人
固定補助具
1か月前
個人
折りたたみ工具
23日前
川崎重工業株式会社
ロボット
今日
株式会社三協システム
製函機
21日前
株式会社三協システム
移載装置
20日前
CKD株式会社
把持装置
22日前
株式会社不二越
ロボット操作装置
28日前
株式会社不二越
ロボットシステム
1か月前
SMC株式会社
着脱装置
21日前
株式会社ミクロブ
把持装置
22日前
太陽パーツ株式会社
アシストスーツ
23日前
日本精工株式会社
締結用工具
1か月前
ARMA株式会社
ジョイントフレーム
1か月前
株式会社不二越
移動ロボットシステム
2日前
トヨタ自動車株式会社
カプラ接続治具
1か月前
株式会社不二越
ロボットシステム
23日前
株式会社不二越
エッジ仕上げ装置
12日前
本田技研工業株式会社
装置
5日前
株式会社不二越
ロボットシステム
20日前
株式会社不二越
垂直多関節ロボット
13日前
積水ハウス株式会社
フィルム除去具
1か月前
トヨタ自動車株式会社
歩行ロボット
26日前
株式会社不二越
協働ロボットシステム
2か月前
ダイハツ工業株式会社
移載治具
1か月前
大和ハウス工業株式会社
ねじ回転工具
21日前
ライオン株式会社
移載システム
14日前
シンフォニアテクノロジー株式会社
搬送装置
2日前
株式会社清水製作所
電動工具の吊下げ具
2か月前
株式会社不二越
ロボットシステム
1か月前
シヤチハタ株式会社
マーキング装置
26日前
セイコーエプソン株式会社
ロボット
21日前
セイコーエプソン株式会社
ロボット
1か月前
コネクテッドロボティクス株式会社
保持システム
1か月前
シヤチハタ株式会社
マーキング装置
26日前
セイコーエプソン株式会社
ロボット
1か月前
セイコーエプソン株式会社
ロボット
1か月前
続きを見る
他の特許を見る