TOP
|
特許
|
意匠
|
商標
特許ウォッチ
Twitter
他の特許を見る
公開番号
2025120689
公報種別
公開特許公報(A)
公開日
2025-08-18
出願番号
2024015679
出願日
2024-02-05
発明の名称
カプラ接続治具
出願人
トヨタ自動車株式会社
代理人
個人
主分類
B25B
27/02 20060101AFI20250808BHJP(手工具;可搬型動力工具;手工具用の柄;作業場設備;マニプレータ)
要約
【課題】メスカプラをオスカプラに接続する際の作業性を向上するカプラ接続治具を提供することを目的とする。
【解決手段】カプラ接続治具は、オスカプラと接続されるメスカプラの端部の外周に設けられたロック機構を押し下げて、前記端部を前記メスカプラのアンロック状態で保持する保持板と、第1弾性体を備え、前記ロック機構に内蔵された第2弾性体の復元力に基づく前記保持板の跳ね上がりを、前記第1弾性体の付勢力に基づいて規制する規制部材と、レバーを備え、前記規制部材による前記跳ね上がりの規制を、前記レバーに対する操作に基づいて解除する解除機構と、を有する。
【選択図】図3
特許請求の範囲
【請求項1】
オスカプラと接続されるメスカプラの端部の外周に設けられたロック機構を押し下げて、前記端部を前記メスカプラのアンロック状態で保持する保持板と、
第1弾性体を備え、前記ロック機構に内蔵された第2弾性体の復元力に基づく前記保持板の跳ね上がりを、前記第1弾性体の付勢力に基づいて規制する規制部材と、
レバーを備え、前記規制部材による前記跳ね上がりの規制を、前記レバーに対する操作に基づいて解除する解除機構と、
を有するカプラ接続治具。
発明の詳細な説明
【技術分野】
【0001】
本発明はカプラ接続治具に関する。
続きを表示(約 1,300 文字)
【背景技術】
【0002】
2本の配管の着脱を自在に接続する場合、カプラと称する継手が使用される。カプラは、一方の配管の一端に接続されるプラグと、他方の配管の一端に接続されるソケットとを含んでいる。ソケットの外周には、コイルバネによって付勢されたスリーブが摺動可能に装着される。
【0003】
カプラの接続を解除する場合、スリーブを手で握り、スリーブをプラグとソケットの接続部から離れる方向に移動させる。これにより、ソケットがプラグから抜き出される。なお、カプラは高温流体の輸送配管の接続に使用される場合がある。この場合、カプラが高温度に加熱される。このような高温度に加熱されたカプラを手で握らなくても、簡単に接続が解除できるカプラ取り外し治具が知られている(例えば特許文献1参照)。
【先行技術文献】
【特許文献】
【0004】
特開平11-006593号公報
【発明の概要】
【発明が解決しようとする課題】
【0005】
ところで、上述したプラグ(以下、オスカプラという)は、配管以外にも、例えばエンジンのオイルパンに接続されることがある。オイルパンはエンジンの底に設けられるため、例えばエンジンがベンチに載置された状態で、オスカプラにソケット(以下、メスカプラという)を接続する場合、接続作業の作業性が低下する可能性がある。
【0006】
具体的には、接続作業の作業者は片手でスリーブを下方に移動させたままでオスカプラの位置まで腕を伸ばし、その状態でメスカプラをオスカプラに持ち上げてメスカプラをオスカプラに接続する。このような接続作業は作業者の作業姿勢や作業場所によっては作業者にとって力が入りづらいことがある。このように、メスカプラをオスカプラに接続する際には、接続作業の作業性が低下するおそれがある。
【0007】
そこで、本発明では、メスカプラをオスカプラに接続する際の作業性を向上するカプラ接続治具を提供することを目的とする。
【課題を解決するための手段】
【0008】
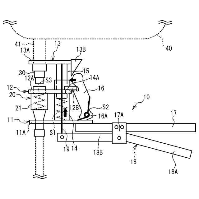
本発明に係るカプラ接続治具は、オスカプラと接続されるメスカプラの端部の外周に設けられたロック機構を押し下げて、前記端部を前記メスカプラのアンロック状態で保持する保持板と、第1弾性体を備え、前記ロック機構に内蔵された第2弾性体の復元力に基づく前記保持板の跳ね上がりを、前記第1弾性体の付勢力に基づいて規制する規制部材と、レバーを備え、前記規制部材による前記跳ね上がりの規制を、前記レバーに対する操作に基づいて解除する解除機構と、を有する。
【発明の効果】
【0009】
本発明によれば、メスカプラをオスカプラに接続する際の作業性を向上することができる。
【図面の簡単な説明】
【0010】
カプラ接続治具の正面図の一例である。
メスカプラの斜視図の一例である。
カプラ接続治具の正面図の他の一例である。
【発明を実施するための形態】
(【0011】以降は省略されています)
この特許をJ-PlatPat(特許庁公式サイト)で参照する
関連特許
トヨタ自動車株式会社
電池
3日前
トヨタ自動車株式会社
車両
2日前
トヨタ自動車株式会社
車両
1日前
トヨタ自動車株式会社
加熱器
1日前
トヨタ自動車株式会社
固定子
2日前
トヨタ自動車株式会社
ケース
3日前
トヨタ自動車株式会社
車両構造
1日前
トヨタ自動車株式会社
バッテリ
2日前
トヨタ自動車株式会社
バッテリ
2日前
トヨタ自動車株式会社
塗工装置
2日前
トヨタ自動車株式会社
路側装置
3日前
トヨタ自動車株式会社
二次電池
2日前
トヨタ自動車株式会社
製造装置
2日前
トヨタ自動車株式会社
監視装置
2日前
トヨタ自動車株式会社
蓄電装置
3日前
トヨタ自動車株式会社
蓄電装置
1日前
トヨタ自動車株式会社
制御装置
3日前
トヨタ自動車株式会社
通話装置
1日前
トヨタ自動車株式会社
制御装置
1日前
トヨタ自動車株式会社
車載装置
1日前
トヨタ自動車株式会社
三角表示板
1日前
トヨタ自動車株式会社
ガスタンク
1日前
トヨタ自動車株式会社
情報処理装置
2日前
トヨタ自動車株式会社
車両制御装置
2日前
トヨタ自動車株式会社
電池交換装置
3日前
トヨタ自動車株式会社
車載システム
1日前
トヨタ自動車株式会社
被膜形成装置
2日前
トヨタ自動車株式会社
情報処理装置
1日前
トヨタ自動車株式会社
情報処理装置
1日前
トヨタ自動車株式会社
車両前部構造
2日前
トヨタ自動車株式会社
車両前部構造
3日前
トヨタ自動車株式会社
車両前部構造
2日前
トヨタ自動車株式会社
電池システム
1日前
トヨタ自動車株式会社
制御システム
1日前
トヨタ自動車株式会社
情報処理装置
2日前
トヨタ自動車株式会社
人工筋肉装置
2日前
続きを見る
他の特許を見る