TOP
|
特許
|
意匠
|
商標
特許ウォッチ
Twitter
他の特許を見る
10個以上の画像は省略されています。
公開番号
2025121327
公報種別
公開特許公報(A)
公開日
2025-08-19
出願番号
2024016729
出願日
2024-02-06
発明の名称
敷設装置
出願人
ジヤトコ株式会社
代理人
弁理士法人紀尾井坂テーミス
主分類
B65H
23/08 20060101AFI20250812BHJP(運搬;包装;貯蔵;薄板状または線条材料の取扱い)
要約
【課題】ロール状に巻き回されたテープの弛みを低減する。
【解決手段】ロール状に巻き回されたテープを引き出しながら敷設する敷設装置であって、前記ロール状のテープと一体に回転するテープホルダと、前記テープホルダを回転可能に支持すると共に、前記テープの敷設方向に移動可能な台車と、前記台車に設けられると共に、前記テープホルダの回転に制動力を与えるブレーキ機構と、を備える。
【選択図】図2
特許請求の範囲
【請求項1】
ロール状に巻き回されたテープを引き出しながら敷設する敷設装置であって、
前記ロール状のテープと一体に回転するテープホルダと、
前記テープホルダを回転可能に支持すると共に、前記テープの敷設方向に移動可能な台車と、
前記台車に設けられると共に、前記テープホルダの回転に制動力を与えるブレーキ機構と、を備える、敷設装置。
続きを表示(約 540 文字)
【請求項2】
請求項1において、
前記テープホルダは、前記ロール状のテープに内嵌するシャフトと、前記シャフトの外周に設けられた円板部と、を有し、
前記ブレーキ機構は、前記円板部を挟持する一対のブレーキパッドと、前記一対のブレーキパッドを操作するブレーキレバーと、を有し、
前記一対のブレーキパッドの挟持力は、前記ブレーキレバーの操作量で調整可能である、敷設装置。
【請求項3】
請求項2において、
前記一対のブレーキパッドと前記ブレーキレバーは、ワイヤで接続されている、敷設装置。
【請求項4】
請求項2において、
前記テープは磁気テープであり、
前記円板部は、前記磁気テープと引き合う磁性を有する材料で構成されており、
前記ロール状の磁気テープは、前記円板部に、磁力によって前記シャフトの軸方向から当接している、敷設装置。
【請求項5】
請求項2から請求項4のいずれか一において、
前記テープは、筒状の芯材に巻き回されており、
前記シャフトは、前記芯材に内嵌しており、
前記芯材は、前記シャフトの軸方向に着脱可能に設けられている、敷設装置。
発明の詳細な説明
【技術分野】
【0001】
本発明は、敷設装置に関する。
続きを表示(約 1,600 文字)
【背景技術】
【0002】
特許文献1は、無人搬送車を誘導するための、磁気を帯びたテープを敷設する敷設装置を開示する。
【先行技術文献】
【特許文献】
【0003】
特許第7154359号公報
【発明の概要】
【発明が解決しようとする課題】
【0004】
特許文献1では、ロール状に巻き回されたテープを引き出しつつ、押圧ローラで敷設面に押圧することでテープを敷設している。
この場合において、ロール状に巻き回されたテープが弛むことがある。弛んだ状態のテープを押圧ローラで押圧すると、テープの敷設の品質に影響を及ぼすことがある。
【0005】
そこで、敷設装置において、ロール状に巻き回されたテープの弛みを低減することが求められている。
【課題を解決するための手段】
【0006】
本発明のある態様に係る敷設装置は、
ロール状に巻き回されたテープを引き出しながら敷設する敷設装置であって、
前記ロール状のテープと一体に回転するテープホルダと、
前記テープホルダを回転可能に支持すると共に、前記テープの敷設方向に移動可能な台車と、
前記台車に設けられると共に、前記テープホルダの回転に制動力を与えるブレーキ機構と、を備える。
【発明の効果】
【0007】
本発明のある態様によれば、敷設装置において、ロール状に巻き回されたテープの弛みを低減することができる。
【図面の簡単な説明】
【0008】
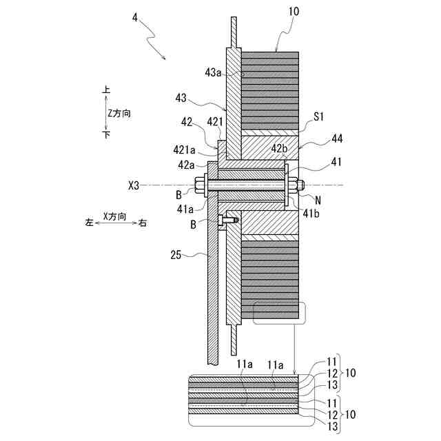
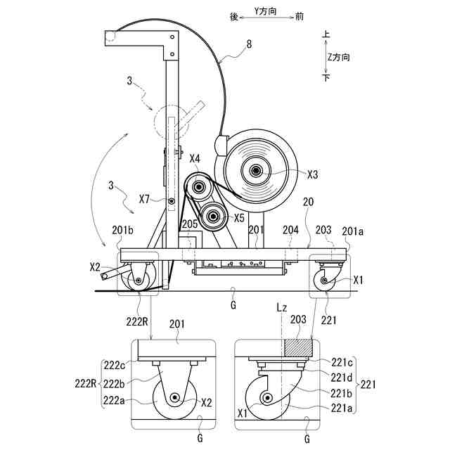
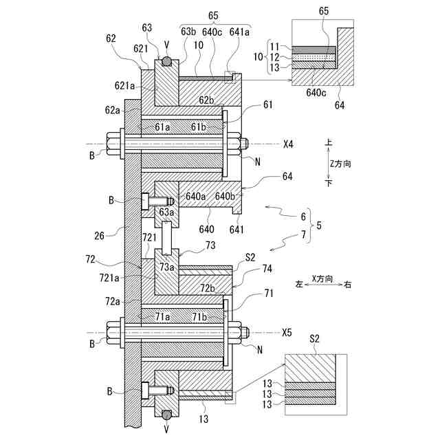
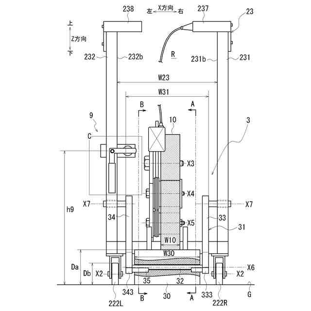
図1は、敷設装置を説明する図である。
図2は、敷設装置を説明する図である。
図3は、敷設装置を説明する図である。
図4は、敷設装置を説明する図である。
図5は、敷設装置を説明する図である。
図6は、敷設装置を説明する図である。
図7は、テープホルダを説明する図である。
図8は、搬送部を説明する図である。
図9は、ロック機構を説明する図である。
図10は、ロック機構を説明する図である。
図11は、磁気テープの引出しを説明する図である。
図12は、ブレーキ機構を説明する図である。
図13は、敷設装置の旋回を説明する図である。
図14は、比較例に係る敷設装置の旋回を説明する図である。
【発明を実施するための形態】
【0009】
始めに、本明細書における用語の定義を説明する。
「所定方向視においてオーバーラップする」とは、所定方向に複数の要素が並んでいることを意味し、「所定方向にオーバーラップする」と記載する場合と同義である。「所定方向」は、たとえば、軸方向、径方向、重力方向等である。
図面上において複数の要素(部品、部分等)が所定方向に並んでいることが図示されている場合は、明細書の説明において、所定方向視においてオーバーラップしていることを説明した文章があるとみなして良い。
【0010】
「所定方向視においてオーバーラップしていない」、「所定方向視においてオフセットしている」とは、所定方向に複数の要素が並んでいないことを意味し、「所定方向にオーバーラップしていない」、「所定方向にオフセットしている」と記載する場合と同義である。「所定方向」は、たとえば、軸方向、径方向、重力方向等である。
図面上において複数の要素(部品、部分等)が所定方向に並んでいないことが図示されている場合は、明細書の説明において、所定方向視においてオーバーラップしていないことを説明した文章があるとみなして良い。
(【0011】以降は省略されています)
この特許をJ-PlatPat(特許庁公式サイト)で参照する
関連特許
ジヤトコ株式会社
治具
16日前
ジヤトコ株式会社
クランプ治具
23日前
個人
ゴミ箱
12か月前
個人
収容箱
3か月前
個人
コンベア
4か月前
個人
段ボール箱
6か月前
個人
容器
9か月前
個人
ゴミ収集器
6か月前
個人
段ボール箱
6か月前
個人
パウチ補助具
12か月前
個人
宅配システム
6か月前
個人
楽ちんハンド
4か月前
個人
角筒状構造体
5か月前
個人
バンド
1か月前
個人
土嚢運搬器具
8か月前
個人
閉塞装置
9か月前
個人
包装容器
1か月前
個人
廃棄物収容容器
2か月前
個人
コード類収納具
8か月前
個人
お薬の締結装置
5か月前
個人
積み重ね用補助具
2か月前
個人
ゴミ処理機
8か月前
株式会社和気
包装用箱
8か月前
個人
蓋閉止構造
3か月前
株式会社バンダイ
物品
11日前
個人
把手付米袋
4か月前
株式会社コロナ
梱包材
5か月前
個人
蓋閉止構造
3か月前
個人
貯蔵サイロ
6か月前
株式会社新弘
容器
2か月前
個人
コード折り畳み器具
4か月前
個人
袋入り即席麺
7か月前
個人
輸送積荷用動吸振器
5か月前
三甲株式会社
容器
5か月前
三甲株式会社
蓋体
7か月前
個人
介護用コップ
2か月前
続きを見る
他の特許を見る