TOP
|
特許
|
意匠
|
商標
特許ウォッチ
Twitter
他の特許を見る
10個以上の画像は省略されています。
公開番号
2025145517
公報種別
公開特許公報(A)
公開日
2025-10-03
出願番号
2024045720
出願日
2024-03-21
発明の名称
治具
出願人
ジヤトコ株式会社
代理人
弁理士法人紀尾井坂テーミス
主分類
H05B
6/10 20060101AFI20250926BHJP(他に分類されない電気技術)
要約
【課題】誘導加熱による電機子の加熱を、より簡便に行う。
【解決手段】誘導コイルへの通電により被加熱体を誘導加熱する際に用いられる治具であって、前記治具は、前記誘導コイルの通電方向から見て、前記誘導コイルと前記被加熱体との間に配置されており、前記治具は、非磁化領域と、前記誘導コイルへの通電により発生した磁界によって磁化可能な磁化領域と、を有し、前記通電方向から見て、前記非磁化領域は、前記誘導コイルと前記被加熱体を通る直線上に配置されており、前記磁化領域は、前記磁界に沿う方向における前記非磁化領域の一方側と他方側に設けられている。
【選択図】図1
特許請求の範囲
【請求項1】
誘導コイルへの通電により被加熱体を誘導加熱する際に用いられる治具であって、
前記治具は、前記誘導コイルの通電方向から見て、前記誘導コイルと前記被加熱体との間に配置されており、
前記治具は、非磁化領域と、前記誘導コイルへの通電により発生した磁界によって磁化可能な磁化領域と、を有し、
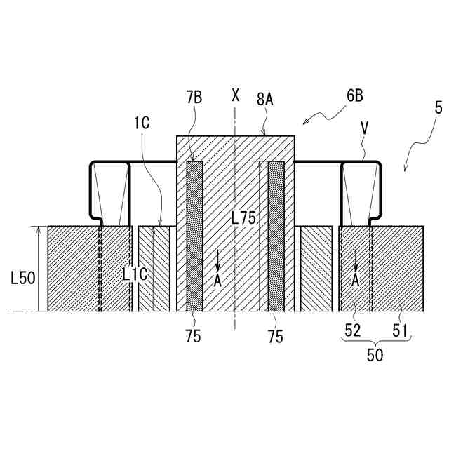
前記通電方向から見て、前記非磁化領域は、前記誘導コイルと前記被加熱体を通る直線上に配置されており、前記磁化領域は、前記磁界に沿う方向において、前記非磁化領域の一方側と他方側に設けられている、治具。
続きを表示(約 1,000 文字)
【請求項2】
請求項1において、
前記被加熱体は、電機子であり、
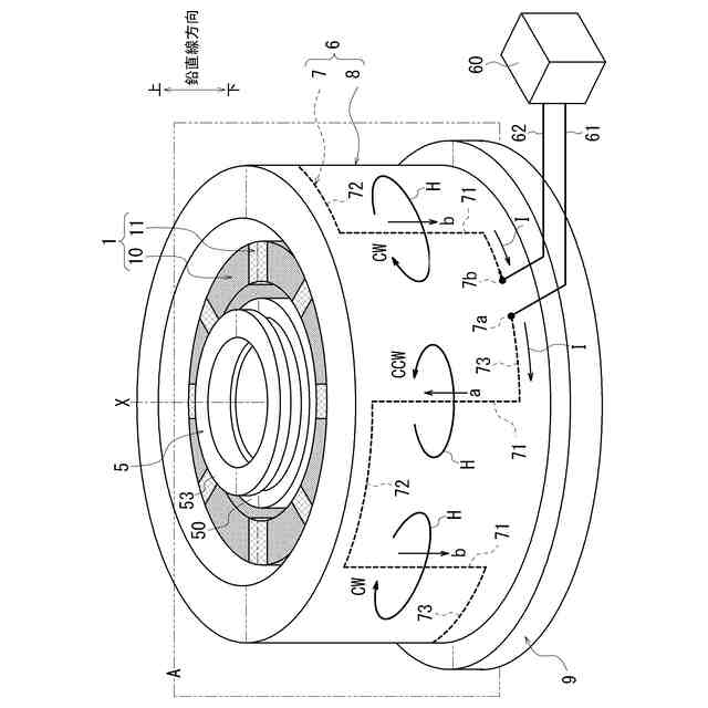
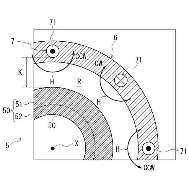
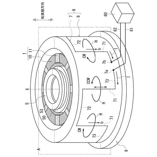
前記電機子は、回転軸方向から見てリング状を成しており、
前記誘導コイルは、前記電機子の外周側又は内周側の少なくとも一方で、前記回転軸方向に沿う向きに設けられていると共に、前記回転軸周りの周方向に間隔を空けて複数設けられており、
前記治具は、前記回転軸を囲む筒状を成しており、
前記回転軸方向から見て、前記磁化領域と前記非磁化領域は、前記回転軸周りの周方向に交互に設けられており、
前記回転軸方向から見て、前記非磁化領域は、前記誘導コイルと前記回転軸とを結ぶ前記直線上に設けられている、治具。
【請求項3】
請求項1において、
前記被加熱体は、電機子であり、
前記電機子は、回転軸方向から見てリング状を成しており、
前記誘導コイルは、前記電機子の外周側又は内周側の少なくとも一方で、前記回転軸方向の一方側から他方側に向かうにつれて、前記回転軸周りの周方向で位相をずらした螺旋状に設けられており、
前記治具は、前記回転軸を囲む筒状を成しており、
前記回転軸の径方向から見て、前記磁化領域と前記非磁化領域は、前記回転軸方向に交互に設けられており、
前記径方向から見て、前記非磁化領域は、前記誘導コイルとオーバーラップする螺旋状に設けられている、治具。
【請求項4】
請求項1から請求項3の何れか一において、
前記磁化領域は、磁性体材料で構成され、
前記非磁化領域は、非磁性体材料で構成されている、治具。
【請求項5】
請求項1から請求項3の何れか一において、
前記磁化領域は、磁性体材料で構成され、
前記非磁化領域は、空気層で構成されている、治具。
【請求項6】
請求項1に記載の前記治具を用いた前記被加熱体の加熱方法であって、
前記治具を、前記誘導コイルと前記被加熱体との間に配置する配置工程と、
前記非磁化領域を、前記直線上に配置する位置決め工程と、
前記誘導コイルへの通電により磁界を発生させて、前記磁界を、前記非磁化領域を越えて前記被加熱体側に及ばせて、前記被加熱体を加熱する加熱工程と、を有する、被加熱体の加熱方法。
発明の詳細な説明
【技術分野】
【0001】
本発明は、治具に関する。
続きを表示(約 2,000 文字)
【背景技術】
【0002】
特許文献1及び特許文献2では、電機子に塗布された塗料(例えば、ワニス)を固着させるために、誘導加熱により電機子を加熱することが開示されている。
【先行技術文献】
【特許文献】
【0003】
特開2018-74749号公報
特開2008-118731号公報
【発明の概要】
【発明が解決しようとする課題】
【0004】
誘導加熱による電機子の加熱は、誘導コイルから発生する磁界内に電機子を配置することで行われる。電機子を磁界内に配置するために、誘導コイルは、電機子のサイズ(例えば外径、内径)に対応させて、複数の種類を使い分けられることがある。
しかしながら、複数の誘導コイルをストックすること、都度段取り替えをすることは、手間とコストがかかる。
そこで、誘導加熱による電機子の加熱を、より簡便に行うことが求められている。
【課題を解決するための手段】
【0005】
本発明のある態様は、
誘導コイルへの通電により被加熱体を誘導加熱する際に用いられる治具であって、
前記治具は、前記誘導コイルの通電方向から見て、前記誘導コイルと前記被加熱体との間に配置されており、
前記治具は、非磁化領域と、前記誘導コイルへの通電により発生した磁界によって磁化可能な磁化領域と、を有し、
前記通電方向から見て、前記非磁化領域は、前記誘導コイルと前記被加熱体を通る直線上に配置されており、前記磁化領域は、前記磁界に沿う方向において、前記非磁化領域の一方側と他方側に設けられている。
【発明の効果】
【0006】
本発明のある態様によれば、誘導加熱による電機子の加熱を、より簡便に行うことができる。
【図面の簡単な説明】
【0007】
図1は、治具を説明する図である。
図2は、治具を説明する図である。
図3は、治具を説明する図である。
図4は、治具を説明する図である。
図5は、比較例を説明する図である。
図6は、変形例1に係る治具を説明する図である。
図7は、変形例2に係る治具を説明する図である。
図8は、変形例2に係る治具を説明する図である。
図9は、変形例3に係る治具を説明する図である。
図10は、変形例3に係る治具を説明する図である。
図11は、変形例4に係る治具を説明する図である。
【発明を実施するための形態】
【0008】
始めに、本明細書における用語の定義を説明する。
「所定方向視においてオーバーラップする」とは、所定方向に複数の要素が並んでいることを意味し、「所定方向にオーバーラップする」と記載する場合と同義である。「所定方向」は、たとえば、軸方向、径方向、重力方向等である。
図面上において複数の要素(部品、部分等)が所定方向に並んでいることが図示されている場合は、明細書の説明において、所定方向視においてオーバーラップしていることを説明した文章があるとみなして良い。
【0009】
「所定方向視においてオーバーラップしていない」、「所定方向視においてオフセットしている」とは、所定方向に複数の要素が並んでいないことを意味し、「所定方向にオーバーラップしていない」、「所定方向にオフセットしている」と記載する場合と同義である。「所定方向」は、たとえば、軸方向、径方向、重力方向等である。
図面上において複数の要素(部品、部分等)が所定方向に並んでいないことが図示されている場合は、明細書の説明において、所定方向視においてオーバーラップしていないことを説明した文章があるとみなして良い。
【0010】
「所定方向視において、第1要素(部品、部分等)は第2要素(部品、部分等)と第3要素(部品、部分等)との間に位置する」とは、所定方向から観察した場合において、第1要素が第2要素と第3要素との間にあることが観察できることを意味する。「所定方向」とは、軸方向、径方向、重力方向等である。
例えば、第2要素と第1要素と第3要素とが、この順で軸方向に沿って並んでいる場合は、径方向視において、第1要素は第2要素と第3要素との間に位置しているといえる。図面上において、所定方向視において第1要素が第2要素と第3要素との間にあることが図示されている場合は、明細書の説明において所定方向視において第1要素が第2要素と第3要素との間にあることを説明した文章があるとみなして良い。
(【0011】以降は省略されています)
この特許をJ-PlatPat(特許庁公式サイト)で参照する
関連特許
株式会社コロナ
電気機器
3か月前
個人
電子部品の実装方法
9日前
日本精機株式会社
回路基板
4か月前
日本精機株式会社
回路基板
1か月前
株式会社遠藤照明
照明装置
3か月前
愛知電機株式会社
装柱金具
1日前
個人
非衝突型ガウス加速器
1か月前
キヤノン株式会社
電子機器
3か月前
アイホン株式会社
電気機器
23日前
アイホン株式会社
電気機器
1か月前
イビデン株式会社
配線基板
2日前
日本放送協会
基板固定装置
29日前
個人
節電材料
2か月前
キヤノン株式会社
電子機器
23日前
メクテック株式会社
配線基板
3か月前
メクテック株式会社
配線基板
1か月前
マクセル株式会社
配列用マスク
2か月前
東レ株式会社
霧化状活性液体供給装置
1か月前
イビデン株式会社
プリント配線板
2か月前
イビデン株式会社
プリント配線板
3か月前
イビデン株式会社
配線基板
1か月前
株式会社デンソー
電子装置
2日前
トキコーポレーション株式会社
照明器具
3か月前
イビデン株式会社
プリント配線板
3か月前
株式会社レクザム
剥離装置
1日前
FDK株式会社
基板
8日前
イビデン株式会社
配線基板
1か月前
イビデン株式会社
プリント配線板
29日前
サクサ株式会社
筐体の壁掛け構造
1か月前
オムロン株式会社
端子折り曲げ治具
11日前
富士フイルム株式会社
積層体
2日前
日産自動車株式会社
電子部品
21日前
株式会社電気印刷研究所
金属画像形成方法
3か月前
株式会社電気印刷研究所
金属画像形成方法
3か月前
新電元工業株式会社
電子装置
23日前
新電元工業株式会社
充電装置
3か月前
続きを見る
他の特許を見る