TOP
|
特許
|
意匠
|
商標
特許ウォッチ
Twitter
他の特許を見る
10個以上の画像は省略されています。
公開番号
2025122621
公報種別
公開特許公報(A)
公開日
2025-08-21
出願番号
2024209052
出願日
2024-11-29
発明の名称
長尺物用の清掃用具
出願人
株式会社シロハチ
代理人
個人
主分類
B08B
1/12 20240101AFI20250814BHJP(清掃)
要約
【課題】長尺物の清掃作業を容易かつ効率良く行うことができ、有機溶剤を使用する清掃作業における安全性が高められた清掃用具を提供する。
【解決手段】清掃用具CL1は、一端が開口された一方向に長い空洞部を含む本体1と、空洞部の内部に配備される一対の清掃部材2A,2Bとを備える。各清掃部材2A,2Bは弾性変形性を有するブラシ毛による帯状の清掃面を備え、各々の清掃面の長さ方向を空洞部の長さ方向に沿わせてそれらの清掃面を互いに接触させると共に、各々の清掃面の裏側にある面を空洞部の内面に接触させた状態となって、空洞部の内部に支持される。
【選択図】図1
特許請求の範囲
【請求項1】
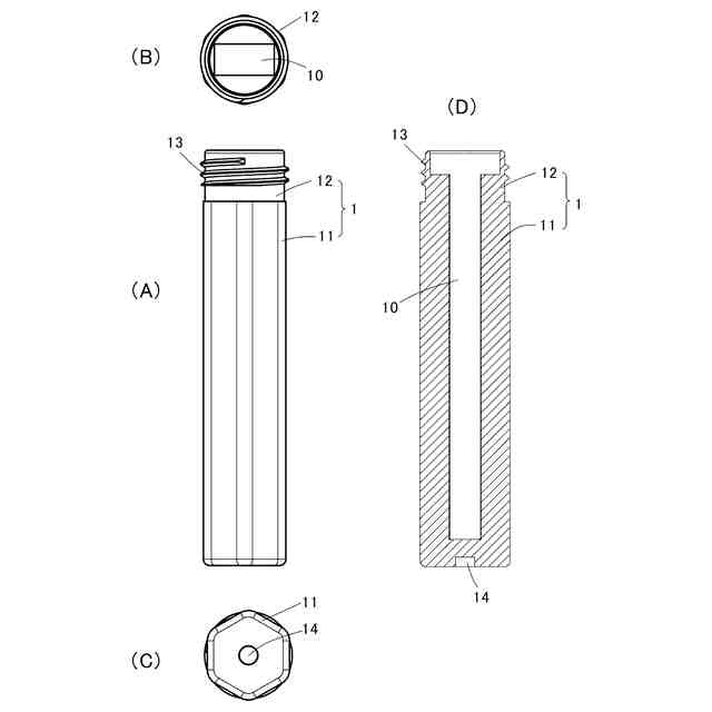
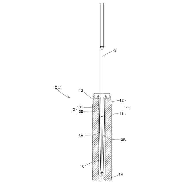
一端が開口された一方向に長い空洞部を含む本体と、前記空洞部の内部に配備される一対の清掃部材とを備え、
前記一対の清掃部材の各々は、帯状の清掃面を備えると共に、当該清掃面からその裏側に向かう方向における所定位置までの範囲が弾性変形性を有しており、
各清掃部材は、各々の清掃面の長さ方向を空洞部の長さ方向に沿わせてそれらの清掃面を互いに接触または対向させると共に、各々の前記清掃面の裏側にある面または当該面と前記清掃面との間にある面を前記空洞部の内面に接触させた状態となって、前記空洞部の内部に支持される、
長尺物用の清掃用具。
続きを表示(約 710 文字)
【請求項2】
前記一対の清掃部材は、前記空洞部の内部において、互いに相手を押圧すると共に各々の清掃面の裏側にある面が前記空洞部の内面に押し付けられた状態となる、
請求項1に記載された長尺物用の清掃用具。
【請求項3】
一端が開口された一方向に長い空洞部を含む本体と、前記空洞部の内部に配備される清掃部材とを備え、
前記清掃部材は、長さ方向の中央部から一端までの範囲と当該中央部から他端までの範囲とが向き合うように当該中央部で曲げることが可能な帯状体であって、曲げられて向き合う状態になった2つの部分の内側の面内にそれぞれ帯状の清掃面が含まれると共に、当該清掃面からその裏側に向かう方向における所定位置までの範囲が弾性変形性を有しており、
前記清掃部材は、前記中央部を前記空洞部の開口されていない側の端部に向けた状態で当該中央部で曲げられると共に、前記2つの部分の各々の前記清掃面の裏側にある面または当該面と前記清掃面との間にある面を前記空洞部の内面に接触させた状態となって、前記空洞部の内部に支持される、
長尺物用の清掃用具。
【請求項4】
前記清掃部材の曲げられたときに向き合う関係になる2つの部分は、前記空洞部の内部において、互いに相手を押圧すると共に各々の清掃面の裏側にある面が前記空洞部の内面に押し付けられた状態となる、
請求項3に記載された長尺物用の清掃用具。
【請求項5】
前記清掃部材の清掃面は、帯状の領域内に配列された多数のブラシ毛の先端部によって形成される、請求項1または3に記載された長尺物用の清掃用具。
発明の詳細な説明
【技術分野】
【0001】
本発明は、棒ヤスリなどの長尺物を清掃するための道具(以下「清掃用具」と言う。)に関する。
続きを表示(約 1,500 文字)
【背景技術】
【0002】
研削や研磨の作業に用いられる棒ヤスリ(以下では単に「ヤスリ」という場合がある。)の目に詰まった微細物質を取り除くための清掃用具として、金属製のブラシ毛が植えられたブラシが知られている。(非特許文献1を参照。)。
【0003】
棒ヤスリを対象とするものではないが、特許文献1に、目詰まりを除去する目的の清掃用具を含む装置が開示されている。この装置は、ガラス基板を研磨する研磨布を清掃の対象とするもので、自転軸を有するディスクに植毛が施されてなるブラシを、研磨布が貼着された研磨盤の上方に上下動自在に取り付け、研磨盤が回転している状態下でブラシを下降させて、ブラシ自体の自重で植毛部の先端を研磨布に摺接させる方法により目詰まり除去を行うものである。
【先行技術文献】
【非特許文献】
【0004】
「銀の手仕事/金属ヤスリが目詰まりして使えなくなったときのヤスリ復活方法3つ+α」,https://hand-by.com/file-maintenance/
【特許文献】
【0005】
特開2004-268149号公報
【発明の概要】
【発明が解決しようとする課題】
【0006】
非特許文献1に記載されているように、棒ヤスリの細かい目の間に詰まった微細物質を手作業で取り除くのは容易ではなく、キサゲなどの先端が尖った道具を用いて、一目ずつ、こそげ落とす作業を行わなければならない場合もある。
かくのごとく、棒ヤスリの清掃作業には多大な労力や時間がかかる。
【0007】
また、模型工作の仕上げ作業などにおいて、有機塗料やパテなどの有機物質がヤスリの目に詰まった場合は、機械的な刺激のみでこれらを取り除くことは困難で、シンナーなどの有機溶剤を含ませたブラシや綿棒などで擦る必要がある。しかし、この種の溶剤は人体に害を及ぼす成分を含むため、有機溶剤を用いて長時間の手作業による清掃を行うことは好ましくない。
【0008】
上記の問題に着目し、以下の第1発明および第2発明は、棒ヤスリなどの長尺物の清掃作業を容易かつ効率良く行うことを可能にすることを、第1の課題とする。
さらに、第1発明および第2発明は、有機溶剤を使用する清掃作業における安全性が高められた清掃用具を提供することを第2の課題とする。
【課題を解決するための手段】
【0009】
第1発明に係る清掃用具は、一端が開口された一方向に長い空洞部を含む本体と、空洞部の内部に配備される一対の清掃部材とを備える。一対の清掃部材の各々は、帯状の清掃面を備えると共に、当該清掃面からその裏側に向かう方向における所定位置までの範囲が弾性変形性を有する。各清掃部材は、各々の清掃面の長さ方向を空洞部の長さ方向に沿わせてそれらの清掃面を互いに接触または対向させると共に、各々の清掃面の裏側にある面または当該面と前記清掃面との間にある面を空洞部の内面に接触させた状態となって、空洞部の内部に支持される。
【0010】
なお、清掃部材の弾性変形性を有する範囲は、清掃面からその裏側の面までの範囲の全体であってもよい。また、清掃面の裏側の面または当該面と前記清掃面との間にある面の空洞部の内面への接触は、各々の面の一部分の接触であってもよい。清掃部材を、弾性変形性を有する部分を変形しない支持部材により支持された形態にする場合は、支持部材ののみを空洞部の内面に接触させることによって、清掃部材が支持されるようにしてもよい。
(【0011】以降は省略されています)
この特許をJ-PlatPat(特許庁公式サイト)で参照する
関連特許
個人
ブラシ付きノズル
1か月前
個人
物体表面洗浄装置
15日前
ノリタケ株式会社
洗浄装置
1日前
三浦工業株式会社
洗浄システム
1か月前
株式会社シロハチ
長尺物用の清掃用具
1か月前
株式会社未来造形
チェーン洗浄具
8日前
有限会社アサヒライフ企画
2WAY水切りワイパー
4か月前
三浦工業株式会社
洗浄装置
2か月前
大裕株式会社
敷鉄板表面の溶接残留物除去装置
1か月前
トヨタ自動車株式会社
配管洗浄装置
2か月前
栗田工業株式会社
管内面の洗浄用プラグ及び洗浄方法
3日前
株式会社ブリヂストン
配管清掃方法
3か月前
ノリタケ株式会社
スラリーアイス洗浄装置用の管状部品
1日前
株式会社PFA
異物除去装置、異物除去方法およびプログラム
3か月前
工機ホールディングス株式会社
作業機
2か月前
株式会社松井製作所
液体供給装置及び液体供給方法
3か月前
バンドー化学株式会社
クリーニング装置
4か月前
株式会社奥村組
洗浄器具および洗浄方法
8日前
イフコ・ジャパン 株式会社
物流容器の洗浄装置及び洗浄方法
3日前
日鉄テックスエンジ株式会社
ツール清掃装置
2日前
日本電気株式会社
ファン、制御方法、通知方法およびプログラム
12日前
日本ゼオン株式会社
光学フィルムの製造方法
1か月前
リンテック株式会社
清掃装置および清掃方法
2日前
株式会社ブルー・スターR&D
超音波照射装置
3か月前
個人
排水管洗浄システムの高圧ホース供給機
3か月前
ノリタケ株式会社
スラリーアイス洗浄装置およびスラリーアイス洗浄方法
1日前
国立大学法人九州工業大学
砂状粒子除去装置及び砂状粒子除去方法
3か月前
ノリタケ株式会社
スラリーアイス洗浄装置およびスラリーアイス洗浄方法
1日前
ノリタケ株式会社
スラリーアイス洗浄装置およびスラリーアイス洗浄方法
1日前
株式会社石野製作所
清掃方法、清掃用スポンジ及び清掃装置
2か月前
富士フイルムビジネスイノベーション株式会社
清掃装置
3か月前
三菱重工業株式会社
配管内部の付着物除去装置および方法
2か月前
株式会社ブリヂストン
洗浄ノズル補助部材及び洗浄ノズル
3か月前
三菱重工機械システム株式会社
残渣回収装置およびケース製造装置
3か月前
株式会社LIXIL
水垢の処理方法、着色剤、及び着色済み基材
2か月前
パナソニックIPマネジメント株式会社
洗浄機
3か月前
続きを見る
他の特許を見る