TOP
|
特許
|
意匠
|
商標
特許ウォッチ
Twitter
他の特許を見る
10個以上の画像は省略されています。
公開番号
2025152096
公報種別
公開特許公報(A)
公開日
2025-10-09
出願番号
2024053833
出願日
2024-03-28
発明の名称
ツール清掃装置
出願人
日鉄テックスエンジ株式会社
代理人
弁理士法人朝日奈特許事務所
主分類
B08B
1/14 20240101AFI20251002BHJP(清掃)
要約
【課題】切断用ツールの表面に付着した異物を除去するツール清掃装置において、異物の除去性能を維持するためのメンテナンス性を向上させることが可能なツール清掃装置を提供する。
【解決手段】略円形の切断用ツールTLを清掃するツール清掃装置1であって、切断用ツールTLを保持する保持部2と、保持部2に保持された切断用ツールTLを清掃する清掃機構3とを備え、清掃機構3は、切断用ツールTLの表面に付着した異物を払拭する帯状シート31を送り出す送り出し部32と、送り出した帯状シート31を回収する回収部33とを有する。
【選択図】図4
特許請求の範囲
【請求項1】
略円形の切断用ツールを清掃するツール清掃装置であって、
前記切断用ツールを保持する保持部と、
前記保持部に保持された前記切断用ツールを清掃する清掃機構とを備え、
前記清掃機構は、前記切断用ツールの表面に付着した異物を払拭する帯状シートを送り出す送り出し部と、送り出した前記帯状シートを回収する回収部とを有する、ツール清掃装置。
続きを表示(約 980 文字)
【請求項2】
前記ツール清掃装置は、
前記切断用ツールを周方向に沿って回転させることにより、前記切断用ツールの表面に付着した異物を前記帯状シートに払拭させる回転機構をさらに備えている、請求項1に記載のツール清掃装置。
【請求項3】
前記ツール清掃装置は、
前記切断用ツールの表面に沿って前記帯状シートが配置されるように前記帯状シートを案内する案内部をさらに備え、
前記案内部は、前記帯状シートを前記切断用ツールの周面に接触させる第1の部分と、前記帯状シートを前記切断用ツールの径方向と直交する軸方向における端面に接触させる第2の部分とを備えている、請求項1に記載のツール清掃装置。
【請求項4】
前記清掃機構は、
前記切断用ツールの表面に付着した異物を除去するブラッシング部をさらに備え、
前記回転機構は、前記ブラッシング部が前記切断用ツールの表面に接触した状態で前記切断用ツールを回転させることにより、前記切断用ツールの表面に付着した異物を前記ブラッシング部に除去させるように構成され、
前記ブラッシング部は、前記帯状シートが前記切断用ツールに付着した異物を払拭する前に、前記切断用ツールの表面に接触して異物を除去するように構成されている、請求項2に記載のツール清掃装置。
【請求項5】
前記ツール清掃装置は、前記切断用ツールを把持可能なハンドリングロボットの作業エリア内に設けられ、
前記清掃機構は、前記保持部に保持された前記切断用ツールに接触する清掃位置と、前記ハンドリングロボットが前記切断用ツールを移動させる際の前記切断用ツールの経路外となる退避位置との間で移動するように構成されている、請求項1に記載のツール清掃装置。
【請求項6】
前記ハンドリングロボットは、切断装置の、切断用ツールが装着される軸部と、前記軸部から取り外された前記切断用ツールを保管する保管部との間で、前記切断用ツールを移動させるように構成されたツール交換装置であり、
前記ハンドリングロボットは、前記軸部と、前記保管部と、前記ツール清掃装置の保持部との間で、前記切断用ツールを移動可能に構成される、請求項5に記載のツール清掃装置。
発明の詳細な説明
【技術分野】
【0001】
本発明は、ツール清掃装置に関する。
続きを表示(約 2,700 文字)
【背景技術】
【0002】
従来、金属板等の切断対象物を切断する切断装置において用いられる略円形状の切断用ツール(たとえば、略円形状の刃物、略円形状のスペーサ)には、切断工程において切粉等の異物が付着する。異物が付着したまま切断工程を継続すると、切断の精度が低下する可能性がある。特許文献1には、切断用ツールに付着した金属屑粉等の異物を除去する除塵装置が開示されている。特許文献1に記載の除塵装置は、走行金属板を切断する切断装置の切断用ツールの周面および側面に接して異物を払拭する除塵具を備えている。
【先行技術文献】
【特許文献】
【0003】
実開昭58-157519号公報
【発明の概要】
【発明が解決しようとする課題】
【0004】
しかしながら、特許文献1に記載の除塵具は、フェルト、皮、綿布等により構成されており、定期的に交換する必要がある。また、除塵具を交換する際、切断装置の稼働を止める必要がある。このため、特許文献1に記載の除塵装置は、除塵具のメンテナンス性が低く、切断装置の切断工程における生産性の低下を招きやすいという課題がある。
【0005】
本発明は、上記問題に鑑みて、切断用ツールの表面に付着した異物を除去するツール清掃装置において、異物の除去性能を維持するためのメンテナンス性を向上させることが可能なツール清掃装置を提供することを目的とする。
【課題を解決するための手段】
【0006】
本発明のツール清掃装置は、略円形の切断用ツールを清掃するツール清掃装置であって、前記切断用ツールを保持する保持部と、前記保持部に保持された前記切断用ツールを清掃する清掃機構とを備え、前記清掃機構は、前記切断用ツールの表面に付着した異物を払拭する帯状シートを送り出す送り出し部と、送り出した前記帯状シートを回収する回収部とを有する。
【発明の効果】
【0007】
本発明によれば、切断用ツールの表面に付着した異物を除去するツール清掃装置において、異物の除去性能を維持するためのメンテナンス性を向上させることが可能なツール清掃装置を提供することができる。
【図面の簡単な説明】
【0008】
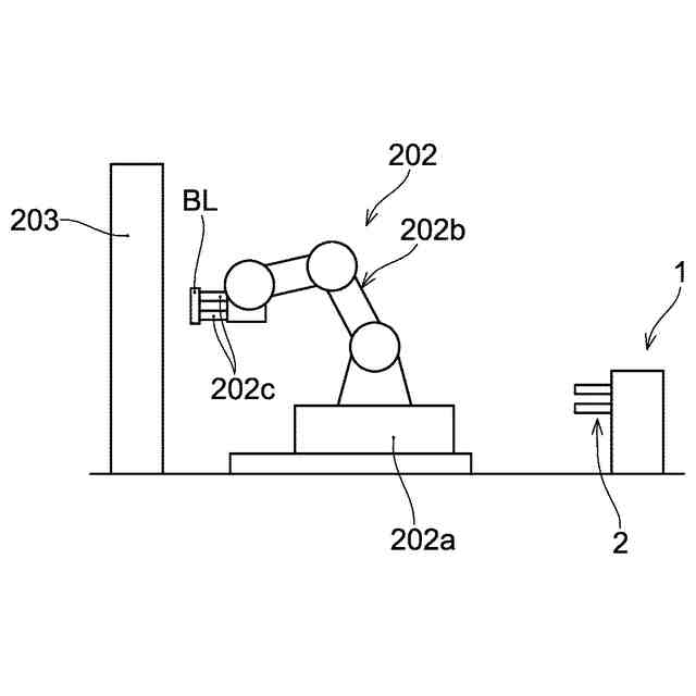
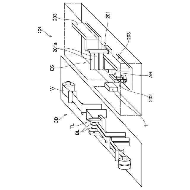
本発明の一実施形態に係るツール清掃装置が用いられる切断システムの構成を模式的に示す斜視図である。
図1に示される切断システムのツール清掃装置において、保持部によって切断用ツールが保持され、清掃機構が切断用ツールから退避している状態を示す斜視図である。
図1に示される切断システムのツール清掃装置において、保持部によって切断用ツールが保持され、清掃機構のブラッシング部が切断用ツールの表面に接触している状態を示す斜視図である。
図1に示される切断システムのツール清掃装置において、保持部によって切断用ツールが保持され、清掃機構の払拭部が切断用ツールの表面に接触している状態を示す斜視図である。
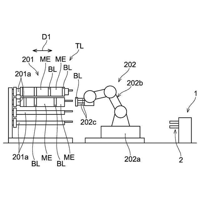
図1に示される切断システムにおいて、ハンドリングロボットによって仮組軸装置から切断用ツールを取り外した状態を模式的に示す図である。
図5Aに示された状態から変化して、ハンドリングロボットによって切断用ツールをツール清掃装置に取り付けた状態を模式的に示す図である。
ハンドリングロボットの一例を示す図であり、ハンドリングロボットが切断用ツールを把持している状態を示す図である。
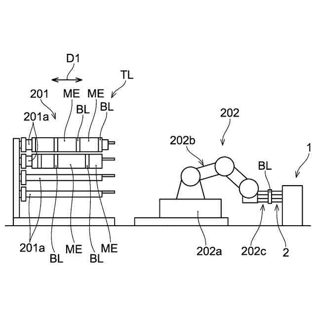
図1に示される切断システムにおいて、ハンドリングロボットによって保管部から切断用ツールを取り出した状態を模式的に示す図である。
図7Aに示された状態から変化して、ハンドリングロボットによって切断用ツールをツール清掃装置に取り付けた状態を模式的に示す図である。
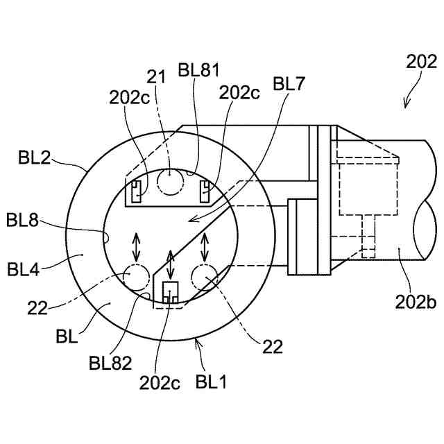
図1に示されるツール清掃装置の清掃機構が切断用ツールの表面に接触している状態を模式的に示す斜視図である。
図1に示されるツール清掃装置の清掃機構におけるブラッシング部が切断用ツールの表面に接触している状態を模式的に示す斜視図である。
図1に示される清掃機構の払拭部(第1の払拭部)が切断用ツールの表面から離間している状態を模式的に示す斜視図である。
図1に示される清掃機構の払拭部(第1の払拭部)が切断用ツールの表面に接触している状態を模式的に示す斜視図である。
図1に示される清掃機構の払拭部(第2の払拭部)が切断用ツールの表面から離間している状態を模式的に示す斜視図である。
図1に示される清掃機構の払拭部(第2の払拭部)が切断用ツールの表面に接触している状態を模式的に示す斜視図である。
清掃機構の変形例を模式的に示す斜視図である。
【発明を実施するための形態】
【0009】
以下、図面を参照し、本発明の一実施形態のツール清掃装置を説明する。なお、以下に示す実施形態はあくまで一例であり、本発明のツール清掃装置は、以下の実施形態に限定されるものではない。
【0010】
本実施形態に係るツール清掃装置1(図1~図4参照)は、略円形の切断用ツールTL(図2~図4参照)を清掃する装置である。切断用ツールTLは、金属板等の切断対象物Wを切断する部材である。切断用ツールTLは、切断工程において切断対象物Wを切断した際に、切粉等の異物が付着する場合がある。また、切断用ツールTLの表面に潤滑油等の潤滑剤が塗布される場合には、潤滑剤に切粉が混じった状態となり得る。また、切断用ツールTLの表面には、錆が発生する場合もある。本実施形態に係るツール清掃装置1(図1~図4参照)は、後述するように、切断用ツールTLの表面に存在する異物(たとえば、切粉、錆等)を除去可能に構成されている。切断用ツールTLは、本実施形態では、金属板等の切断対象物Wを切断する刃物BLであり、切断用ツールが刃物BLである場合を例に挙げて説明する。しかし、切断用ツールTLは、刃物BLに限定されず、切断装置において複数の刃物BLの間隔を保持するスペーサ等の中間部材ME(図5A等参照)を含んでいてもよい。切断用ツールTLは、軸方向D1に貫通する貫通孔を有する円筒状に形成されている。また、後述するように、切断用ツールTLは、貫通孔に面する内周面が、後述するハンドリングロボット202により把持され、ツール清掃装置1の後述する保持部2によって保持され得る。
(【0011】以降は省略されています)
この特許をJ-PlatPat(特許庁公式サイト)で参照する
関連特許
個人
ブラシ付きノズル
2か月前
個人
物体表面洗浄装置
28日前
ノリタケ株式会社
洗浄装置
14日前
株式会社シロハチ
長尺物用の清掃用具
2か月前
三浦工業株式会社
洗浄システム
1か月前
株式会社未来造形
チェーン洗浄具
21日前
GOLDEN通商株式会社
ごみバンカの清掃方法
今日
大裕株式会社
敷鉄板表面の溶接残留物除去装置
1か月前
株式会社三幸社
衣服立体乾燥機の吊り下げ型掃除用具
1日前
三浦工業株式会社
洗浄装置
2か月前
国立大学法人東海国立大学機構
微小重力環境用洗浄装置
今日
トヨタ自動車株式会社
配管洗浄装置
3か月前
栗田工業株式会社
管内面の洗浄用プラグ及び洗浄方法
16日前
ノリタケ株式会社
スラリーアイス洗浄装置用の管状部品
14日前
工機ホールディングス株式会社
作業機
2か月前
株式会社松井製作所
液体供給装置及び液体供給方法
3か月前
株式会社エスエスティー
異形物体の洗浄方法
今日
株式会社奥村組
洗浄器具および洗浄方法
21日前
三浦工業株式会社
コンピュータプログラム
3日前
イフコ・ジャパン 株式会社
物流容器の洗浄装置及び洗浄方法
16日前
日鉄テックスエンジ株式会社
ツール清掃装置
15日前
日本電気株式会社
ファン、制御方法、通知方法およびプログラム
25日前
日本ゼオン株式会社
光学フィルムの製造方法
1か月前
リンテック株式会社
清掃装置および清掃方法
15日前
個人
排水管洗浄システムの高圧ホース供給機
4か月前
ノリタケ株式会社
スラリーアイス洗浄装置およびスラリーアイス洗浄方法
14日前
ノリタケ株式会社
スラリーアイス洗浄装置およびスラリーアイス洗浄方法
14日前
ノリタケ株式会社
スラリーアイス洗浄装置およびスラリーアイス洗浄方法
14日前
富士フイルムビジネスイノベーション株式会社
清掃装置
3か月前
株式会社石野製作所
清掃方法、清掃用スポンジ及び清掃装置
2か月前
三菱重工業株式会社
配管内部の付着物除去装置および方法
2か月前
株式会社ブリヂストン
洗浄ノズル補助部材及び洗浄ノズル
4か月前
三菱重工機械システム株式会社
残渣回収装置およびケース製造装置
4か月前
株式会社LIXIL
水垢の処理方法、着色剤、及び着色済み基材
2か月前
パナソニックIPマネジメント株式会社
洗浄機
3か月前
フェッテ コンパクティング ゲーエムベーハー
錠剤またはカプセルの除塵装置および方法
3か月前
続きを見る
他の特許を見る